欢迎来到知嘟嘟! 联系电话:13336804447 卖家免费入驻,海量在线求购! 卖家免费入驻,海量在线求购!
知嘟嘟
我要发布
联系电话:13336804447
知嘟嘟经纪人
收藏
专利号: 2018102279830
申请人: 常州大学
专利类型:发明专利
专利状态:已下证
专利领域: 测量;测试
更新日期:2023-12-11
缴费截止日期: 暂无
价格&联系人
年费信息
委托购买

摘要:

权利要求书:

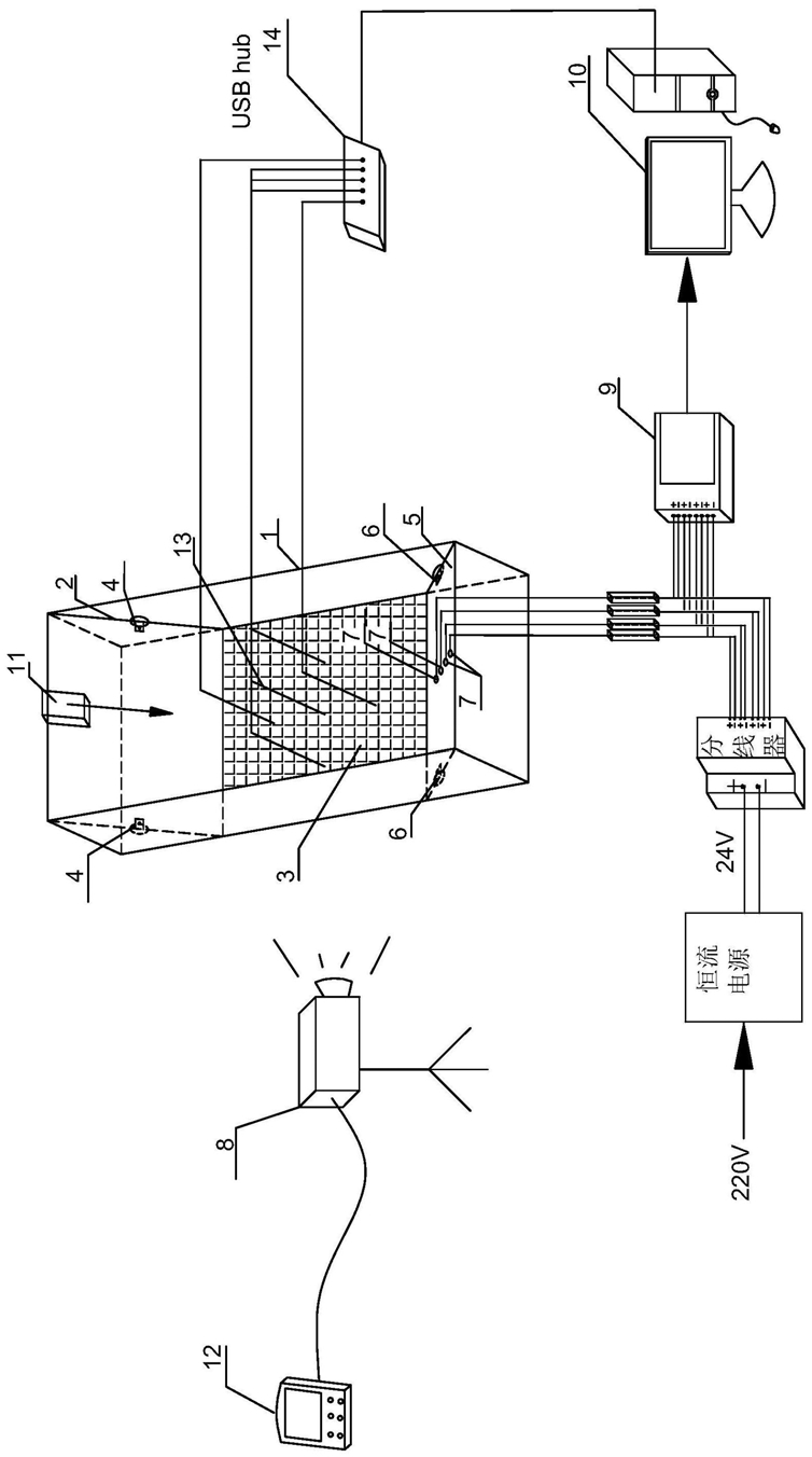
1.一种可调节角度的滑坡涌浪高度与动压的监测装置,其特征在于:包括实验水箱(1)、主平板(2)、海绵缓冲垫层(3)、承浪平板(5)、压力传感器(7)和高速摄影仪(8),所述实验水箱(1)呈上方开口的长方体箱体状,设定实验水箱(1)长度方向的两端面为前端面和后端面,则剩余两个侧面为左侧面和右侧面,左侧面和右侧面上均对称设置有主平板固定装置和承浪平板固定装置,承浪平板(5)和主平板(2)分别设置在实验水箱(1)内的前后两端,主平板(2)的左右两侧通过主平板固定装置倾斜固定在实验水箱(1)左右两侧面上,且主平板(2)的前端低于后端,主平板(2)的前端和实验水箱(1)的宽度方向相平行,主平板(2)的前端和实验水箱(1)的底部相接触,主平板(2)和实验水箱(1)内底部的夹角为θ1,0°<θ1<90°,承浪平板(5)的左右两侧通过承浪平板固定装置倾斜固定在实验水箱(1)左右两侧面上,且承浪平板(5)的后端低于前端,承浪平板(5)的后端和实验水箱(1)的宽度方向相平行,承浪平板(5)的后端和实验水箱(1)的底部相接触,承浪平板(5)和实验水箱(1)内底部的夹角为θ2,0°<θ2<90°,海绵缓冲垫层(3)铺设在实验水箱(1)内的底部,海绵缓冲垫层(3)位于主平板(2)和承浪平板(5)之间,压力传感器(7)设置在承浪平板(5)上,压力传感器(7)电连接有数据采集器(9),数据采集器(9)信号连接有PC终端(10),高速摄影仪(8)和PC终端(10)信号连接,所述主平板固定装置包括一对以上的主平板固定块(4),每对主平板固定块(4)左右对称设置分别与左侧面和右侧面固定连接,主平板固定块(4)的表面倾斜设置,主平板固定块(4)的表面和实验水箱(1)内底部的夹角为θ1,且主平板固定块(4)的表面的法线方向开设有螺纹孔,主平板(2)的左右两侧对称开设有安装孔,通过螺钉穿过主平板(2)的左右两侧的安装孔以及螺纹孔,将主平板(2)固定安装在主平板固定块(4)上。

2.如权利要求1所述的可调节角度的滑坡涌浪高度与动压的监测装置,其特征在于:所述承浪平板固定装置包括一对以上的承浪平板固定块(6),每对承浪平板固定块(6)左右对称设置分别与左侧面和右侧面固定连接,承浪平板固定块(6)的表面倾斜设置,承浪平板固定块(6)的表面和实验水箱(1)内底部的夹角为θ2,且承浪平板固定块(6)的表面的法线方向开设有螺纹孔,承浪平板(5)的左右两侧对称开设有安装孔,通过螺钉穿过承浪平板(5)的左右两侧的安装孔以及螺纹孔,将承浪平板(5)固定安装在承浪平板固定块(6)上。

3.如权利要求1所述的可调节角度的滑坡涌浪高度与动压的监测装置,其特征在于:所述实验水箱(1)中还设置有若干竖直的波高仪(13),波高仪(13)安装在海绵缓冲垫层(3)上,且波高仪(13)底部和实验水箱(1)内的底部固定连接,波高仪(13)的顶部通过Usb-hub(14)和PC终端(10)信号连接。

4.如权利要求1所述的可调节角度的滑坡涌浪高度与动压的监测装置,其特征在于:所述实验水箱(1)由透明有机玻璃板通过亚克力胶、销钉进行连接的长方体敞口容器,其长宽高分别为2.40m、1.20m、0.60m;主平板(2)和承浪平板(5)的宽度均为长为0.6m,主平板(2)的长为L1=0.60/sinθ1,承浪平板(5)的长为L2=0.60/sinθ2,海绵缓冲垫层(3)的长宽均为

1.20m,厚度为0.03m。

5.如权利要求4所述的可调节角度的滑坡涌浪高度与动压的监测装置,其特征在于:所述压力传感器(7)在承浪平板(5)上的信号接收点分布为:承浪平板(5)上从上往下每隔L2/

6布置在承浪平板(5)的中心轴上。

6.一种可调节角度的滑坡涌浪高度与动压的监测方法:其特征在于:采用如权利要求

1-5中任一项所述的可调节角度的滑坡涌浪高度与动压的监测装置进行实验,具有如下步骤:

1)完成可调节角度的滑坡涌浪高度与动压的监测装置的安装;

2)检测实验水箱(1)的气密性,防止漏气漏水;

3)在实验水箱(1)中盛2/3的水;

4)开启高速摄影仪(8)、压力传感器(7)和波高仪(13);

5)刚体滑块(11)从主平板(2)上方下落,滑入水中激起涌浪,涌浪以一定速度冲击承浪平板(5);

6)开启高速摄影仪(8)完成视频数据采集,压力传感器(7)完成承浪平板(5)上的压力数据采集,压力数据经数据采集器(9)传送至PC终端(10)记录分析;7)改变承浪平板(5)和主平板(2)与实验水箱(1)底部的夹角,重复1)—6)步骤,获得其他实验数据。