欢迎来到知嘟嘟! 联系电话:13336804447 卖家免费入驻,海量在线求购! 卖家免费入驻,海量在线求购!
知嘟嘟
我要发布
联系电话:13336804447
知嘟嘟经纪人
收藏
专利号: 2019107262116
申请人: 烟台华腾技术有限公司
专利类型:发明专利
专利状态:已下证
专利领域: 卷扬;提升;牵引
更新日期:2025-12-10
缴费截止日期: 暂无
价格&联系人
年费信息
委托购买

摘要:

权利要求书:

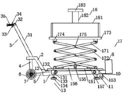
1.手推式航空液压综合车,其特征在于,包括基座(1),所述基座(1)与地面呈15度倾角设置,所述基座(1)上端面一侧边位置固定连接有固定板(2),所述固定板(2)上端安装有把手机构(3),所述基座(1)上端面固定连接有平衡板(12),所述平衡板(12)上端面与地面平齐设置,所述基座(1)两相对侧边均安装有两个支撑机构(13),所述平衡板(12)上端面中心位置开设有安装槽(14),所述平衡板(12)上端面安装有驱动机构(15),所述驱动机构(15)上安装有连接套筒(16),所述平衡板(12)上方设置有升降机构(17),所述升降机构(17)上端面安装有存放机构(18);

所述固定板(2)下端面垂直固定连接有两个支撑杆(4),所述基座(1)靠近支撑杆(4)的一端垂直固定连接有两个连接杆(5),两个所述支撑杆(4)分别与两个连接杆(5)固定连接,两个所述支撑杆(4)和两个连接杆(5)连接处的相远离一侧均设置有一个第一滚轮(6),两个所述第一滚轮(6)靠近支撑杆(4)的一侧中心位置均垂直固定连接有转动轴(7),所述第一滚轮(6)通过转动轴(7)与支撑杆(4)和连接杆(5)连接处转动连接,所述基座(1)下端面远离连接杆(5)的一端固定连接有两组固定柱(10),每组的所述固定柱(10)设置为两个,且每组的两个所述固定柱(10)相并列设置,两组所述固定柱(10)内均设置有一个第二滚轮(11),两个所述第二滚轮(11)分别与两组固定柱(10)转动连接,所述第二滚轮(11)的最低点与第一滚轮(6)的最低点平齐;

所述把手机构(3)包括两个把手杆(31),两个所述把手杆(31)规格一致且相并列设置,两个所述把手杆(31)一端均与固定板(2)固定连接,两个所述把手杆(31)远离固定板(2)一端的相向一侧之间固定连接有把手连接杆(32),所述把手连接杆(32)的外杆壁固定连接有两个握把(33),两个所述握把(33)规格一致且关于把手连接杆(32)中垂线对称分布,两个所述握把(33)靠近把手连接杆(32)的一端均固定套装有防护环(34),两个所述握把(33)上均固定套装有握把套(35);

四个所述支撑机构(13)规格一致且相互之间呈矩形阵列分布,所述支撑机构(13)包括蜗轮丝杆升降机(131),所述蜗轮丝杆升降机(131)均与基座(1)侧边固定连接,所述蜗轮丝杆升降机(131)一侧固定连接有电机(132),所述电机(132)输出端与蜗轮丝杆升降机(131)输入端啮合连接,所述蜗轮丝杆升降机(131)输出端螺纹连接有丝杆(133),所述蜗轮丝杆升降机(131)下方均设置有一个支撑盘(134),所述支撑盘(134)上端面中心位置与丝杆(133)垂直固定连接;

所述驱动机构(15)包括滑轨(151),所述滑轨(151)设置有两个,两个所述滑轨(151)均固定连接在平衡板(12)上端面,两个所述滑轨(151)规格一致且关于平衡板(12)上端面横向中心轴线对称分布,两个所述滑轨(151)上端面均开设有滑槽(152),两个所述滑槽(152)内均设置有两个第三滚轮(153),两个所述滑轨(151)之间设置有两个滚轮连接杆(154),所述滚轮连接杆(154)两端分别与同侧的两个第三滚轮(153)垂直固定连接,两个所述滑轨(151)之间设置有分隔板(155),所述分隔板(155)固定连接在安装槽(14)中间位置,所述分隔板(155)两相对侧边均固定连接有推动气缸(156),两个所述推动气缸(156)输出端均固定连接有活动杆(157),两个所述活动杆(157)相远离的端部均固定连接有连接套筒(16);

两个所述连接套筒(16)规格一致均呈圆柱状设置,所述连接套筒(16)两相对端面贯穿开设有通孔(161),两个所述滚轮连接杆(154)分别贯穿两个通孔(161),所述通孔(161)的内部中间均开设有环形限位槽(162),所述环形限位槽(162)内均转动连接有限位环(163),两个所述限位环(163)均固定套装在滚轮连接杆(154)杆壁中段,所述连接套筒(16)通过环形限位槽(162)和限位环(163)与滚轮连接杆(154)转动连接;

所述升降机构(17)包括若干第一杆(171)和若干第二杆(172),若干所述第一杆(171)和若干第二杆(172)均分为两组,每组设置有三个第一杆(171)和三个第二杆(172),若干所述第一杆(171)和若干第二杆(172)上方共同设置有升降板(173),所述升降板(173)下端面四个边角处均固定连接有四组连接块(174),每组的所述连接块(174)设置有两个,每组的两个所述连接块(174)之间相并列设置,位于最上方的两个第一杆(171)端部和两个第二杆(172)端部分别与四组连接块(174)转动连接,每组的三个所述第一杆(171)和三个第二杆(172)一一交叉设置,每组的所述第一杆(171)和第二杆(172)中心交叉点通过中心轴(175)转动连接,每组位于中间的第一杆(171)两端均通过第一轴分别与位于上下方的两个第二杆(172)端部转动连接,每组位于中间的第二杆(172)两端均通过第二轴分别与位于上下方的两个第一杆(171)端部转动连接,位于最下方的两个第一杆(171)端部和两个第二杆(172)端部分别与四个滚轮连接杆(154)转动连接;

所述存放机构(18)包括存放框(181),所述存放框(181)固定连接在升降板(173)上端面,所述存放框(181)的内框底板上固定连接有中心柱(182),所述中心柱(182)远离存放框(181)内框底板的一端固定连接有支撑座(183);

所述基座(1)远离连接杆(5)的一端固定连接有电池箱(8),所述电池箱(8)内设有蓄电池(9),所述蓄电池(9)与两个推动气缸(156)和四个电机(132)电性连接。