欢迎来到知嘟嘟! 联系电话:13336804447 卖家免费入驻,海量在线求购! 卖家免费入驻,海量在线求购!
知嘟嘟
我要发布
联系电话:13336804447
知嘟嘟经纪人
收藏
专利号: 2019107165436
申请人: 安徽工业大学
专利类型:发明专利
专利状态:已下证
专利领域: 测量;测试
更新日期:2024-01-05
缴费截止日期: 暂无
价格&联系人
年费信息
委托购买

摘要:

权利要求书:

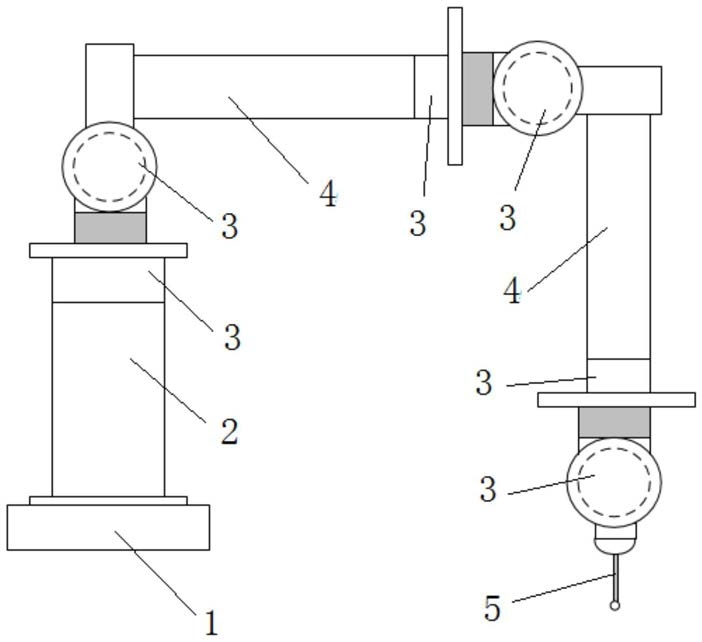
1.一种柔性臂坐标测量机的圆光栅偏心参数标定方法,其特征在于,包括以下步骤:步骤S1:基于D-H模型建立柔性臂坐标测量机的数学模型;

步骤S2:基于狼群算法WPA和最小二乘法LM设计融合的优化算法,狼群-最小二乘融合优化算法WPA-LM;

步骤S3:采用步骤S2设计的狼群-最小二乘融合优化算法WPA-LM对圆光栅的偏心参数进行标定。

2.根据权利要求1所述的一种柔性臂坐标测量机的圆光栅偏心参数标定方法,其特征在于,所述步骤S1包括以下子步骤:步骤S1.1:基于D-H模型建立柔性臂坐标测量机的测头关于基座标系的数学模型;

步骤S1.2:分析柔性臂坐标测量机关节内圆光栅传感器的圆光栅的偏心参数,通过三角函数变换得到基于偏心参数的角度修正公式;

步骤S1.3:结合步骤S1.1和S1.2,建立包含偏心参数的测头关于基座标系的数学模型。

3.根据权利要求1所述的一种柔性臂坐标测量机的圆光栅偏心参数标定方法,其特征在于,所述步骤S2包括以下子步骤:步骤S2.1:确定目标函数;

步骤S2.2:基于狼群算法WPA和最小二乘法LM设计狼群-最小二乘融合优化算法WPA-LM;

步骤S2.3:基于步骤S2.2设计的狼群-最小二乘融合优化算法WPA-LM对偏心参数进行优化。

4.根据权利要求3所述的一种柔性臂坐标测量机的圆光栅偏心参数标定方法,其特征在于,所述步骤S2.1确定的目标函数为:f=e+3σ

式中,e表示柔性臂坐标测量机的长度均方差,σ表示柔性臂坐标测量机的长度标准差。

5.根据权利要求1或3所述的一种柔性臂坐标测量机的圆光栅偏心参数标定方法,其特征在于,所述狼群算法WPA将狼群分为头狼、探狼和猛狼,算法步骤为:(1)随机产生初始狼位置:随机初始狼群的空间值Xi=(xi1,xi2,.....,xiQ),其中xiq为第i匹狼在的第q(1,2,...,Q)维变量空间中的位置,狼群生成方式为xiq=xminq+rand×(xmaxq-xminq),其中rand为区间[0,1]上的随机数,xmaxq,xminq为设定的第q个变量的上限和下限;

(2)计算每匹狼的目标函数,并确定头狼:根据目标函数公式,计算每匹狼的目标函数值,将所有个体值代入计算猎物资源函数E=1/f,即所述目标函数的倒数,数值最大者为头狼xlead,如果有多个个体处于同一水平则随机选择一个,其余的被猎杀后随机生成新个体;

(3)游走:游走行为是探狼的行为,在狼群中选择除头狼外的最优秀的n匹狼为探狼,根据设定的游走方式,计算探狼当前位置的猎物资源函数,直到大于头狼的函数值或满足最大游走次数kmax为止,所述的游走的公式为 p=1,2,…,h,其中 为游走行为步长,游走时探狼可自由的向h个方向进行搜索,代入猎物资源函数,最终前进的位置由函数值最大时的方向决定;

(4)奔袭、围攻:奔袭、围攻是猛狼的行为,猛狼的数量为L-n+1,均向头狼的位置靠拢,快速接近头狼xlead,猛狼i第t+1次迭代时的位置公式如下,式中, 为奔袭行为步长,如果猛狼的猎物资源函数大于头狼则更新头狼位置,否则继续奔袭直至满足一定次数tmax后进行围攻判定;如果rand(0,1)大于围攻判定为θ,其他狼向头狼所在位置展开围攻,围攻的公式为,式中,λ为区间[-1,1]上的随机数, 为围攻行为步长,反之猛狼的位置保持不变;

(5)根据优胜劣汰的规则淘汰适应度最低的狼,按照狼群产生方式随机生成新的个体;

(6)判断是否达到目标函数的设定值或最大迭代次数,若达到则输出头狼的位置,即所求问题的最优解,否则转步骤(2)。

6.根据权利要求1或3所述的一种柔性臂坐标测量机的圆光栅偏心参数标定方法,其特征在于,所述最小二乘法LM的算法步骤为:(1)设定初始阻尼因子μ=μ0,引入步长v>1;

(2)给定待求参数S的初始值S0,终止阈值ε,并置计算步骤标志l=0;

(3)计算Fl=F(Sl)=f(Sl), 式中f()表示目标函数;计算Jl=DF(Sl),计算gl=JlTFl;

(4)求解(Ql+μlI)pl=-gl,I表示单位矩阵;

(5)计算Sl+1=Sl+pl;计算Fl+1=F(Sl+1),(6)判断是否满足终止阈值ε,如果满足则输出Sl+1;如果Gl+1≤Gl,则μl+1=μl/v,转到步骤(7),如果Gl+1>Gl,则μl+1=vμl,转到步骤(4);

(7)另l=l+1,转到步骤(3)。

7.根据权利要求3所述的一种柔性臂坐标测量机的圆光栅偏心参数标定方法,其特征在于,所述狼群算法WPA转入最小二乘法LM的转换准则为:|n+1Elead-nElead|u≤ε1

式中,nElead是第n匹头狼的猎物资源函数,u表示连续u代,ε1表示精度。

8.根据权利要求1所述的一种柔性臂坐标测量机的圆光栅偏心参数标定方法,其特征在于,所述步骤1.2中,基于偏心参数的角度修正公式为:θ*=θ-arcsin(s·sin(u-θ))+arcsin(s·sin(u))*

式中,θ为圆光栅传感器的读数头旋转某一角度时的真实角度值,θ为圆光栅传感器的读数头旋转某一角度时的读数,s为偏心率,u为偏心相位角。

9.根据权利要求5所述的一种柔性臂坐标测量机的圆光栅偏心参数标定方法,其特征在于,所述狼群算法WPA中,游走、奔袭、围攻三种行为的步长关系为:式中, 为游走步长, 为奔袭行为步长, 为围攻行为步长,maxq表示第q个变量的上限,minq表示第q个变量的下限,S表示步长因子。