欢迎来到知嘟嘟! 联系电话:13336804447 卖家免费入驻,海量在线求购! 卖家免费入驻,海量在线求购!
知嘟嘟
我要发布
联系电话:13336804447
知嘟嘟经纪人
收藏
专利号: 2015105229026
申请人: 江苏理工学院
专利类型:发明专利
专利状态:已下证
专利领域: 测量;测试
更新日期:2024-01-05
缴费截止日期: 暂无
价格&联系人
年费信息
委托购买

摘要:

权利要求书:

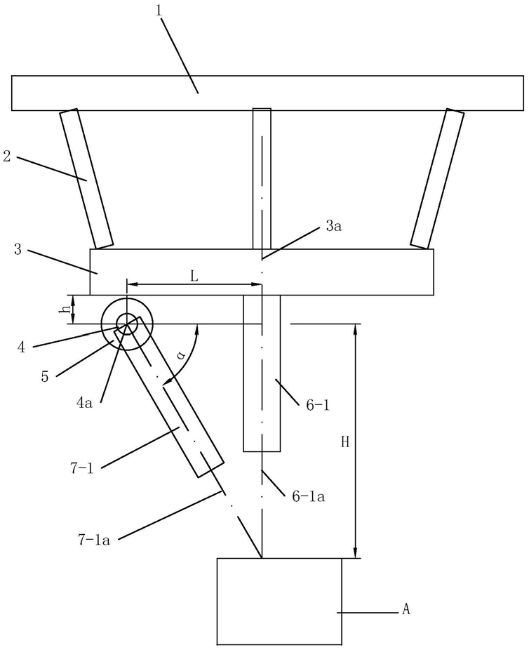
1.一种并联机构式坐标测量装置,并联机构包括上平台(1)、下平台(3)以及铰接在上平台(1)和下平台(3)之间的若干根能伸缩的连杆(2),其特征在于:在下平台(3)上固定有一号主观测装置(6-1),一号主观测装置(6-1)为一内置CCD数字相机望远镜,其视准轴称为一号主观测线(6-1a),一号主观测线(6-1a)与下平台(3)的中心线(3a)重合;在下平台(3)上还设有可以围绕自身轴心线旋转的定位轴(4),定位轴(4)的轴心线(4a)与一号主观测线(6-1a)成空间垂直,定位轴(4)上固定有一号副观测装置(7-1),一号副观测装置(7-1)为一激光器,其光轴称为一号副观测线(7-1a),一号副观测线(7-1a)与定位轴(4)的轴心线(4a)垂直相交,一号主观测线(6-1a)和一号副观测线(7-1a)处于同一平面,下平台(3)上设有用于测量定位轴(4)旋转角度的编码盘(5),定位轴(4)由电机驱动。

2.一种并联机构式坐标测量装置,并联机构包括上平台(1)、下平台(3)以及铰接在上平台(1)和下平台(3)之间的若干根能伸缩的连杆(2),其特征在于:在下平台(3)上固定有二号主观测装置(6-2),二号主观测装置(6-2)为一激光器,其光轴称为二号主观测线(6-

2a),二号主观测线(6-2a)与下平台(3)的中心线(3a)重合,在下平台(3)上还设有可以围绕自身轴心线旋转的定位轴(4),定位轴(4)的轴心线(4a)与二号主观测线(6-2a)成空间垂直,定位轴(4)上固定有二号副观测装置(7-2),二号副观测装置(7-2)为一内置CCD数字相机望远镜,其视准轴称为二号副观测线(7-2a),二号副观测线(7-2a)与定位轴(4)的轴心线(4a)垂直相交,二号主观测线(6-2a)和二号副观测线(7-2a)处于同一平面,下平台(3)上设有用于测量定位轴(4)旋转角度的编码盘(5),定位轴(4)由电机驱动。

3.一种并联机构式坐标测量装置,并联机构包括上平台(1)、下平台(3)以及铰接在上平台(1)和下平台(3)之间的若干根能伸缩的连杆(2),其特征在于:在下平台(3)上固定有一号主观测装置(6-3),一号主观测装置(6-3)为一激光器,其光轴称为一号主观测线(6-

3a),一号主观测线(6-3a)与下平台(3)的中心线(3a)重合;在下平台(3)上还设有可以围绕自身轴心线旋转的定位轴(4),定位轴(4)的轴心线(4a)与一号主观测线(6-3a)成空间垂直,定位轴(4)上固定有三号副观测装置(7-3),三号副观测装置(7-3)为一激光器,其光轴称为三号副观测线(7-3a),三号副观测线(7-3a)与定位轴(4)的轴心线(4a)垂直相交,三号主观测线(6-3a)和三号副观测线(7-3a)处于同一平面内,下平台(3)上设有CCD数字相机(8)和用于测量定位轴旋转角度的编码盘(5),定位轴(4)由电机驱动。