欢迎来到知嘟嘟! 联系电话:13336804447 卖家免费入驻,海量在线求购! 卖家免费入驻,海量在线求购!
知嘟嘟
我要发布
联系电话:13336804447
知嘟嘟经纪人
收藏
专利号: 2019107049952
申请人: 辽宁科技大学
专利类型:发明专利
专利状态:已下证
专利领域: 水泥;混凝土;人造石;陶瓷;耐火材料〔4〕
更新日期:2024-01-05
缴费截止日期: 暂无
价格&联系人
年费信息
委托购买

摘要:

权利要求书:

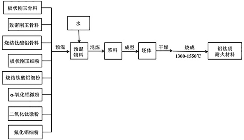
1.一种钛酸铝晶须增强铝钛质耐火材料,其特征在于,以板状刚玉、烧结钛酸铝、致密刚玉为骨料,以板状刚玉细粉、烧结钛酸铝细粉、二氧化钛微粉、α‑氧化铝微粉为基质,以氟化铝细粉作为催化剂,经预混、混炼、成型、干燥和烧成,得到具有钛酸铝晶须增强的铝钛质耐火材料,其具体操作步骤如下:步骤一,预混,将粒径为3‑0.074mm的板状刚玉骨料20‑25wt%、粒径为3‑0.074mm的烧结钛酸铝骨料20‑25wt%、粒径为3‑0.074mm的致密刚玉骨料20‑25wt%、粒径小于0.074mm的板状刚玉细粉5‑10wt%、粒径小于0.074mm的烧结钛酸铝细粉5‑10wt%、粒径小于0.045mm的二氧化钛微粉5‑10wt%、粒径小于0.045mm的α‑氧化铝微粉5‑10wt%和粒径小于0.074mm的氟化铝细粉1‑5wt%,在混炼机中进行充分混炼,得预混物料;

步骤二,混炼,外加步骤一所得预混物料5‑10wt%的水,加入到预混物料中,置于混炼机中继续混炼,得到混炼后的浆料;

步骤三,成型,将混炼后的浆料放入模具中进行成型浇注,待样品在模具中养护24‑48小时后脱模,得到物料坯体;

步骤四,干燥,将脱模后的物料坯体于60‑80℃下干燥5‑10小时,再置于100‑150℃的条件下继续干燥24‑48小时;

步骤五,烧成,将干燥后的物料坯体于1300‑1550℃的烧结窑炉中煅烧2‑6小时,随炉自然冷却后取出,即得到具有钛酸铝晶须增强的铝钛质耐火材料。

2.根据权利要求1所述的一种钛酸铝晶须增强铝钛质耐火材料,其特征在于,所述步骤五中烧结窑炉为隧道窑、梭式窑、辊道窑、箱式电阻炉中的任一种。