欢迎来到知嘟嘟! 联系电话:13336804447 卖家免费入驻,海量在线求购! 卖家免费入驻,海量在线求购!
知嘟嘟
我要发布
联系电话:13336804447
知嘟嘟经纪人
收藏
专利号: 2019104964456
申请人: 浦江县鑫隆自动化设备有限公司
专利类型:发明专利
专利状态:已下证
专利领域: 工程元件或部件;为产生和保持机器或设备的有效运行的一般措施;一般绝热
更新日期:2025-12-17
缴费截止日期: 暂无
价格&联系人
年费信息
委托购买

摘要:

权利要求书:

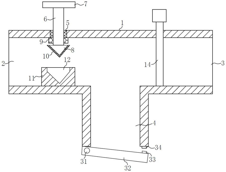
1.一种便于更换滤网的过滤阀,包括阀体(1),其特征在于:所述阀体(1)上分别开设有进水端(2)、出水端(3)和排污端(4),所述进水端(2)的侧壁上开设有螺纹层一(5),所述螺纹层一(5)中活动设置有螺纹杆一(6),所述螺纹杆一(6)远离阀体(1)内腔的一端固定设置有手柄(7),所述螺纹杆一(6)远离手柄(7)的一端固定有止水块(8),所述阀体(1)远离止水块(8)的内腔中固定设置有固定块(11),所述固定块(11)上开设有止水卡槽(12);

所述阀体(1)靠近出水端(3)的一侧活动设置有过滤装置,所述过滤装置包括卡板(13),所述卡板(13)上固定设置有U型板(14),所述卡板(13)和U型板(14)之间设置有过滤网(15),所述卡板(13)的内腔中固定设置有导向轨(20),所述导向轨(20)上活动设置有滑块(21),对称的所述滑块(21)之间连接有压缩弹簧(22),所述滑块(21)上固定连接有拉绳(23),所述导向轨(20)的下方对称设置有导向滑轮(24),所述导向滑轮(24)的两侧对称设置有凹型块(25),所述凹型块(25)的凹槽中连接有连接弹簧(26),所述连接弹簧(26)上固定有卡杆(27),所述拉绳(23)远离滑块(21)的一端绕过导向滑轮(24)、穿过凹型块(25)后固定连接于卡杆(27)上,所述阀体(1)靠近卡板(13)的一侧开设有卡位槽(28),所述阀体(1)远离卡板(13)的一侧侧壁上对称开设有固定槽(29),所述固定槽(29)中固定设置有凹型磁性块(30);

所述阀体(1)靠近排污端(4)的一侧侧壁通过轴承(31)活动连接有阻隔门(32),所述阻隔门(32)上固定设置有卡扣一(33),所述阀体(1)靠近卡扣一(33)的一端固定设置有卡扣二(34)。

2.根据权利要求1所述的一种便于更换滤网的过滤阀,其特征在于:所述进水端(2)内腔中固定设置有密封件(9),所述密封件(9)之间活动设置有螺纹杆一(6)。

3.根据权利要求1所述的一种便于更换滤网的过滤阀,其特征在于:所述止水块(8)上固定设置有密封橡胶层(10)。

4.根据权利要求1所述的一种便于更换滤网的过滤阀,其特征在于:所述卡板(13)上对称开设有螺纹层二(16),所述螺纹层二(16)中活动贯穿有螺纹杆二(17),所述螺纹杆二(17)上固定有旋转柄(18),所述螺纹杆二(17)远离旋转柄(18)的一端固定有磁性吸附块(19)。

我要求购
我不想找了,帮我找吧
您有专利需要变现?
我要出售
智能匹配需求,快速出售