欢迎来到知嘟嘟! 联系电话:13336804447 卖家免费入驻,海量在线求购! 卖家免费入驻,海量在线求购!
知嘟嘟
我要发布
联系电话:13336804447
知嘟嘟经纪人
收藏
专利号: 2020105225990
申请人: 盐城支点机械制造有限公司
专利类型:发明专利
专利状态:已下证
专利领域: 工程元件或部件;为产生和保持机器或设备的有效运行的一般措施;一般绝热
更新日期:2025-12-19
缴费截止日期: 暂无
价格&联系人
年费信息
委托购买

摘要:

权利要求书:

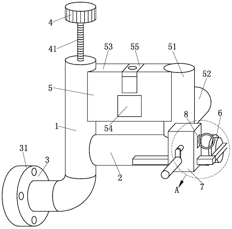
1.一种方便更换滤网的阀门,其特征在于:包括阀体(1)、固定管(2)、连接结构(3)、调节结构(4)、报警结构(5)、过滤结构(6)、安装结构(7)和限位结构(8),用于起到固定和安装其他零部件的所述阀体(1)的一端呈垂直关系固定用于起到泄压作用的所述固定管(2),在所述阀体(1)的一端安装用于连接外部设备的所述连接结构(3);在所述阀体(1)的内部安装用于起到泄压防护作用的所述调节结构(4),在所述阀体(1)的外部安装用于起到泄压失效报警作用的所述报警结构(5);在所述固定管(2)的内部安装用于起到过滤气体作用的所述过滤结构(6),在所述固定管(2)的外部安装用于方便所述过滤结构(6)进行更换的所述安装结构(7),在所述安装结构(7)的一端安装用于对所述安装结构(7)进行限位固定的所述限位结构(8)。

2.根据权利要求1所述的一种方便更换滤网的阀门,其特征在于:所述连接结构(3)包括连接法兰(31)、储气槽(32)、橡胶环(33)、第一弹簧(34)、固定环(35)、顶环(36)、橡胶圈(37)和气道(38),所述连接法兰(31)焊接于所述阀体(1)的一端,在所述连接法兰(31)的内部设有呈环形结构的所述储气槽(32),在所述储气槽(32)的内部滑动连接有呈环形结构的所述橡胶环(33),在所述橡胶环(33)和所述连接法兰(31)之间夹持固定所述第一弹簧(34),在所述橡胶环(33)背离所述第一弹簧(34)的一端固定呈环形结构的所述固定环(35),在所述固定环(35)背离所述橡胶环(33)的一端固定呈环形结构的所述顶环(36),在所述连接法兰(31)的内部固定呈环形结构且内部空心的所述橡胶圈(37),且所述橡胶圈(37)通过所述气道(38)与所述储气槽(32)的内部相通。

3.根据权利要求1所述的一种方便更换滤网的阀门,其特征在于:所述调节结构(4)包括螺杆(41)、第一弹簧座(42)、轴承(43)、第二弹簧座(44)、第二弹簧(45)、阀芯(46)和密封圈(47),所述螺杆(41)贯穿所述阀体(1)的一端且与所述阀体(1)螺纹连接,在所述阀体(1)的内部滑动连接有所述第一弹簧座(42),且所述螺杆(41)通过所述轴承(43)与所述第一弹簧座(42)转动连接,在所述阀体(1)的内部滑动连接有所述第二弹簧座(44),在所述第二弹簧座(44)和所述第一弹簧座(42)之间夹持固定所述第二弹簧(45),在所述第二弹簧座(44)背离所述第二弹簧(45)的一端固定所述阀芯(46),且所述阀芯(46)与所述阀体(1)滑动连接,在所述阀芯(46)背离所述第二弹簧座(44)的一端固定截面呈梯形结构的所述密封圈(47)。

4.根据权利要求3所述的一种方便更换滤网的阀门,其特征在于:所述报警结构(5)包括连接管(51)、泄压管(52)、安装箱(53)、电池盒(54)、报警器(55)、滑板(56)、第三弹簧(57)、固定杆(58)、第一触块(59)、电线(59a)、滑杆(59b)、第二触块(59c)和泄压塞(59d),所述连接管(51)呈垂直关系固定于所述固定管(2)的一端,在所述连接管(51)的外部呈垂直关系固定所述泄压管(52),在所述连接管(51)和所述阀体(1)之间安装所述安装箱(53),在所述安装箱(53)的内部安装所述电池盒(54),在所述安装箱(53)的内部安装所述报警器(55),在所述连接管(51)的内部滑动连接有所述滑板(56),在所述滑板(56)和所述连接管(51)之间夹持固定所述第三弹簧(57),在所述滑板(56)的一端呈垂直关系固定所述固定杆(58),在所述安装箱(53)的内部固定所述第一触块(59),在所述第二弹簧座(44)的一端固定呈L形结构的所述滑杆(59b),在所述安装箱(53)的内部固定所述第二触块(59c),在所述滑板(56)背离所述第三弹簧(57)的一端固定所述泄压塞(59d),所述电池盒(54)通过所述电线(59a)分别与所述固定杆(58)和所述滑杆(59b)电性连接,所述报警器(55)通过所述电线(59a)分别与所述第二触块(59c)和所述第一触块(59)电性连接。

5.根据权利要求1所述的一种方便更换滤网的阀门,其特征在于:所述过滤结构(6)包括抽拉板(61)、密封塞(62)、安装套(63)、固定槽(64)、过滤网(65)、连接杆(66)和限位槽(67),所述抽拉板(61)滑动连接于所述固定管(2)的内部,在所述抽拉板(61)的一端固定所述密封塞(62),在所述固定管(2)的内部滑动连接有所述安装套(63),在所述安装套(63)的内部设有所述固定槽(64),在所述固定槽(64)的内部设有所述限位槽(67),在所述安装套(63)的内部安装所述过滤网(65),所述安装套(63)通过所述连接杆(66)与所述密封塞(62)固定连接。

6.根据权利要求5所述的一种方便更换滤网的阀门,其特征在于:所述安装结构(7)包括固定套(71)、齿条(72)、安装杆(73)、摇把(74)和齿轮(75),所述固定套(71)固定于所述固定管(2)的外部,在所述固定套(71)的内部滑动连接有所述齿条(72),在所述齿条(72)的一端呈垂直关系固定所述安装杆(73),且所述安装杆(73)与所述抽拉板(61)固定,在所述固定套(71)的内部转动连接有所述摇把(74),在所述摇把(74)的外部固定所述齿轮(75),且所述齿轮(75)与所述固定套(71)转动连接,所述齿轮(75)与所述齿条(72)啮合。

7.根据权利要求6所述的一种方便更换滤网的阀门,其特征在于:所述限位结构(8)包括移动块(81)、拉环(82)、限位齿(83)、导杆(84)和第四弹簧(85),所述移动块(81)滑动连接于所述固定套(71)的内部,在所述移动块(81)的一端固定截面呈梯形结构的所述限位齿(83),在所述移动块(81)背离所述限位齿(83)的一端固定所述拉环(82),在所述移动块(81)的一端呈垂直关系固定所述导杆(84),且所述导杆(84)与所述固定套(71)滑动连接,在所述移动块(81)和所述固定套(71)之间夹持固定所述第四弹簧(85),且所述导杆(84)贯穿所述第四弹簧(85)。