欢迎来到知嘟嘟! 联系电话:13095918853 卖家免费入驻,海量在线求购! 卖家免费入驻,海量在线求购!
知嘟嘟
我要发布
联系电话:13095918853
知嘟嘟经纪人
收藏
专利号: 2019104786302
申请人: 浙江知瑞科技集团有限公司
专利类型:发明专利
专利状态:已下证
专利领域: 一般车辆
更新日期:2025-01-22
缴费截止日期: 暂无
价格&联系人
年费信息
委托购买

摘要:

权利要求书:

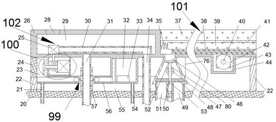
1.一种基于太阳能技术的汽车空气循环装置,包括车顶上固定安装的支撑壁,所述支撑壁上设有过滤网,所述支撑壁上固设有机体,所述机体与所述车顶中设有装置腔,所述装置腔与所述机体之间设有空气流通装置,所述空气流通装置包括设置在所述装置腔左侧壁的的进气腔,所述进气腔的右侧壁设有动力腔,所述进气腔底侧壁设有空气流通管,所述空气流通管的底侧面设有与所述空气流通管相通的发动机进气管,所述空气流通管的一侧连通有空气处理腔,所述空气处理腔的底壁可放有加湿器,所述空气处理腔的上下侧壁上转动连接有转动轴,所述转动轴上固设有加湿腔开关,所述加湿腔开关可以将所述空气处理腔密封,所述空气处理腔的底侧壁设有与所述空气处理腔相通的车内进气管,所述车内进气管与车内空间相通,为车内提供处理过后的空气,所述机体的底侧面固设有排气体,所述排气体中设有排气腔,所述排气腔的底侧壁固设有第二过滤网,所述排气腔底侧壁转动连接有排气轴,所述排气轴向上延伸贯穿所述第二过滤网,且与所述第二过滤网转动连接,所述排气轴上侧固设有排气风扇,所述排气轴中侧固设有第五锥齿轮,所述排气体底侧面上设有与所述排气腔连通的发动机舱排气管及车内排气管,可以通过所述发动机舱排气管和所述车内排气管将车内的空气排出,从而对车内空气进行循环保持车内空气的新鲜;

所述排气体后侧面固设有传动箱,所述传动箱中设有传动装置,所述动力腔中设有为本装置提供动力的动力装置,所述机体的右侧面设有为装置在车辆熄火时提供了电力的太阳能装置,所述机体中设有水箱,所述水箱中设有为发动机调节温度的发动机温度调节装置。

2.根据权利要求1所述的一种基于太阳能技术的汽车空气循环装置,其特征在于:所述动力装置由转动电机、进气轴、第一锥齿轮、第二锥齿轮、进气风扇组成,所述动力腔右侧壁上固设有所述转动电机,所述转动电机上连接有所述进气轴,所述进气轴向左延伸贯所述动力腔的左侧壁进入到所述进气腔中,且与所述进气腔的右侧壁转动连接,所述进气轴在所述进气腔中固设有所述进气风扇,所述进气轴上固设有所述第一锥齿轮,所述第一传动轴向前延伸贯穿所述传动腔的前侧壁进入到所述动力腔中,且与所述动力腔的后侧壁转动连接,所述第一传动轴在所述动力腔中固设有与所述第一锥齿轮啮合的所述第二锥齿轮。

3.根据权利要求1所述的一种基于太阳能技术的汽车空气循环装置,其特征在于:所述发动机温度调节装置由水泵、水泵轴、第三锥齿轮、水管、进水管、发动机舱、发动机舱腔、出水管、加热块组成,所述水箱底侧壁上固设有所述水泵,所述水泵上连接有所述水泵轴,所述水泵轴向下延伸贯穿所述水箱的底侧壁进入到所述动力腔中,与所述水箱的底侧壁及所述动力腔的顶侧壁转动连接,所述水泵轴在所述动力腔中固设有与所述第一锥齿轮啮合的所述第三锥齿轮,所述水泵的右侧面上连接有所述水管,所述水箱的底侧壁上固设有相通的所述进水管,所述进水管进入到设置在车内的所述发动机舱,所述发动机舱中设有所述发动机舱腔,所述发动机舱腔与所述发动机进气管相通,所述发动机舱腔的底侧壁设有相通的所述发动机舱排气管,所述进水管在所述发动机舱腔中弯曲布置,从而增加所述进水管在所述发动机舱腔的接触面积,加强所述进水管控制温度的效果,所述水箱的底侧壁上固设有所述出水管,所述进水管在所述发动机舱腔中与所述出水管相通,所述水管与所述出水管相通,所述进水管的上固设有所述加热块。

4.根据权利要求1所述的一种基于太阳能技术的汽车空气循环装置,其特征在于:所述太阳能装置由太阳能板、刮块、移动腔、移动电机、移动轴、齿轮、齿条、移动太阳能板、弹簧组成,所述机体右侧面上固设有所述太阳能板,所述太阳能板底面上固设有五个所述刮块,所述机体中设有所述移动腔,所述移动腔的后侧壁上固设有所述移动电机,所述移动电机上连接有所述移动轴,所述移动轴上固设有所述齿轮,所述机体的顶侧面上滑动连接有与所述齿轮啮合的所述齿条,所述齿条顶侧面上固定连接有所述移动太阳能板,所述移动太阳能板与所述机体之间连接有防止所述移动太阳能板脱落的所述弹簧。

5.根据权利要求1所述的一种基于太阳能技术的汽车空气循环装置,其特征在于:在冬天时可在发动车辆前将本装置打开,同时将所述加热块开启,可对所述进水管中的水及所述空气流通管中的空气进行加热,使得所述进水管通过其中的热水对所述发动机舱腔进行加热,对车辆进行暖车,使得所述空气流通管中的热空气进入车内增加车内温度,使得驾驶员在进入车内后就有一个舒适的环境。

6.根据权利要求1所述的一种基于太阳能技术的汽车空气循环装置,其特征在于:可在所述加湿器中加入香料,使得在增湿的同时,对流经所述空气处理腔中的空气进行处理,增加驾驶员在呼吸时的舒适度。

7.根据权利要求1所述的一种基于太阳能技术的汽车空气循环装置,其特征在于:所述排气腔中排出的气体流入所述太阳能装置中,在排出车内气体,同时对落在所述移动太阳能板上的杂物进行清理。

8.根据权利要求4所述的一种基于太阳能技术的汽车空气循环装置,其特征在于:所述刮块为橡胶材质,在所述移动太阳能板移动的同时清理垃圾的,且不伤害到所述移动太阳能板本身。

9.根据权利要求3所述的一种基于太阳能技术的汽车空气循环装置,其特征在于:所述水箱中储存的水,可在发生火灾时及时对火源进行消灭。

10.根据权利要求1所述的一种基于太阳能技术的汽车空气循环装置,其特征在于:所述传动装置由传动腔、第二同步轮、第一传动轴、第一同步轮、皮带、第四锥齿轮组成,所述传动箱中设有所述传动腔,所述传动腔的前后侧壁上转动连接有所述第二传动轴,所述第二传动轴上固设有所述第二同步轮,所述传动腔的前后侧壁上转动连接有所述第一传动轴,所述第一传动轴上固设有所述第一同步轮,所述第一同步轮与所述第二同步轮之间连接有所述皮带,所述第二传动轴向前延伸贯穿所述传动腔的前侧壁进入到所述排气腔中,且与所述排气腔的后侧壁转动连接,所述第二传动轴在所述排气腔中固设有与所述第五锥齿轮啮合的所述第四锥齿轮。