欢迎来到知嘟嘟! 联系电话:13336804447 卖家免费入驻,海量在线求购! 卖家免费入驻,海量在线求购!
知嘟嘟
我要发布
联系电话:13336804447
知嘟嘟经纪人
收藏
专利号: 2019100643032
申请人: 东北石油大学
专利类型:发明专利
专利状态:已下证
专利领域: 发电、变电或配电
更新日期:2024-04-03
缴费截止日期: 暂无
价格&联系人
年费信息
委托购买

摘要:

权利要求书:

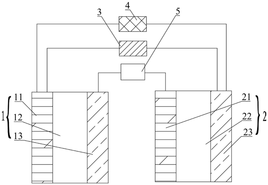
1.一种新型的太阳能电池-太阳能燃料联产循环系统,其特征在于:所述太阳能电池-太阳能燃料联产循环系统包括:电化学单元、用于将太阳能转化成电能以给所述电化学单元提供电能的光电单元和用于将太阳能转换成热能以调节所述电化学单元的温度的光热单元;所述电化学单元包括采用串联的方式连接的以熔融碱为电解体系的第一电化学单元和以熔融碳酸盐为电解体系的第二电化学单元;当所述太阳能电池-太阳能燃料联产循环系统工作时,所述第一电化学单元的电解体系中还包含三氧化铁和水,所述第二电化学单元的电解体系中还包含二氧化碳。2.根据权利要求1所述的太阳能电池-太阳能燃料联产循环系统,其特征在于:所述太阳能电池-太阳能燃料联产循环系统还包括负载装置;所述负载装置与所述光电单元以并联的方式连接在所述第一电化学单元的阳极和所述第二电化学单元的阴极之间。3.根据权利要求1所述的太阳能电池-太阳能燃料联产循环系统,其特征在于:当所述光电单元和所述电化学单元之间形成电流回路时,所述太阳能电池-太阳能燃料联产循环系统充电并产出太阳能燃料。4.根据权利要求2所述的太阳能电池-太阳能燃料联产循环系统,其特征在于:当所述负载装置和所述电化学单元之间形成电流回路时,所述太阳能电池-太阳能燃料联产循环系统放电以产出电能。5.根据权利要求1所述的太阳能电池-太阳能燃料联产循环系统,其特征在于:当所述光电单元和所述电化学单元之间形成电流回路时,所述第一电化学单元的电解体系中还包含强氧化剂。6.根据权利要求1至5任一项所述的太阳能电池-太阳能燃料联产循环系统,其特征在于:所述熔融碱选自由熔融氢氧化钠、熔融氢氧化钾、熔融氢氧化锂、熔融氢氧化铯、熔融氢氧化镁、熔融氢氧化锶、熔融氢氧化银和熔融氢氧化钡组成的组。7.根据权利要求1至5任一项所述的太阳能电池-太阳能燃料联产循环系统,其特征在于:所述熔融碳酸盐选自由熔融碳酸锂、熔融碳酸钠和熔融碳酸钾组成的组。8.根据权利要求1至5任一项所述的太阳能电池-太阳能燃料联产循环系统,其特征在于:所述第一电化学单元的阳极和阴极采用泡沫镍材料制成;和/或所述第二电化学单元的阳极和阴极采用泡沫镍材料制成。9.根据权利要求1至5任一项所述的太阳能电池-太阳能燃料联产循环系统,其特征在于:所述光热单元为太阳能聚焦高温系统;和/或所述光电单元为多级硅基太阳能电池、光电池或多带隙太阳能电池。10.根据权利要求1至5任一项所述的太阳能电池-太阳能燃料联产循环系统,其特征在于:所述光热单元调节所述第一电化学单元的温度为200~350℃;和/或所述光热单元调节所述第二电化学单元的温度为500~700℃。