欢迎来到知嘟嘟! 联系电话:13336804447 卖家免费入驻,海量在线求购! 卖家免费入驻,海量在线求购!
知嘟嘟
我要发布
联系电话:13336804447
知嘟嘟经纪人
收藏
专利号: 2019102299839
申请人: 台州精微顺自动化有限公司
专利类型:发明专利
专利状态:已下证
专利领域: 一般的物理或化学的方法或装置
更新日期:2025-12-17
缴费截止日期: 暂无
价格&联系人
年费信息
委托购买

摘要:

权利要求书:

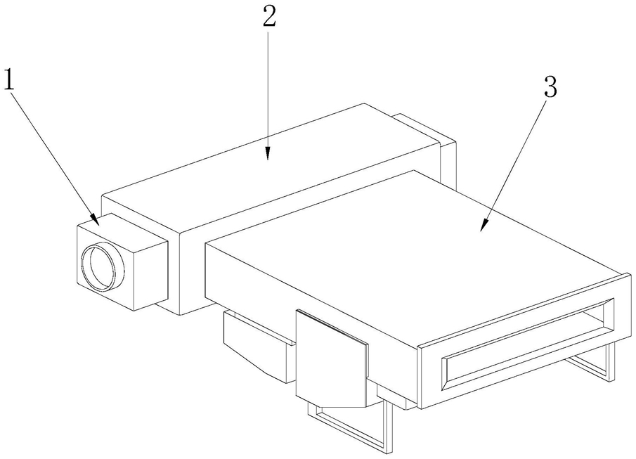
1.一种新能源汽车空调滤网不停机换网装置,其结构包括进风管路连接嘴(1)、集风管(2)、滤网循环式自动清洁装置(3),其特征在于:

所述的集风管(2)两侧安装有进风管路连接嘴(1),所述的滤网循环式自动清洁装置(3)安装在集风管(2)前端的中心位置,所述的滤网循环式自动清洁装置(3)由空调滤网(31)、重力溢流机构(32)、导风矩形管(33)、集流传动机构(34)、支架(35)、回流管(36)、水箱(37)、出水管(38)组成,所述的导风矩形管(33)内部设有空调滤网(31),所述的导风矩形管(33)底部安装有支架(35),所述的支架(35)前后两端分别设有水箱(37)和集流传动机构(34),所述的重力溢流机构(32)固定在导风矩形管(33)底部,所述的水箱(37)底部设有回流管(36),所述的出水管(38)设于水箱(37)后端。

2.根据权利要求1所述的一种新能源汽车空调滤网不停机换网装置,其特征在于:所述的重力溢流机构(32)由水盘(321)、限位环(322)、弹簧(323)、溢水支座(324)、滑杆(325)、止流球体(326)、集水漏斗(327)、溢水孔(328)组成,所述的集水漏斗(327)设于水盘(321)底部,所述的水盘(321)顶部设有溢水孔(328),所述的溢水孔(328)顶部设有溢水支座(324),所述的溢水支座(324)中心位置设有滑杆(325),所述的滑杆(325)顶端设有限位环(322),所述的限位环(322)和溢水支座(324)之间设有弹簧(323),所述的止流球体(326)与滑杆(325)相焊接。

3.根据权利要求2所述的一种新能源汽车空调滤网不停机换网装置,其特征在于:所述的滑杆(325)为圆柱形结构并且直径小于溢水孔(328)的直径,所述的止流球体(326)直径略大于溢水孔(328)的直径。

4.根据权利要求1所述的一种新能源汽车空调滤网不停机换网装置,其特征在于:所述的集流传动机构(34)由导管(341)、导流盖(342)、弹簧伸缩杆(343)、导流箱(344)、集流箱(345)、自适应带转风轮(346)、活塞筒(347)、活塞(348)、单向出水喷头(349)组成,所述的导流箱(344)顶部设有导流盖(342),所述的导流盖(342)底部设有弹簧伸缩杆(343),所述的导流箱(344)前端设有集流箱(345),所述的导流箱(344)和集流箱(345)通过导管(341)相连接,所述的自适应带转风轮(346)安装在集流箱(345)内部,所述的集流箱(345)顶部设有活塞筒(347),所述的活塞(348)设于活塞筒(347)内部,所述的活塞筒(347)顶部设有单向出水喷头(349)。

5.根据权利要求4所述的一种新能源汽车空调滤网不停机换网装置,其特征在于:所述的自适应带转风轮(346)由连杆(346a)、叶片(346b)、拉簧(346c)、弹性拉绳(346d)、轮毂(346e)、中心轴(346f)组成,所述的中心轴(346f)两端设有连杆(346a),所述的轮毂(346e)套合在中心轴(346f)上,所述的轮毂(346e)外壁上设有两个以上的叶片(346b),所述的叶片(346b)与轮毂(346e)活动连接,所述的叶片(346b)之间通过拉簧(346c)连接,所述的拉簧(346c)内部设有弹性拉绳(346d)。