欢迎来到知嘟嘟! 联系电话:13336804447 卖家免费入驻,海量在线求购! 卖家免费入驻,海量在线求购!
知嘟嘟
我要发布
联系电话:13336804447
知嘟嘟经纪人
收藏
专利号: 2018109225475
申请人: 嘉兴恒益安全服务股份有限公司
专利类型:发明专利
专利状态:已下证
专利领域: 一般的物理或化学的方法或装置
更新日期:2024-02-26
缴费截止日期: 暂无
价格&联系人
年费信息
委托购买

摘要:

权利要求书:

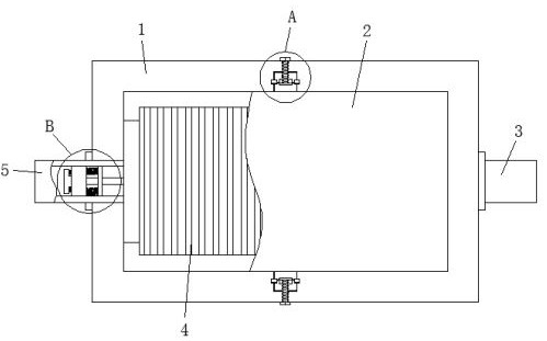
1.一种新能源汽车空气过滤器,包括安装盒(1),其特征在于:所述安装盒(1)的两侧分别安装有进气管(3)和出气管(5),所述进气管(3)和出气管(5)的内部均安装有密封阀(13)和移动架(14),所述移动架(14)位于密封阀(13)的一侧,且移动架(14)与进气管(3)和出气管(5)的内壁均通过滑块滑动连接,所述密封阀(13)与移动架(14)之间焊接有第一弹簧(16),且移动架(14)的中间位置处贯穿有推杆(15),所述密封阀(13)的内部安装有阀芯(12)和第二弹簧(17),所述第二弹簧(17)位于阀芯(12)的一侧,所述安装盒(1)相邻于进气管(3)的两侧内壁上均开设有卡槽(7),所述卡槽(7)的两侧内壁均开设有密封槽(8),且两个卡槽(7)的内部均通过固定螺栓(6)固定连接有卡块(9),两个所述卡块(9)之间焊接有过滤器(2),所述过滤器(2)的内部安装有滤芯(4),所述卡块(9)内部的中间位置处安装有平衡气囊(10),且卡块(9)的两侧外壁均嵌入有密封气囊(11),所述密封气囊(11)与密封槽(8)卡合连接。

2.根据权利要求1所述的一种新能源汽车空气过滤器,其特征在于:所述安装盒(1)由盒体与盒盖组成,且盒体与盒盖上均设置有密封条。

3.根据权利要求1所述的一种新能源汽车空气过滤器,其特征在于:所述平衡气囊(10)与密封气囊(11)之间连接有气管。

4.根据权利要求1所述的一种新能源汽车空气过滤器,其特征在于:所述密封阀(13)的内部开设有阀孔,且阀孔与阀芯(12)均为凸型结构。

5.根据权利要求1所述的一种新能源汽车空气过滤器,其特征在于:所述第一弹簧(16)和第二弹簧(17)均设置有两个,且两个第一弹簧(16)和第二弹簧(17)均位于推杆(15)的两侧。