欢迎来到知嘟嘟! 联系电话:13336804447 卖家免费入驻,海量在线求购! 卖家免费入驻,海量在线求购!
知嘟嘟
我要发布
联系电话:13336804447
知嘟嘟经纪人
收藏
专利号: 2019100731423
申请人: 中国矿业大学
专利类型:发明专利
专利状态:已下证
专利领域: 卷扬;提升;牵引
更新日期:2024-01-05
缴费截止日期: 暂无
价格&联系人
年费信息
委托购买

摘要:

权利要求书:

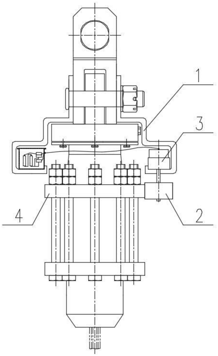
1.一种摩擦式矿井提升机圆尾绳旋转监测装置,其特征在于,包括支撑架(1)、压接检测辊轮(2)、旋转监测部件(3)和电控机构;

所述的支撑架(1)固定安装在圆尾绳悬挂装置的连杆和/或吊杆上;

所述的压接检测辊轮(2)滚动配合安装在支撑架(1)上,压接检测辊轮(2)的中轴线与滚动配合安装在圆尾绳悬挂装置吊杆上的轴承套(4)的中轴线平行设置、且压接检测辊轮(2)的辊轮面压接在轴承套(4)的柱形表面上;

所述的旋转监测部件(3)同轴固定安装在压接检测辊轮(2)的轴端、且旋转监测部件(3)外部设有防爆结构;

所述的电控机构设置在防爆箱体内,防爆箱体固定安装在支撑架(1)上,电控机构包括控制器、电池组、电源回路、报警模块、报警控制回路、无线收发模块、无线收发控制回路,控制器分别与电池组、报警模块、无线收发模块和旋转监测部件(3)电连接,控制器与摩擦式矿井提升机系统的地面电控主机通过无线收发模块电连接。

2.根据权利要求1所述的摩擦式矿井提升机圆尾绳旋转监测装置,其特征在于,旋转监测部件(3)是发电机,电控机构的电池组是可充电电池组,电控机构还包括充电模块和充电保护控制回路。

3.根据权利要求1或2所述的摩擦式矿井提升机圆尾绳旋转监测装置,其特征在于,压接检测辊轮(2)通过弹性压紧机构安装在支撑架(1)上。

4.一种摩擦式矿井提升机圆尾绳旋转监测装置的控制方法,其特征在于,提升容器带动圆尾绳悬挂装置及圆尾绳的绳端同步升降的同时带动轴承套(4)绕其中轴线旋转,轴承套(4)带动压接检测辊轮(2)旋转,旋转监测部件(3)对压接检测辊轮(2)的旋转量进行检测并向控制器反馈检测数据,控制器将反馈的检测数据与内置的旋转标准数据进行比对;若反馈的检测数据与旋转标准数据的偏差位于设定范围内,则持续检测;若反馈的检测数据与旋转标准数据的偏差位于设定范围外,则控制器启动报警控制回路,报警模块通过无线收发模块向摩擦式矿井提升机系统的地面电控主机发出报警信号,地面电控主机根据接收到的报警信号控制摩擦式矿井提升机进行安全停机动作。

5.根据权利要求4所述的摩擦式矿井提升机圆尾绳旋转监测装置的控制方法,其特征在于,旋转监测部件(3)是发电机,电控机构的电池组是可充电电池组,电控机构还包括充电模块和充电保护控制回路;旋转监测部件(3)在检测过程中同时对可充电电池组进行充电。

6.根据权利要求4或5所述的摩擦式矿井提升机圆尾绳旋转监测装置的控制方法,其特征在于,在摩擦式矿井提升机系统的地面电控主机发出指令控制提升容器进行升降动作启动的同时,地面电控主机向本摩擦式矿井提升机圆尾绳旋转监测装置的控制器发出启动指令,本摩擦式矿井提升机圆尾绳旋转监测装置的控制器根据无线收发模块接收到的启动指令开始进行监测作业;在摩擦式矿井提升机系统的地面电控主机发出指令控制提升容器进行停止动作的同时,地面电控主机向本摩擦式矿井提升机圆尾绳旋转监测装置的控制器发出停止指令,本摩擦式矿井提升机圆尾绳旋转监测装置的控制器根据无线收发模块接收到的停止指令进行停止监测作业。