欢迎来到知嘟嘟! 联系电话:13336804447 卖家免费入驻,海量在线求购! 卖家免费入驻,海量在线求购!
知嘟嘟
我要发布
联系电话:13336804447
知嘟嘟经纪人
收藏
专利号: 2018220545419
申请人: 湖南省博世康中医药有限公司
专利类型:实用新型
专利状态:已下证
专利领域: 清洁
更新日期:2024-02-23
缴费截止日期: 暂无
价格&联系人
年费信息
委托购买

摘要:

权利要求书:

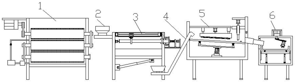
1.一种用于中草药制作的清洗去皮装置,其特征在于,它包括清洗装置(1)、料斗(2)、去皮装置(3)、提升系统(4);去皮装置(3)包括第二架体(301),第二架体(301)的侧端设置有顶紧机构(303)和夹紧拉紧机构(304);顶紧机构(303)和夹紧拉紧机构(304)上端间距活动设置有切刀组件(302),第二架体(301)的底端设置有第一活动板(306);夹紧拉紧机构(304)包括设置在第二固定板(3042)上的气动手指(3041),气动手指(3041)的后端设置有拉紧机构;拉紧机构包括第二固定板(3042)通过伸缩杆(3048)与第二架体(301)的侧板连接,第二固定板(3042)的下端设置有第一滑块(3047),第二固定板(3042)的后端间距设置有第二滑块(3046),第二固定板(3042)与第二滑块(3046)之间设置有弹簧(3043),第一滑块(3047)与第二滑块(3046)均设置在第一导轨(3049)上。

2.根据权利要求1所述的一种用于中草药制作的清洗去皮装置,其特征在于,清洗装置(1)包括第一架体(101),第一架体(101)的两侧与底端设置有多个滚筒组件(104),滚筒组件(104)通过传动装置连接,滚筒组件(104)上设置有清洁刷(109);其中一个滚筒组件(104)的一端与驱动机构(103),驱动机构(103)设置在第一固定板(102)上,第一架体(101)与水循环系统(100)连通。

3.根据权利要求2所述的一种用于中草药制作的清洗去皮装置,其特征在于,水循环系统(100)包括过滤器(108),过滤器(108)通过循环水管(106)分别与第一架体(101)、储水室(107)和水泵(105)连通。

4.根据权利要求1所述的一种用于中草药制作的清洗去皮装置,其特征在于,顶紧机构(303)包括设置在侧板上端内侧的第一气缸(3031),第一气缸(3031)的伸缩端与顶紧板(3032)连接。

5.根据权利要求4所述的一种用于中草药制作的清洗去皮装置,其特征在于,顶紧板(3032)上设置在防滑橡胶,防滑橡胶与顶紧板(3032)活动设置。

6.根据权利要求1所述的一种用于中草药制作的清洗去皮装置,其特征在于,第一活动板(306)的下端设置有第一液压缸(305)。

7.根据权利要求1所述的一种用于中草药制作的清洗去皮装置,其特征在于,第二滑块(3046)的后端与第二气缸(3044)的伸缩端连接,第二气缸(3044)设置在第一支撑板(3045)上。