欢迎来到知嘟嘟! 联系电话:13336804447 卖家免费入驻,海量在线求购! 卖家免费入驻,海量在线求购!
知嘟嘟
我要发布
联系电话:13336804447
知嘟嘟经纪人
收藏
专利号: 2018220545387
申请人: 湖南省博世康中医药有限公司
专利类型:实用新型
专利状态:已下证
专利领域: 其他类不包含的食品或食料;及其处理
更新日期:2023-10-15
缴费截止日期: 暂无
价格&联系人
年费信息
委托购买

摘要:

权利要求书:

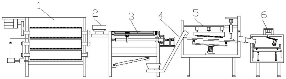
1.一种用于中草药制作的去皮切片装置,其特征在于,它包括去皮装置(3)、提升系统(4)、理料切片装置(5);去皮装置(3)包括第二架体(301),第二架体(301)的侧端设置有顶紧机构(303)和夹紧拉紧机构(304),顶紧机构(303)包括设置在侧板上端内侧的第一气缸(3031),第一气缸(3031)的伸缩端与顶紧板(3032)连接;顶紧机构(303)和夹紧拉紧机构(304)上端间距活动设置有切刀组件(302),第二架体(301)的底端设置有第一活动板(306),第一活动板(306)的下端设置有第一液压缸(305);切刀组件(302)包括立柱(3021),立柱(3021)的下端设置有第三导轨(3025),立柱(3021)内设置有滚珠丝杆(3024),滚珠丝杆(3024)的底端与第一电机(3022)的输出轴连接,滚珠丝杆(3024)上的滚珠螺母(3023)与第四滑块(3026)连接,第四滑块(3026)的下端与连接座(3028)固定连接,连接座(3028)上与第一切刀(3027)活动连接。

2.根据权利要求1所述的一种用于中草药制作的去皮切片装置,其特征在于,夹紧拉紧机构(304)包括设置在第二固定板(3042)上的气动手指(3041),第二固定板(3042)通过伸缩杆(3048)与第二架体(301)的侧板连接,第二固定板(3042)的下端设置有第一滑块(3047),第二固定板(3042)的后端间距设置有第二滑块(3046),第二固定板(3042)与第二滑块(3046)之间设置有弹簧(3043),第一滑块(3047)与第二滑块(3046)均设置在第一导轨(3049)上。

3.根据权利要求2所述的一种用于中草药制作的去皮切片装置,其特征在于,第二滑块(3046)的后端与第二气缸(3044)的伸缩端连接,第二气缸(3044)设置在第一支撑板(3045)上。

4.根据权利要求1所述的一种用于中草药制作的去皮切片装置,其特征在于,理料切片装置(5)包括第三架体(501),第三架体(501)内活动设置有隔板(515),隔板(515)的下端设置振动组件(200),隔板(515)的上端间距活动设置第一连接板(504),第一连接板(504)的下端设置有理料板(511);第一连接板(504)的侧端活动设置有第二切刀(509),隔板(515)上活动设置有定位板(516),第三架体(501)与烘干装置(6)之间彩伸缩套管(510)连接。

5.根据权利要求4所述的一种用于中草药制作的去皮切片装置,其特征在于,振动组件(200)包括振动电机(512),振动电机(512)设置在第二连接板(513)的下侧,第二连接板(513)的上端设置有第一弹簧组件(514)。

6.根据权利要求5所述的一种用于中草药制作的去皮切片装置,其特征在于,第一连接板(504)的上端设置有第三气缸(503),第三气缸(503)的两侧设置有导柱(505),第三气缸(503)和导柱(505)设置在横板(502)上。

7.根据权利要求6所述的一种用于中草药制作的去皮切片装置,其特征在于,第二切刀(509)设置在滑套(508)内,第二切刀(509)的末端与第四气缸(507)连接,第四气缸(507)设置在第二支撑板(506)上。