欢迎来到知嘟嘟! 联系电话:13336804447 卖家免费入驻,海量在线求购! 卖家免费入驻,海量在线求购!
知嘟嘟
我要发布
联系电话:13336804447
知嘟嘟经纪人
收藏
专利号: 2018210931588
申请人: 南通理工学院
专利类型:实用新型
专利状态:已下证
专利领域: 手动工具;轻便机动工具;手动器械的手柄;车间设备;机械手
更新日期:2024-01-05
缴费截止日期: 暂无
价格&联系人
年费信息
委托购买

摘要:

权利要求书:

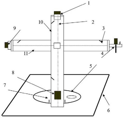
1.一种机械手组件,包括底座(6),所述底座(6)上设置有纵轴(10),垂直于所述纵轴(10)设置有横轴(11),其特征在于:所述纵轴(10)的底部且处于底座(6)上设置有旋转码盘(5),所述旋转码盘(5)上设置有传感器(7),所述纵轴(10)内部设置有第一滚轴丝杆(2),所述第一滚轴丝杆(2)连接有纵轴步进电机(1),所述横轴(11)内部设置有第二滚轴丝杆(12),所述第二滚轴丝杆(12)连接有横轴步进电机(9),所述纵轴(10)内部的底部还设置直流电机(8),所述纵轴(10)和横轴(11)内部均设置有限位开关(3),所述横轴(11)的端部设置有机械手(4)。

2.根据权利要求1所述的一种机械手组件,其特征在于:所述机械手(4)包括用于抓取物体的相对设置的一对可拆卸夹爪和驱动夹爪运动的夹爪电机,且所述夹爪之间的距离为

10mm-800mm。

3.根据权利要求2所述的一种机械手组件,其特征在于:所述传感器(7)为接近开关。

4.根据权利要求1所述的一种机械手组件,其特征在于:所述横轴步进电机(9)和纵轴步进电机(1)内部设置步进电机驱动模块,所述步进电机驱动模块设置有脉冲分配器和与所述脉冲分配器连接的功率放大器。

5.根据权利要求4所述的一种机械手组件,其特征在于:所述旋转码盘(5)在沿着盘体圆周方向等间距布置有一组透光孔。

6.一种控制机械手组件的控制单元,控制如权利要求1-5任一所述的机械手组件,其特征在于:所述的控制单元包括主控单元(16),与所述主控单元(16)连接有外围设备(13)和存储器(17),所述控制单元还连接有工控机(15),所述工控机(15)连接有总控中心(14),所述主控单元(16)设置成控制纵轴步进电机(1)、横轴步进电机(9)、直流电机(8)以及机械手(4)。

7.根据权利要求6所述的一种控制机械手组件的控制单元,其特征在于:所述主控单元(16)为基于PLC可编程控制器的主控单元。

8.根据权利要求6所述的一种控制机械手组件的控制单元,其特征在于:所述外围设备(13)为编程器、彩色图形显示器、打印机、盒式磁带机、磁盘驱动器或EPROM写入器中的任意一种。

我要求购
我不想找了,帮我找吧
您有专利需要变现?
我要出售
智能匹配需求,快速出售