欢迎来到知嘟嘟! 联系电话:13336804447 卖家免费入驻,海量在线求购! 卖家免费入驻,海量在线求购!
知嘟嘟
我要发布
联系电话:13336804447
知嘟嘟经纪人
收藏
专利号: 2018202613070
申请人: 宁波大学
专利类型:实用新型
专利状态:已下证
专利领域: 水、废水、污水或污泥的处理
更新日期:2023-08-24
缴费截止日期: 暂无
价格&联系人
年费信息
委托购买

摘要:

权利要求书:

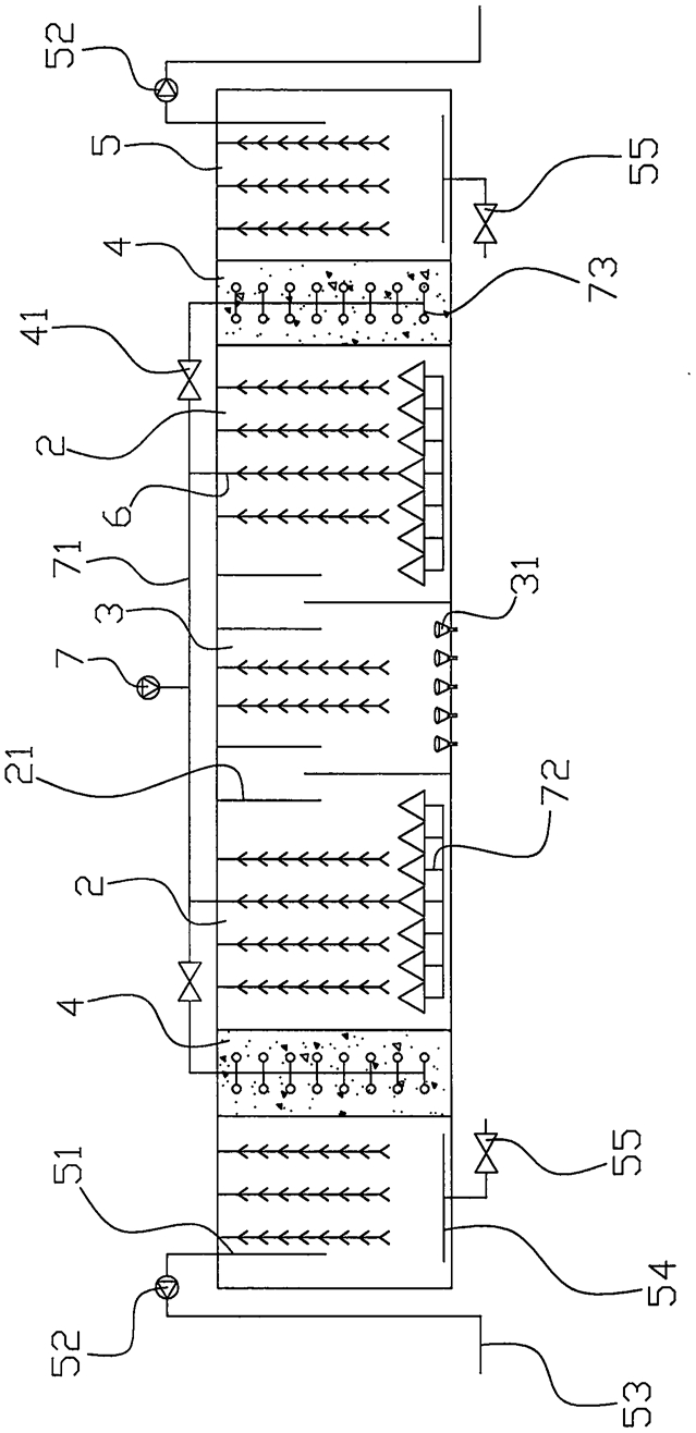
1.一种污染水体净化处理装置,包括壳体(1),其特征在于:所述壳体(1)分隔为N个好氧池(2)、N-1个厌氧池(3)、两个过滤池(4)和两个进/排水池(5),所述好氧池(2)和厌氧池(3)依次相邻交替设置,所述两个过滤池(4)分别与两端的好氧池(2)相邻,所述两个进/排水池(5)分别设置于壳体两端并与相应的过滤池(4)相邻,所述两个进/排水池(5)分别设置有能将排水池(5)中的水排出至外界的排水泵(52)、排水管(51)及排水底管(53),所述进/排水池(5)的底部设置有进水控制阀(55)及进水分配管(54),所述好氧池(2)的底部设置有曝气装置,所述好氧池(2)的上部与厌氧池(3)相连通,所述厌氧池(3)的底部或靠近底部的侧面设置有若干进水口,所述N为不小于2的自然数;所述进/排水池(5)的底部设置有能控制进水的控制阀(55)及用于分散进水的进水分配管(54),所述进水分配管(54)上设置有若干进水孔。

2.根据权利要求1所述的污染水体净化处理装置,其特征在于:所述进/排水池(5)的排水泵(52)与排水底管(53)相连通;所述排水底管末端管口封闭,并在排水底管的管体上设置若干出水孔实现分散排水,所述排水底管延伸至河流底部。

3.根据权利要求2所述的污染水体净化处理装置,其特征在于:所述厌氧池(3)底部或靠近底部的侧面设置有进水口,所述进水口为进水小孔组成,所述进水小孔的进水总面积与排水池(5)的进水孔的进水总面积之比为1~8。

4.根据权利要求3所述的污染水体净化处理装置,其特征在于;所述厌氧池(3)的进水口上可设置提高污泥与进水混合效果的文丘里管(31),所述排水池(5)的进水孔上设置有进水分配管(54)。

5.根据权利要求1至4任一所述的污染水体净化处理装置,其特征在于:所述厌氧池(3)、好氧池(2)和排水池(5)内设置有用于聚集微生物的填料(6)。

6.根据权利要求1至4任一所述的污染水体净化处理装置,其特征在于:所述曝气装置包括曝气泵(7)与曝气管(71),伸入好氧池(2)底部的曝气管(71)的管体上设置有出气分管(72),所述出气分管(72)的管体端部设置有出气孔。

7.根据权利要求6所述的污染水体净化处理装置,其特征在于:所述过滤池(4)为填料(6)或滤料堆积形成的过滤层,所述过滤池内部设置有能对填料(6)或滤料进行曝气冲洗的曝气分管(73),所述曝气分管(73)与曝气管(71)相连通,所述曝气分管(73)的曝气量通过曝气阀(41)控制;所述两个进/排水池(5)的排水泵(52)分阶段运行,交替处于开启或关闭状态,同时所述进/排水池(5)的进水控制阀(55)交替处于关闭或开启状态;所述进/排水池(5)的进水控制阀(55)、所述进/排水池(5)的排水泵(52)、所述过滤池(4)的曝气阀(41)通过PLC控制器进行控制。

8.根据权利要求1至4任一所述的污染水体净化处理装置,其特征在于:所述壳体(1)由土工布、无纺布、硬质塑料、PVC板或钢板制作而成的不透水结构,所述不透水结构固定在框架上并通过浮体材料漂浮在水面上,或设置在水体底部;所述壳体所形成的水面上可放养水生植物。

9.根据权利要求1至4任一所述的污染水体净化处理装置,其特征在于:所述好氧池(2)与厌氧池(3)之间设置有能让水流通过的导流板(21),或,穿孔/管道。