欢迎来到知嘟嘟! 联系电话:13336804447 卖家免费入驻,海量在线求购! 卖家免费入驻,海量在线求购!
知嘟嘟
我要发布
联系电话:13336804447
知嘟嘟经纪人
收藏
专利号: 2018201329522
申请人: 湖州职业技术学院
专利类型:实用新型
专利状态:已下证
专利领域: 飞行器;航空;宇宙航行
更新日期:2023-08-24
缴费截止日期: 暂无
价格&联系人
年费信息
委托购买

摘要:

权利要求书:

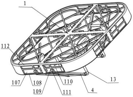
1.一种无人机旋翼保护装置,包括无人机(11)及设置在无人机(11)底部的一对支架(13),其特征在于,所述无人机(11)上设有旋翼保护装置,所述旋翼保护装置包括保护罩(1)、设置在保护罩(1)上的卡扣(7)及设置在保护罩(1)两侧的梯形支架(4),所述保护罩(1)的中心位置处设有凸台(2),所述凸台(2)与卡扣(7)相配合并通过卡扣(7)将保护罩(1)固定在无人机(11)上;所述梯形支架(4)的一端设有第一卡槽(6),并通过第一卡槽(6)与保护罩(1)卡接配合,所述梯形支架的另一端设有第二卡槽(5),并通过第二卡槽(5)与所述支架(13)卡接配合。

2.根据权利要求1所述的一种无人机旋翼保护装置,其特征在于,所述卡扣(7)包括卡扣本体(702)、设置在卡扣本体(702)中心位置卡接凸起(701)及设置在卡扣本体(702)两端的弧形折弯结构(703),所述卡扣本体(702)与其两端的弧形折弯结构(703)共同构成卡槽结构(704),所述无人机(11)表面设有弧边结构(12),所述卡槽结构(704)卡接贴合设置在弧边结构(12)上,所述卡接凸起(701)上设有凹槽(8),所述凹槽(8)与凸台(2)紧密配合,并通过凸台(2)将卡扣(7)固定在保护罩(1)上。

3.根据权利要求1所述的一种无人机旋翼保护装置,其特征在于,所述梯形支架(4)包括一对平行设置的纵向支架(401)及设置在一对纵向支架(401)之间的一组横向支架(402),所述第一卡槽(6)设置在纵向支架(401)的一端,所述第二卡槽(5)设置在纵向支架(401)的另一端。

4.根据权利要求1所述的一种无人机旋翼保护装置,其特征在于,所述保护罩(1)包括边框(101)及设置在边框(101)上平面中心位置且与边框(101)连接的十字支撑(102),所述十字支撑(102)将边框(101)上平面等分成四个四边形区域,且四个四边形区域相邻相互之间对称设置,所述四边形区域的两对角位置分别设有第一连接边(103)及第二连接边(104),所述第一连接边(103)上设有第三连接边(105),所述第三连接边(105)两端分别与十字支撑(102)相连,所述第二连接边(104)上设有弧形连接边(106),所述弧形连接边(106)横跨第一连接边(103),所述第一连接边(103)、第二连接边(104)、第三连接边(105)边及弧形连接边(106)共同构成保护网结构;所述边框(101)的四个侧面分别设有镂空结构(107),且在镂空结构(107)的上方形成顶边(112),下方形成底边(108)。

5.根据权利要求4所述的一种无人机旋翼保护装置,其特征在于,所述镂空结构(107)内设有横向连接边(110),所述横向连接边(110)上设有一对纵向连接边(109),所述纵向连接边(109)一端与顶边(112)连接,另一端与底边(108)连接,且纵向连接边(109)在靠近底边(108)的位置处设有n形框(111),并通过n形框(111)与底边(108)连接。