欢迎来到知嘟嘟! 联系电话:13336804447 卖家免费入驻,海量在线求购! 卖家免费入驻,海量在线求购!
知嘟嘟
我要发布
联系电话:13336804447
知嘟嘟经纪人
收藏
专利号: 2018115704405
申请人: 浙江工业大学
专利类型:发明专利
专利状态:已下证
专利领域: 有机化学〔2〕
更新日期:2023-08-24
缴费截止日期: 暂无
价格&联系人
年费信息
委托购买

摘要:

权利要求书:

1.一种管道化合成沙库必曲关键中间体的方法,其特征在于(S)-1-([1,1'-联苯]-4-基)-3-氯丙-2-醇、丁二酰亚胺、三苯基磷、偶氮二甲酸乙酯和有机溶剂进行混合,混合液连续地进入管道化反应器内进行反应,反应后的料液进入到淬灭液的淬灭釜中,制备得到(R)-1-(1–([1,1'-联苯]-4-基)-3-氯丙-2-基)吡咯烷-2,5-二酮,即得到所述沙库必曲关键中间体产品。

2.根据权利要求1所述的一种管道化合成沙库必曲关键中间体的方法,其特征在于具体包括以下步骤:

1)将(S)-1-([1,1'-联苯]-4-基)-3-氯丙-2-醇、三苯基膦和有机溶剂混合,配制形成溶液A;将丁二酰亚胺、偶氮二甲酸乙酯和有机溶剂混合,配制形成溶液B;

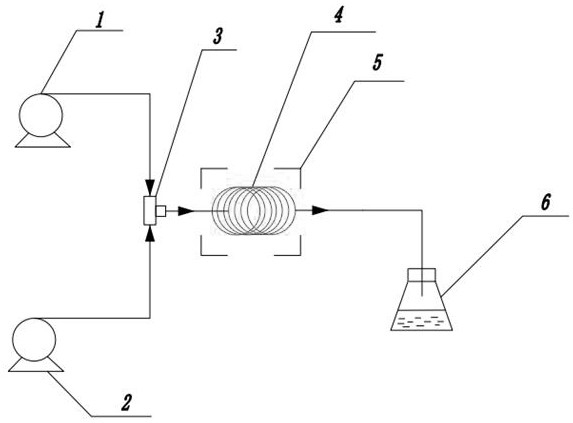
2)首先通过恒温槽(5)将管道化反应器(4)的温度控制在0 30℃;步骤1)所得溶液A和~溶液B分别经第一恒流泵(1)和第二恒流泵(2)输送,进入到T型混合器(3)内进行混合,混合液连续地进入管道化反应器(4)内进行反应,从管道化反应器(4)内流出的反应后的料液进入到盛有淬灭液的淬灭釜(6)中,进行淬灭反应,得到(R)-1-(1–([1,1'-联苯]-4-基)-3-氯丙-2-基)吡咯烷-2,5-二酮。

3.根据权利要求1所述的一种管道化合成沙库必曲关键中间体的方法,其特征在于所述管道化反应器为盘管结构,所述盘管的内径为1.0-3.0mm,盘管的总容积为4-50mL;混合液进入管道化反应器的流量为0.2 100mL/min。

~

4.根据权利要求3所述的一种管道化合成沙库必曲关键中间体的方法,其特征在于所述盘管的材质为聚四氟乙烯、不锈钢、玻璃、陶瓷或硅;混合液在管道化反应器内的停留时间是0.2 20min。

~

5.根据权利要求1所述的一种管道化合成沙库必曲关键中间体的方法,其特征在于有机溶剂为甲苯、四氢呋喃、甲基四氢呋喃或二氯甲烷。

6.根据权利要求1所述的一种管道化合成沙库必曲关键中间体的方法,其特征在于(S)-1-([1,1'-联苯]-4-基)-3-氯丙-2-醇、丁二酰亚胺、偶氮二甲酸乙酯和三苯基膦的投料摩尔比为1:1 2.0 :1.1 3.0:1.1 3.0。

~ ~ ~