欢迎来到知嘟嘟! 联系电话:13336804447 卖家免费入驻,海量在线求购! 卖家免费入驻,海量在线求购!
知嘟嘟
我要发布
联系电话:13336804447
知嘟嘟经纪人
收藏
专利号: 2018113760909
申请人: 中国矿业大学
专利类型:发明专利
专利状态:已下证
专利领域: 测量;测试
更新日期:2024-01-05
缴费截止日期: 暂无
价格&联系人
年费信息
委托购买

摘要:

权利要求书:

1.一种压力修正式气体渗透率计算方法,包括步骤1)、气体渗透率计算:最终得到试样(7)的渗透率k;其特征是,还包括步骤2)、气体压力修正计算:根据理想气体状态方程有:

PV=nRT                        (10),其中,P为理想气体的压强,V为理想气体的体积,n为气体物质的量,R为理想气体常数,T为热力学温度;

由此得知,当体积恒定的时候,在T1温度下有:P1V=nRT1                         (11),P1为在T1温度下的气压;

在T2温度下有:

P2V=nRT2                         (12),P2为在T2温度下的气压;

由此得到:

则有:

之后将换算得到的压力P2做为初始压力代入,重新推导计算渗透率k,即消除温度的影响,得到准确的气体渗透率k。

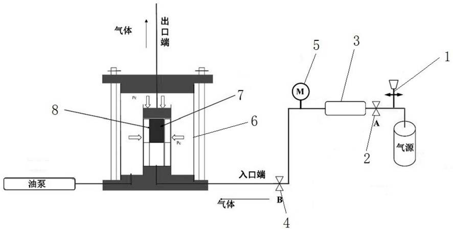
2.根据权利要求1所述的一种压力修正式气体渗透率计算方法,其特征是,所述步骤1)的具体过程如下:测量时,将试样(7)放置在压力室(6)的缸筒内部,并用氟橡胶套(8)包裹,之后打开气源与缓冲钢瓶(3)之间的阀门A(2),向缓冲钢瓶(3)中注入一定的压力P1,通过缓冲钢瓶(3)与压力室(6)之间的压力表(5)可以读出其值,之后关闭阀门A(2),打开阀门B(4),开始向试样(7)注入气体,从压力表(5)可以读出这一过程中的压力变化,经过Δt时刻,压力表(5)读数变为P1-ΔP,那么在Δt时间内,缓冲钢瓶(3)内的平均压力为:其中:P1为初始注入缓冲钢瓶(3)内的压力,称为初始压力;ΔP为打开阀门B(4)向试样(7)注气后,Δt时间内变化的压力值;Δt为变化的时间;Pmean为平均压力;

根据达西定律,可以知道在此时间段内通过的平均流量为其中:k为渗透率,A为流体的截面面积,μ为动粘度, 为对气压的偏导;Qmean为平均流量;

而根据理想气体状态方程,有

ΔPV0=PmeanQmeanΔt                (3)即

其中,V0为缓冲钢瓶(3)体积+缓冲钢瓶(3)到压力室(6)之间管路体积;

可压缩性气体在试样(7)中的分布服从如下函数:其中,h为试样(7)高度,t为时间,x为气体注气后在试样(7)中流动的距离;

对(5)式进行求导有:

当测量试样(7)入口端的气体渗透率,即气体进入渗透率,则取x=0,有其中:P0为一个大气压,其余符号与在先定义相同;

带入式(2)有

将式(8)与式(4)联立则可以得到入口端气体有效渗透率