欢迎来到知嘟嘟! 联系电话:13336804447 卖家免费入驻,海量在线求购! 卖家免费入驻,海量在线求购!
知嘟嘟
我要发布
联系电话:13336804447
知嘟嘟经纪人
收藏
专利号: 2018112504106
申请人: 江苏工程职业技术学院
专利类型:发明专利
专利状态:已下证
专利领域: 水利工程;基础;疏浚
更新日期:2024-01-05
缴费截止日期: 暂无
价格&联系人
年费信息
委托购买

摘要:

权利要求书:

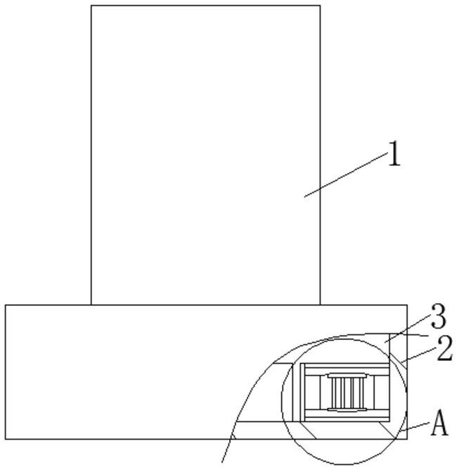
1.三维整体低层建筑隔震结构体系,包括建筑物(1)和地基(2),所述建筑物(1)的下端与地基(2)的上端固定连接,其特征在于:所述地基(2)的内部开设有地基坑(3),所述地基坑(3)上设有隔震装置;

所述隔震装置包括下底板(4),所述下底板(4)位于地基坑(3)的上端,所述下底板(4)的上端设有上底板(5),所述下底板(4)和上底板(5)之间设有横向减震装置和竖向减震装置;

所述横向减震装置包括滑动块(7),所述下底板(4)的上端、上底板(5)的下端均开设有弧形槽(6),两个所述弧形槽(6)上均滑动连接有滑动块(7),两个所述滑动块(7)之间设有橡胶圈(9);

所述竖向减震装置包括支撑柱(14),所述支撑柱(14)的两端分别与两个滑动块(7)的一端固定连接;

所述下底板(4)和上底板(5)之间固定连接有支撑块(15),所述支撑块(15)包括主钢板(151)、副钢板(152),多个所述副钢板(152)的相邻面均固定连接有减震片(153);

最上端所述主钢板(151)的下表面与一个减震片(153)的上表面固定连接,最下端所述主钢板(151)的上表面与一个减震片(153)的下表面固定连接,所述主钢板(151)上开设有通孔(154);

所述副钢板(152)和减震片(153)上均开设有圆槽(155),所述通孔(154)与圆槽(155)的轴心线在一条直线上,所述通孔(154)和圆槽(155)的内壁均固定连接有橡胶管(156);

所述橡胶管(156)的内壁固定连接有钢管(157),所述钢管(157)的两侧内壁之间固定连接有钢板(158),所述钢板(158)上开设有直孔(159);

所述钢管(157)内设有钢筋(16),所述钢筋(16)呈不规则形,所述钢筋(16)的一端通过直孔(159)延伸至通孔(154)的外端,所述钢管(157)的内部固定连接有混凝土(17);

两个所述支撑柱(14)位于两个橡胶圈(9)的外端,所述橡胶圈(9)的内壁固定连接有上下两个支柱(8),上下两个所述支柱(8)之间固定连接有减震弹簧(10);

上下两个所述支柱(8)上均开设有曲形槽(11),所述下底板(4)和上底板(5)上均开设有滚珠槽(13),所述滚珠槽(13)内设有滚珠(12),所述滚珠槽(13)的内壁与滚珠(12)的外表面相适配,所述滚珠(12)的一端与曲形槽(11)的表面固定连接。

2.根据权利要求1所述的三维整体低层建筑隔震结构体系,其特征在于:所述隔震装置的外端固定连接有防腐层(18),所述防腐层(18)包括聚四氟乙烯防腐剂、环氧树脂防腐剂。