欢迎来到知嘟嘟! 联系电话:13336804447 卖家免费入驻,海量在线求购! 卖家免费入驻,海量在线求购!
知嘟嘟
我要发布
联系电话:13336804447
知嘟嘟经纪人
收藏
专利号: 2018112405717
申请人: 徐雪娇
专利类型:发明专利
专利状态:已下证
专利领域: 卷扬;提升;牵引
更新日期:2026-03-02
缴费截止日期: 暂无
价格&联系人
年费信息
委托购买

摘要:

权利要求书:

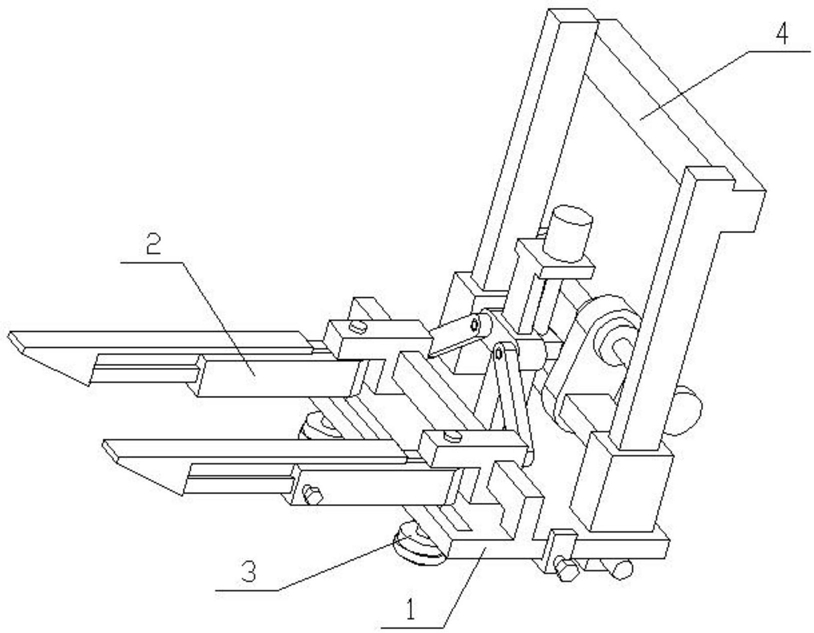
1.一种叉车前货叉结构,包括连接座(1)、叉杆组件(2)、滑块机构(3)和门架(4),其特征在于:所述叉杆组件(2)的一端固定连接在连接座(1)上,叉杆组件(2)的一端滑动连接在连接座(1)上,滑块机构(3)滑动连接在连接座(1)的下端,滑块机构(3)通过链条与叉杆组件(2)传动,门架(4)滑动连接在连接座(1)的右端,连接座(1)与门架(4)啮合传动;

所述连接座(1)包括座板(1-1)、滑轨杆(1-2)、滑孔(1-3)、空心套(1-4)、连接梁(1-5)、双轴电机架(1-6)、双轴电机(1-7)、齿轮I(1-8)、梯形凸条(1-9)、拉伸弹簧(1-10)和弹簧座(1-11),座板(1-1)的左端设置有滑孔(1-3),座板(1-1)的上端固定连接有滑轨杆(1-2),滑轨杆(1-2)位于滑孔(1-3)的右端,座板(1-1)右端的前后两端均固定连接有空心套(1-4),两个空心套(1-4)之间固定连接有连接梁(1-5),连接梁(1-5)的中端固定连接有双轴电机架(1-6),双轴电机架(1-6)上固定连接有双轴电机(1-7),双轴电机(1-7)的前后两个输出轴上均固定连接有齿轮I(1-8),座板(1-1)下端面的中间位置固定连接有梯形凸条(1-9),座板(1-1)的右端中间位置固定连接有弹簧座(1-11),拉伸弹簧(1-10)的右端固定连接在弹簧座(1-11)的左侧;

所述叉杆组件(2)包括竖板(2-1)、电机(2-2)、电机座板(2-3)、丝杠(2-4)、竖向滑块(2-5)、等臂杆(2-6)、紧固螺钉I(2-7)、链轮I(2-8)、尖头(2-9)、前叉杆(2-10)、后叉杆(2-

11)、凸块(2-12)、固定轴(2-13)和滑套(2-14),竖板(2-1)固定连接在座板(1-1)的上端,竖板(2-1)上滑动连接有竖向滑块(2-5),竖向滑块(2-5)的前后两端均铰接连接有等臂杆(2-

6),竖板(2-1)的上端固定连接有电机座板(2-3),电机座板(2-3)上固定连接有电机(2-2),电机(2-2)的下端输出轴上通过联轴器固定连接有丝杠(2-4),丝杠(2-4)通过螺纹与竖向滑块(2-5)相配合,两个等臂杆(2-6)的另一端分别铰接连接在两个滑套(2-14)上,两个滑套(2-14)均滑动连接在滑轨杆(1-2)上,两个滑套(2-14)的左上端均固定连接有凸块(2-

12),后叉杆(2-11)设置有两个,两个后叉杆(2-11)的右端均固定连接有固定轴(2-13),两个固定轴(2-13)的上端分别转动连接在两个凸块(2-12)上,两个后叉杆(2-11)的下端面均与座板(1-1)的上端面相贴合,两个固定轴(2-13)的下端均固定连接在滑孔(1-3)上,两个固定轴(2-13)的下端均固定连接有链轮I(2-8),两个后叉杆(2-11)的左端均滑动连接有前叉杆(2-10),两个前叉杆(2-10)的左端均固定连接有尖头(2-9),两个后叉杆(2-11)上均通过螺纹连接有紧固螺钉I(2-7),两个紧固螺钉I(2-7)分别顶在两个前叉杆(2-10)上,两个固定轴(2-13)的上端均通过螺纹连接有紧固螺母,紧固螺母位于凸块(2-12)的上端,紧固螺母压紧在凸块(2-12)上;

所述滑块机构(3)包括横向滑块(3-1)、弹簧拉板(3-2)、短轴(3-3)、链轮II(3-4)、齿轮II(3-5)、侧伸杆(3-6)和紧固螺钉II(3-7),横向滑块(3-1)滑动连接在梯形凸条(1-9)上,横向滑块(3-1)的前后两端均固定连接有侧伸杆(3-6),两个侧伸杆(3-6)的外端均通过螺纹连接有紧固螺钉II(3-7),两个紧固螺钉II(3-7)分别顶在座板(1-1)的前后端面上,横向滑块(3-1)下端面的右端固定连接有弹簧拉板(3-2),拉伸弹簧(1-10)的左端固定连接在弹簧拉板(3-2)的右侧,横向滑块(3-1)的下端通过轴承座前后对称转动连接有两个短轴(3-

3),两个短轴(3-3)上均固定连接有齿轮II(3-5),两个齿轮II(3-5)相互啮合传动,两个短轴(3-3) 的下端均固定连接有链轮II(3-4),两个链轮II(3-4)分别与两个链轮I(2-8)通过链条传动连接;

所述门架(4)包括门柱(4-1)、齿条槽(4-2)、限位圆柱(4-3)和上连臂(4-4),两个门柱(4-1)的上端之间固定连接有上连臂(4-4),两个门柱(4-1)的右侧均设置有齿条槽(4-2),两个齿条槽(4-2)内均固定连接有齿条,两个门柱(4-1)的下端分别滑动连接在两个空心套(1-4)上,两个门柱(4-1)均穿过座板(1-1),两个门柱(4-1)的下端均固定连接有限位圆柱(4-3),两个限位圆柱(4-3)均位于座板(1-1)的下端,两个齿轮I(1-8)分别与两个齿条槽(4-2)内的齿条相啮合。