欢迎来到知嘟嘟! 联系电话:13336804447 卖家免费入驻,海量在线求购! 卖家免费入驻,海量在线求购!
知嘟嘟
我要发布
联系电话:13336804447
知嘟嘟经纪人
收藏
专利号: 2018112047844
申请人: 陈硕
专利类型:发明专利
专利状态:已下证
专利领域: 家具;家庭用的物品或设备;咖啡磨;香料磨;一般吸尘器
更新日期:2025-12-12
缴费截止日期: 暂无
价格&联系人
年费信息
委托购买

摘要:

权利要求书:

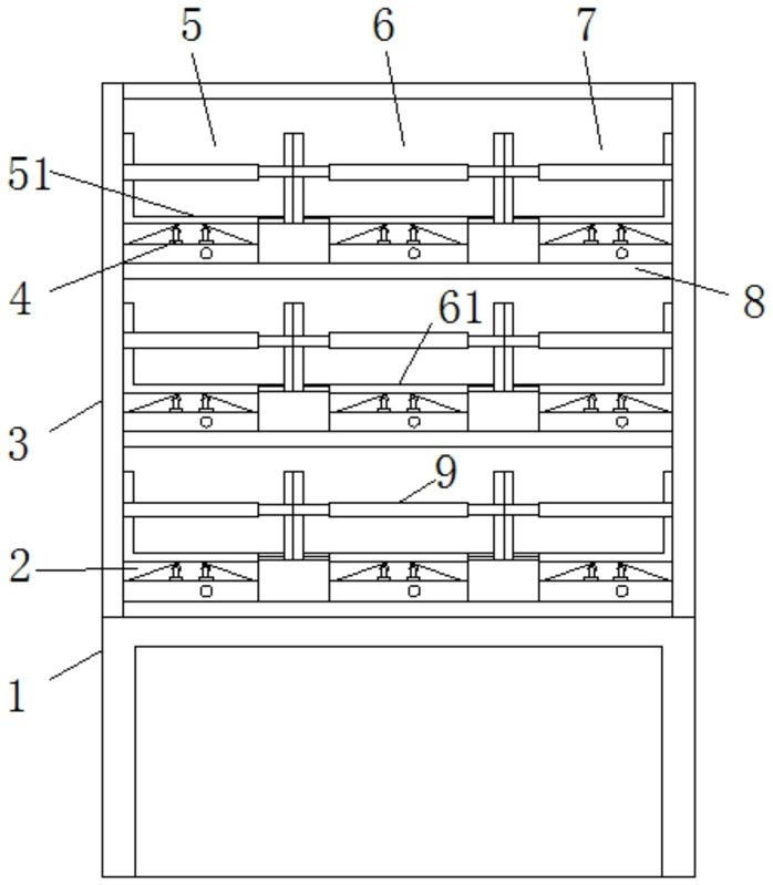
1.一种可对书籍进行升降的书桌,包括桌体(1)以及固定在桌体(1)上的书架(3),其特征在于:所述书架(3)上有多个水平横置的隔板(8),所述隔板(8)上表面中部有第二托书组件(6),且第二托书组件(6)的两侧对称设置有第一托书组件(5)和第三托书组件(7);

所述第二托书组件(6)包括托板二(61),所述托板二(61)底部通过提升机构(4)连接隔板(8),所述托板二(61)底部与隔板(8)之间还通过导向组件连接;

所述提升机构(4)包括固定在隔板(8)上的升降盒(41)和固定在托板二(61)底部呈“八”字型对称结构的楔形块(2),所述升降盒(41)内部通过支架(48)定轴转动连接转轴(45),所述转轴(45)的下端连接涡轮蜗杆组件(47),所述转轴(45)两侧分别通过连杆(46)连接滑块(43),且滑块(43)上端通过滚轮(44)滚动连接对应的楔形块(2);

所述第一托书组件(5)和第三托书组件(7)结构对称,以第一托书组件(5)为例,第一托书组件(5)包括托板一(51),所述托板一(51)底部通过提升机构(4)连接隔板(8);

所述托板一(51)为L型板,且提升机构(4)中的两个所述楔形块(2)分别固定在托板一(51)的水平段底面两端;

所述托板二(61)的两端部均设置有扩展机构,所述扩展机构包括插接在托板二(61)内部的延伸板(63),且延伸板(63)位于托板二(61)外侧的端部固定有垂直向上挡板(64),且托板二(61)两侧的挡板(64)之间连接有伸缩套杆(9);

伸缩套杆随扩展机构变长变短;

将同等高度的书籍分类并放置在同一个托书组件中的托板上,两个楔形块受到的合力使得托板升起;

通过将同等高度的书籍放置在同一个托书组件中,并利用提升机构将书本的顶部与上一隔板的底面贴合这样避免书籍顶部积落灰尘,托板的升起使得托板与隔板之间形成空隙便于对隔板进行清洁。

2.根据权利要求1所述的一种可对书籍进行升降的书桌,其特征在于:所述转轴(45)通过销轴与两个所述连杆(46)呈Z字型中心对称连接,且连杆(46)的端部通过销轴铰接连接滑块(43),所述滑块(43)滑动连接在升降盒(41)上的滑槽(42)内。

3.根据权利要求1所述的一种可对书籍进行升降的书桌,其特征在于:所述托板二(61)上表面开设有滑槽(62),且延伸板(63)的上表面有与滑槽(62)对应的凸起平台(631),且凸起平台(631)上表面与托板二(61)上表面平齐。

4.根据权利要求3所述的一种可对书籍进行升降的书桌,其特征在于:所述托板一(51)的水平段指向第二托板组件(6)的一端也设置有扩展机构,且该扩 展机构上的挡板(64)与托板一(51)的竖直段之间连接有伸缩套杆(9)。

我要求购
我不想找了,帮我找吧
您有专利需要变现?
我要出售
智能匹配需求,快速出售