欢迎来到知嘟嘟! 联系电话:13336804447 卖家免费入驻,海量在线求购! 卖家免费入驻,海量在线求购!
知嘟嘟
我要发布
联系电话:13336804447
知嘟嘟经纪人
收藏
专利号: 2018110732292
申请人: 衡阳师范学院
专利类型:发明专利
专利状态:已下证
专利领域: 测量;测试
更新日期:2024-01-05
缴费截止日期: 暂无
价格&联系人
年费信息
委托购买

摘要:

权利要求书:

1.一种利用表层土壤静态测量土壤潜势氡浓度的方法,其特征在于:包括采样过程和测量计算过程;

S1、采样过程:

利用通过螺纹连接有环刀手柄、体积为V的钢制环刀,切割自然状态的土壤,使土样充满其中,不可左右摇动,以使土壤自然结构不被破坏,直到环刀全部压入土中,然后用小铲将环刀从土中挖出,取下手柄,并用小刀仔细沿环刀两端边缘修整削平,切除多余的土壤;

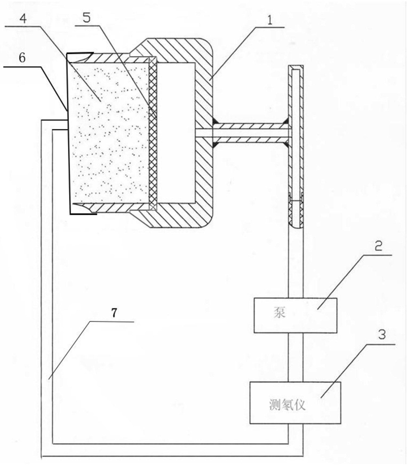
修整完成后,将取好样的环刀上端盖上滤膜,下端盖上密封盖;然后再通过螺纹连接环刀手柄组成土壤切割装置,土壤切割装置通过气路管道与测氡仪和气泵连接,组成一个闭环气路测量装置;

S2、测量计算过程:

在一维稳定状态下,只考虑均匀土壤介质中氡的扩散作用,建立氡在土壤中运移与分布的微分方程如下:式中,De为氡的有效扩散系数,单位为m2·s-1;C(x)为土壤中深度为x处的氡浓度,单位为Bq·m-3;x为土壤深度,单位为m;λ为氡的衰变常数,其值为2.1×10-6s-1;η为土壤孔隙率,其为无量纲数;A为土壤中氡的产生率,单位为Bq·m-3·s-1;

由于土壤表面空气氡浓度很低,得到边界条件:C|x=0=0.土壤无穷深处,土壤氡浓度不可能为无穷大,得到边界条件:C|x=∞有界;

对式(1)求解并带入边界条件得到:

土壤潜势氡浓度为土壤无穷深处的氡浓度,即:

启动气泵,将测量装置内氡混合均匀,测量装置中氡浓度的变化规律如下:式中,V1是采样土壤的体积;V3是测量装置气路及测氡仪内空间总体积;C(t)为时间为t时测量装置内的氡浓度,单位为Bq·m-3;

当测量装置内氡浓度趋于稳定时,由测氡仪对测量装置内的氡浓度进行测量,氡浓度记为C1,此时式(1)变化为:

停止气泵,在测量装置气路中添加一个体积为V4的空腔,启动气泵,待测量装置内氡浓度再次趋于稳定时,此时氡浓度为C2,有:将相关参数代入式(5)、式(6)求解,得到土壤中氡的产生率A和土壤孔隙率η;

将A和η的值代入式(3),求得土壤潜势氡浓度。

2.一种利用表层土壤静态测量土壤潜势氡浓度的装置,其特征在于:所述装置为闭环气路测量装置,其由土壤切割装置、密封盖、气泵及测氡仪通过气路管道连接后组成;

所述土壤切割装置由环刀手柄、环刀组成;所述环刀手柄的一端设有环形开口腔,所述环形开口腔的端口设有台阶孔,所述台阶孔的端口设有与所述环刀连接的内螺纹,所述环形开口腔的底部中心设有中心孔,所述环刀手柄的另一端焊接有一根与所述中心孔相通的直通管,所述直通管的另一端焊接有一根一端封闭一端开口的直管手柄,所述直管手柄上的排气孔与所述直通管的内孔相通;所述直管手柄上的排气孔通过气路管道与所述气泵的一端连接;所述气泵的另一端通过气路管道与所述测氡仪的一端连接,所述测氡仪的另一端通过气路管道与所述密封盖连接;所述环刀的一端设有刀口,另一端设有与所述环刀手柄连接的外螺纹。

3.根据权利要求2所述的利用表层土壤静态测量土壤潜势氡浓度的装置,其特征在于:所述密封盖中心设有中心孔,所述中心孔焊接有直通管,所述直通管通过气路管道与所述测氡仪连接,所述密封盖盖在所述环刀有刀口的一端。

4.根据权利要求2所述的利用表层土壤静态测量土壤潜势氡浓度的装置,其特征在于:所述密封盖带有密封垫。

5.根据权利要求2所述的利用表层土壤静态测量土壤潜势氡浓度的装置,其特征在于:所述外螺纹不高于环刀外表面。

6.根据权利要求2所述的利用表层土壤静态测量土壤潜势氡浓度的装置,其特征在于:所述环刀手柄与所述环刀连接处是一斜面。