欢迎来到知嘟嘟! 联系电话:13336804447 卖家免费入驻,海量在线求购! 卖家免费入驻,海量在线求购!
知嘟嘟
我要发布
联系电话:13336804447
知嘟嘟经纪人
收藏
专利号: 201810987939X
申请人: 衡阳师范学院
专利类型:发明专利
专利状态:已下证
专利领域: 测量;测试
更新日期:2024-01-05
缴费截止日期: 暂无
价格&联系人
年费信息
委托购买

摘要:

权利要求书:

1.一种利用表层土壤动态测量土壤潜势氡浓度的方法,其特征在于:包括采样过程和测量计算过程;

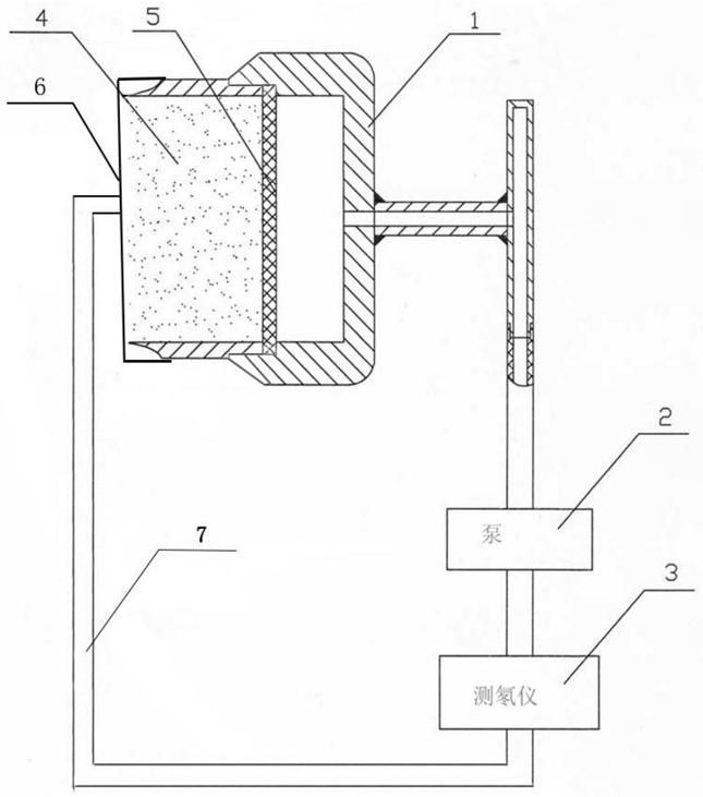
S1、采样过程:利用通过螺纹连接有环刀手柄、体积为V的钢制环刀,切割自然状态的土壤,使土样充满其中,不可左右摇动,以使土壤自然结构不被破坏,直到环刀全部压入土中,然后用小铲将环刀从土中挖出,取下手柄,并用小刀仔细沿环刀两端边缘修整削平,切除多余的土壤;修整完成后,将取好样的环刀上端盖上滤膜,下端盖上密封盖,然后再通过螺纹连接环刀手柄,将土壤切割装置通过管道与测氡仪和气泵连接,组成一个闭环气路测量装置;

S2、测量计算过程:在一维稳定状态下,只考虑均匀土壤介质中氡的扩散作用,建立氡在土壤中运移与分布的微分方程如下:

2 ‑1

式中,De为氡的有效扩散系数,单位为m·s ;C(x)为土壤中深度为x处的氡浓度,单位‑3 ‑6 ‑1

为Bq·m ;x为土壤深度,单位为m;λ为氡的衰变常数,其值为2.1×10 s ;η为土壤孔隙率,‑3 ‑1

其为无量纲数;A为土壤中氡的产生率,单位为Bq·m ·s ;由于土壤表面空气氡浓度很低,得到边界条件:C|x=0=0.土壤无穷深处,土壤氡浓度仍然不可能为无穷大,得到边界条件:C|x=∞有界;对式(1)求解并带入边界条件得到:土壤氡潜势为土壤无穷深处的氡浓度,即:启动气泵,将测量系统内氡混合均匀,考虑泄漏和反扩散效应,测量系统中氡浓度的变化规律如下:

式中,V1是采样土壤的体积;V3是测量装置气路及测氡仪内空间总体积;C(t)为时间为t‑3

时测量系统内的氡浓度,单位为Bq·m ;λe为有效衰变常数,包含氡的衰变常数,泄漏系数及反扩散系数;式(4)的解为:

式中a是任意常数;测氡仪以T为测量周期,T为2‑20分钟,测量n个测量周期,n大于等于

3;每个测量周期的测量值认为是测量周期中点的测量值;

式中,m为常数,m的值可以通过下面任意一种算法计算得出:算法1:利用第一个测量周期的值,反推得到式(5)中a的值,然后利用n个测量周期的值对式(5)进行非线性拟合,得到的值m;算法2:直接利用n个测量周期的值对式(5)进行非线性拟合,得到 的值m;停止气泵,在测量装置气路中添加一个体积为V4的空腔,启动气泵,将氡混合均匀,此时测量装置内氡浓度的变化规律为:

式中a是任意常数;测氡仪以T为测量周期,T为2‑20分钟;测量n个测量周期,n大于等于

3;每个测量周期的测量值认为是测量周期中点的测量值;

式中,k为常数,k的值可以通过以下两种算法中任意一种计算得出:算法1:利用第一个测量周期的值,反推得到式(7)中a的值,然后利用n个测量周期的值对式(7)进行非线性拟合,得到 的值k:算法2:直接利用n个测量周期的值对式(7)进行非线性拟合,得到 的值k;

将相关参数代入式(6)、式(8)求解,得到土壤孔隙率η和土壤中氡的产生率A;将土壤孔隙率η和土壤中氡的产生率A的值代入式(3),得到土壤潜势氡浓度。