欢迎来到知嘟嘟! 联系电话:13336804447 卖家免费入驻,海量在线求购! 卖家免费入驻,海量在线求购!
知嘟嘟
我要发布
联系电话:13336804447
知嘟嘟经纪人
收藏
专利号: 2018110505890
申请人: 临沂大学
专利类型:发明专利
专利状态:已下证
专利领域: 一般的物理或化学的方法或装置
更新日期:2024-11-18
缴费截止日期: 暂无
价格&联系人
年费信息
委托购买

摘要:

权利要求书:

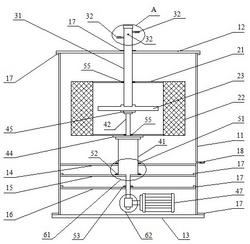
1.一种超重力微反应装置,其特征在于:包括壳体总成、超重力微反应系统、进样轴和动力传动系统;所述壳体总成由外壳、顶板、底座、隔板和用于连接固定的固定件组成,其中外壳、顶板和第一隔板组成反应腔室,在位于所述反应腔室下部的外壳上设置有出样口;所述超重力微反应系统由转鼓、填料层和微反应盘组成,填料层与转鼓形成密闭腔,微反应盘置于密闭腔中部,且微反应盘外缘与填料层之间的水平距离为10~100mm;所述进样轴通过固定件与顶板固定,在高出顶板一端设有进样口,进样轴内部设有进样管;其中,进样口与进样轴的轴向方向垂直,进样管与进样轴的轴向方向平行;

所述动力传动系统包括传动轴、电机和轴承,其中第一传动轴为空心装置,所述第一传动轴在穿过第二隔板上的第二轴承和第一隔板上的第一轴承后通过1#固定底座与转鼓连接;所述第二传动轴穿过第三隔板上的第三轴承、第二隔板上的第四轴承和第一传动轴的空心部分后通过2#固定底座与微反应盘连接;

所述动力传动系统还包括1#联动装置,包括设在第一传动轴内壁上的内齿圈、第二传动轴上的1#齿轮和2#齿轮组,通过固定架和固定轴来固定2#齿轮组的相对位置,最终实现转鼓及填料层与微反应盘之间的同轴反向转动;

所述第二转动轴与转鼓之间通过密封圈密封连接;所述进样轴、转鼓、密闭腔、微反应盘、第一传动轴、第二传动轴具有共同的轴心线。

2.根据权利要求1所述的超重力微反应装置,其特征在于:所述微反应盘由上盘和下盘组成并通过螺栓将上下盘固定,上盘与下盘之间形成混料腔和微反应通道,混料腔位于微反应盘的中心位置并由多个挡板均匀分割,微反应通道与混料腔连通且其尺寸随着向微反应盘的外缘的延伸而缩小,并在接近于微反应盘外缘处呈扩径结构;上盘轴心位置设置有圆孔,圆孔外缘设有高于上盘外表面的台面;下盘内侧轴心位置设有柱状凹槽;

进样轴内部还设有与进样口连通的环形进料腔,所述环形进料腔与进样轴同轴心;所述进样轴在穿过上盘的圆孔后尺寸收缩呈锥形结构并在最末端形成实心柱状凸起并楔入到下盘的柱状凹槽中;进样管与环形进料腔的底部连通并延伸至进样轴的锥形面上;进样轴与转鼓之间、进样轴与圆孔之间、柱状凸起与柱状凹槽之间均通过密封圈连接。

3.根据权利要求2所述的超重力微反应装置,其特征在于:进样轴上设有多个环形进料腔及与之连接的进样口,所述环形进料腔的环形半径随其与进样轴顶端轴向距离的增加而增大。

4.根据权利要求2所述的超重力微反应装置,其特征在于:所述微反应通道尺寸范围为

0.01~5mm并呈直线型放射状或弧线型放射状分布。

5.根据权利要求1所述的超重力微反应装置,其特征在于:还包括雾化盘,所述雾化盘通过3#固定底座与进样轴连接;进样管与进样口连接并延伸至进样轴的末端;所述雾化盘中心位置设有与进样管位置相对应且呈文丘里形的进样孔道;微反应盘与雾化盘的间距为

0.01~1mm,微反应盘的顶面与雾化盘的底面分布有尺寸范围为0.01~5mm微反应凹槽。

6.根据权利要求5所述的超重力微反应装置,其特征在于:所述雾化盘及微反应盘上微反应凹槽均呈蜂窝状分布。

7.根据权利要求5所述的超重力微反应装置,其特征在于:所述雾化盘底面微反应凹槽呈蜂窝状分布;在微反应盘顶面,雾化盘投影部位的微反应凹槽呈蜂窝状分布,投影部位之外处的微反应凹槽呈直线型放射状分布或弧型放射状分布。

8.根据权利要求1-7任一项所述的超重力微反应装置,其特征在于:电机与第三传动轴连接,并通过2#联动装置带动第二传动轴转动;所述2#联动装置由套在第二转动轴上的1#锥齿轮和套在第三传动轴上的2#锥齿轮组成。

9.根据权利要求8所述的超重力微反应装置,其特征在于:通过改变1#锥齿轮和2#锥齿轮之间的齿数比调整第二转动轴与第三转动轴之间的转速比为(0.5~2):1。

10.根据权利要求8所述的超重力微反应装置,其特征在于:通过改变1#齿轮、2#齿轮以及内齿圈之间的齿数比使微反应盘与转鼓之间的转速比为(1~5):1。