欢迎来到知嘟嘟! 联系电话:13336804447 卖家免费入驻,海量在线求购! 卖家免费入驻,海量在线求购!
知嘟嘟
我要发布
联系电话:13336804447
知嘟嘟经纪人
收藏
专利号: 2018110011462
申请人: 池州市千润宇信息技术有限公司
专利类型:发明专利
专利状态:已下证
专利领域: 输送;包装;贮存;搬运薄的或细丝状材料
更新日期:2026-03-02
缴费截止日期: 暂无
价格&联系人
年费信息
委托购买

摘要:

权利要求书:

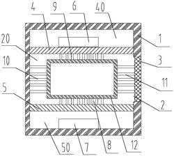
1.一种恒温采样箱,其特征在于,包括外箱和内箱;

外箱(1)一侧设有门洞(2),且外箱(1)上活动安装有门板(3),门板(3)第一状态下堵塞门洞,外箱(1)形成密封结构;门板(3)第二状态下,门洞(2)敞开;

外箱(1)内部安装有第一隔板(4)和第二隔板(5),第一隔板(4)位于第二隔板(5)上方,第一隔板(4)与外箱(1)配合形成第一腔室(40),第二隔板(5)与外箱(1)配合形成第二腔室(50),第一腔室(40)内安装有制冷装置(6),第二腔室(50)内安装有制热装置(7);

外箱(1)内部位于第一隔板(4)和第二隔板(5)之间为第三腔室(20),第三腔室(20)与门洞(2)连通;

第三腔室(20)内安装有托部(8)、压部(9)和围部(10),门板(3)内侧安装有挡部(11),门板第一状态下,托部(8)、压部(9)、围部(10)和挡部(11)相配合围成一个与内箱(12)外周匹配的限位结构,内箱(12)用于盛放采样样品;

托部(8)由垂直安装在第二隔板(5)上的多根第一支杆组成,压部(9)由垂直安装在第一隔板(4)上的多根第二支杆组成,围部(10)由垂直安装在外箱围壁上的多根第三支杆组成,挡部(11)由垂直安装在门板(3)上的多根第四支杆组成;

托部(8)、压部(9)、围部(10)和挡部(11)均为板状结构,门板第一状态下,托部(8)、压部(9)、围部(10)和挡部(11)配合形成一个用于包覆内箱(12)的密封结构。

2.如权利要求1所述的恒温采样箱,其特征在于,外箱(1)为内箱(12)的放大结构。

3.如权利要求1所述的恒温采样箱,其特征在于,第一腔室(40)和第二腔室(50)均为密封腔室,外箱围壁外部设有分别连接并控制制冷装置(6)和制热装置(7)的控制开关。

4.如权利要求1至3任一项所述的恒温采样箱,其特征在于,外箱(1)外部设有手提部件,手提部件位于第一隔板(4)远离第二隔板(5)的一侧。