欢迎来到知嘟嘟! 联系电话:13336804447 卖家免费入驻,海量在线求购! 卖家免费入驻,海量在线求购!
知嘟嘟
我要发布
联系电话:13336804447
知嘟嘟经纪人
收藏
专利号: 2020219818198
申请人: 中乾(江苏)检测技术服务有限公司
专利类型:实用新型
专利状态:已下证
专利领域: 测量;测试
更新日期:2025-02-27
缴费截止日期: 暂无
价格&联系人
年费信息
委托购买

摘要:

权利要求书:

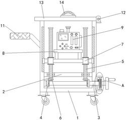
1.一种防倒吸恒流空气采样器,包括收纳箱(1),其特征在于:所述收纳箱(1)的顶端呈开口设置,所述收纳箱(1)的内腔左右侧均与固定板(2)固定连接,所述收纳箱(1)的右端转动连接有一端贯穿并延伸至收纳箱(1)内部且与收纳箱(1)的内腔左侧壁相转动连接的转杆(3),所述转杆(3)的外部固定安装有数量为两个的第一锥形齿轮(4),所述固定板(2)顶端转动连接有数量为两个且一端贯穿并延伸至固定板(2)底端的螺丝杆(5),所述螺丝杆(5)位于转杆(3)的上方,两个所述螺丝杆(5)的底端均固定安装有与第一锥形齿轮(4)相啮合的第二锥形齿轮(6),两个所述螺丝杆(5)的外部均螺纹连接有轴套(7),两个所述轴套(7)的相对一侧均与安装板(8)相固定连接,所述安装板(8)的顶端固定安装有恒流空气采样器本体(9),所述收纳箱(1)的右端固定安装有与转杆(3)相卡接的限位机构(10),所述收纳箱(1)的左端固定安装有扶手(11),所述收纳箱(1)的右端固定安装有转轴(12),所述转轴(12)的内部转动连接有与收纳箱(1)顶端相接触的箱盖(13),所述箱盖(13)的顶端固定安装有把手(14)。

2.根据权利要求1所述的一种防倒吸恒流空气采样器,其特征在于:所述收纳箱(1)的内腔左右侧壁均开设有滑槽,两个所述轴套(7)的相背一侧均固定安装有与滑槽相适配的滑块。

3.根据权利要求1所述的一种防倒吸恒流空气采样器,其特征在于:所述限位机构(10)包括齿环(101),所述转杆(3)的外部滑动连接有齿环(101),所述收纳箱(1)的右端固定安装有与齿环(101)相卡接的限位座(102)。

4.根据权利要求3所述的一种防倒吸恒流空气采样器,其特征在于:所述限位座(102)的右端固定安装有第一磁铁,所述齿环(101)的左端固定安装有与第一磁铁相互吸附的第二磁铁。

5.根据权利要求1所述的一种防倒吸恒流空气采样器,其特征在于:所述转轴(12)呈U型,所述转轴(12)内侧固定安装有转动杆,所述转轴(12)内侧通过转动杆转动连接有箱盖(13),两个所述螺丝杆(5)的外螺纹相反。

6.根据权利要求1所述的一种防倒吸恒流空气采样器,其特征在于:所述收纳箱(1)的底部四角均固定安装有滚轮,右方两个所述滚轮为万向轮,左方两个所述滚轮为定向轮。