欢迎来到知嘟嘟! 联系电话:13336804447 卖家免费入驻,海量在线求购! 卖家免费入驻,海量在线求购!
知嘟嘟
我要发布
联系电话:13336804447
知嘟嘟经纪人
收藏
专利号: 2018108253571
申请人: 嘉兴市全顺旅游用品有限公司
专利类型:发明专利
专利状态:已下证
专利领域: 医学或兽医学;卫生学
更新日期:2024-07-22
缴费截止日期: 暂无
价格&联系人
年费信息
委托购买

摘要:

权利要求书:

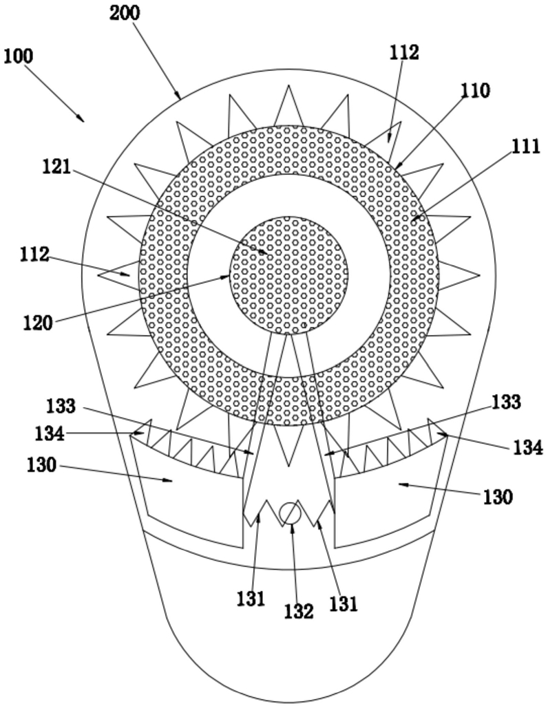
1.一种医用电动牙刷,包括刷头(100)、刷体(200)、手柄,所述刷体(200)设有与所述刷头(100)连接的电源模块和控制模块,其特征在于:所述刷头(100)包括刷圈(110)、第一刷毛(111)、刷盘(120)、第二刷毛(121)、震动块(130)、第一弹簧(131)、固定块(132)、第一电机(113)、第一连杆(133);

所述第一电机(113)与所述刷体(200)固定,所述第一电机(113)的输出轴与所述刷圈(110)固定,所述刷圈(110)的外圆周面均匀分布多个第一齿(112),所述刷圈(110)的下侧设有固定块(132),所述固定块(132)与所述刷体(200)固定,所述固定块(132)的与第一弹簧(131)的一端固定,所述第一弹簧(131)的另一端与所述震动块(130)固定,所述震动块(130)的朝向刷圈(110)的表面设有第二齿(134),所述第二齿(134)与第一齿(112)接触;

所述震动块(130)与第一连杆(133)的一端固定,所述第一连杆(133)的另一端与所述刷盘(120)固定,所述刷盘(120)套装在所述刷圈(110)内,并与刷圈(110)间隙配合;

其中,刷圈(110)设有第一刷毛(111),所述刷盘(120)设有第二刷毛(121);

所述刷体(200)与所述手柄之间通过套箱(300)连接,所述套箱(300)与手柄的顶部固定,所述套箱(300)的内部的底部与第三弹簧(303)的一端连接,所述第三弹簧(303)的另一端与所述刷体(200)的底部连接,所述刷圈(110)的外圆周面固定有第一永磁铁(301),所述套箱(300)的内部的顶部固定有第二永磁铁(302)。

所述第一弹簧(131)、第一连杆(133)、震动块(130)均沿所述刷体(200)的中线对称地配置两组,所述刷盘(120)和刷体(200)之间上设有第二弹簧。

2.根据权利要求1所述的一种医用电动牙刷,其特征在于:所述第二齿(134)的齿间隙小于第一齿(112)的齿间隙。

3.根据权利要求1所述的一种医用电动牙刷,其特征在于:所述套箱(300)内纵向地设置有第一导轨(304),所述刷体(200)沿第一导轨(304)纵向移动。

我要求购
我不想找了,帮我找吧
您有专利需要变现?
我要出售
智能匹配需求,快速出售