欢迎来到知嘟嘟! 联系电话:13336804447 卖家免费入驻,海量在线求购! 卖家免费入驻,海量在线求购!
知嘟嘟
我要发布
联系电话:13336804447
知嘟嘟经纪人
收藏
专利号: 2017105142017
申请人: 福建省泉州南飞鸟鞋业有限公司
专利类型:发明专利
专利状态:已下证
专利领域: 医学或兽医学;卫生学
更新日期:2024-11-12
缴费截止日期: 暂无
价格&联系人
年费信息
委托购买

摘要:

权利要求书:

1.一种医用电动刷牙机,其特征在于:包括

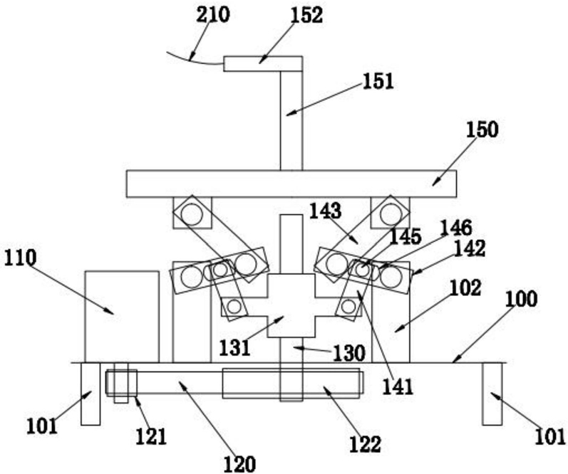
第一往复运动部(100),其包括第一板(109)、第一电机(110)、传动带(120)、第一丝杠(130)、第一螺母(131)、第一支撑柱(102)、第一连杆(141)、第二连杆(142)、第三连杆(143)、第二板(150),所述第一板(109)通过固定销(101)与机架固定,所述第一板(109)与第一电机(110)固定,所述第一电机(110)的输出轴与第一带轮(121)固定,所述第一带轮(121)通过传动带(120)与第二带轮(122)带传动,所述第二带轮(122)与第一丝杠(130)同轴固定,所述第一丝杠(130)通过轴承安装在所述第一板(109)上,所述第一丝杠(130)纵向配置,所述第一丝杠(130)与第一螺母(131)螺纹连接,所述第一螺母(131)的外圆周面与所述第一连杆(141)的一端铰链连接,所述第一连杆(141)的另一端与第一销体(145)固定,所述第一销体(145)沿所述第二连杆(142)中部的第一长圆孔(146)移动,所述第二连杆(142)的一端与所述第一支撑柱(102)的顶部铰链连接,所述第一支撑柱(102)的底部与所述第一板(109)固定,所述第二连杆(142)的另一端与所述第三连杆(143)的一端铰链连接,所述第三连杆(143)的另一端与所述第二板(150)铰链连接,所述第一连杆(141)、第二连杆(142)、第一销体(145)、第三连杆(143)、第一支撑柱(102)包括沿所述第一丝杠(130)的轴线对称设置的两组;

刷毛(210),其与所述第二板(150)的上表面固定。

2.根据权利要求1所述的医用电动刷牙机,其特征在于:所述第二板(150)通过第一棍(151)、第二棍(152)与刷毛(210)连接,所述第一棍(151)纵向设置,第二棍(152)横向设置,第一棍(151)的下端与所述第二板(150)固定,所述第一棍(151)的上端与所述第二棍(152)的右端固定,所述第二棍(152)的左端与第三棍(231)的一端铰链连接,所述第三棍(231)的另一端与所述刷毛(210)的中部连接,所述刷毛(210)的靠近所述第二棍(152)的位置同轴固定有第二弹簧(232),所述第二弹簧(232)的端部与所述第二棍(152)的左端固定,所述第三棍(231)的中部与拉绳(233)固定,所述拉绳(233)为两端相互固定的环状绳,所述第二棍(152)的上表面和下表面均设有导管(234),所述拉绳(233)沿导管(234)移动,所述拉绳(233)的下端与所述第二连杆(142)的一端固定。

3.根据权利要求2所述的医用电动刷牙机,其特征在于:所述第二棍(152)通过第二摆动部(200)与所述刷毛(210)连接,所述第二摆动部(200)包括固定架(201)、第二电机(203)、操作箱(204)、支点卡销(205)、曲柄(211)、横向导架(213)、第一杆体(215)、第二杆体(216)、第一卡销(218);

所述固定架(201)与所述第二棍(152)的上表面固定,所述固定架(201)为U形杆,固定架(201)的一端与所述第二电机(203)固定,所述第二电机(203)的输出轴与所述曲柄(211)的一端固定,所述曲柄(211)的另一端与曲柄卡销(212)固定,所述曲柄卡销(212)沿所述横向导架(213)的导轨移动,所述横向导架(213)的导轨横向配置,固定架(201)的另一端设有第一纵向导轨,所述横向导架(213)沿所述第一纵向导轨纵向移动,所述横向导架(213)的上端与第一杆体(215)的下端固定,所述第一杆体(215)的上端通过第一卡销(218)与所述第二杆体(216)的一端铰链连接,所述固定架(201)的第一纵向导轨的上方固定有操作箱(204),所述操作箱(204)固定有支点卡销(205),所述支点卡销(205)配置在所述第二杆体(216)开设的第二长圆孔(217)内,所述刷毛(210)的一端与所述第二杆体(216)的一端固定,所述刷毛(210)的中部与所述第二杆体(216)的另一端连接。

我要求购
我不想找了,帮我找吧
您有专利需要变现?
我要出售
智能匹配需求,快速出售