欢迎来到知嘟嘟! 联系电话:13336804447 卖家免费入驻,海量在线求购! 卖家免费入驻,海量在线求购!
知嘟嘟
我要发布
联系电话:13336804447
知嘟嘟经纪人
收藏
专利号: 2018107687732
申请人: 江苏慧学堂系统工程有限公司
专利类型:发明专利
专利状态:已下证
专利领域: 计算;推算;计数
更新日期:2025-12-18
缴费截止日期: 暂无
价格&联系人
年费信息
委托购买

摘要:

权利要求书:

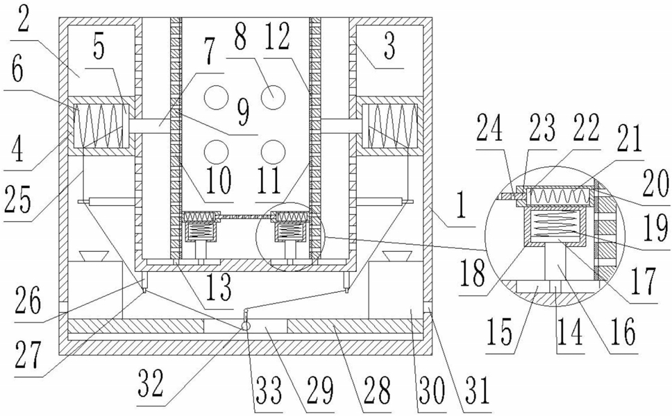
1.一种计算机机箱减震装置,其特征在于:包括凹型块(1),所述凹型块(1)一侧壁上固定设有多个进线孔(8),所述凹型块(1)内设有第一空腔(2),所述凹型块(1)内壁两侧固定设有多个第一通孔(3),所述第一通孔(3)与第一空腔(2)相通,所述第一空腔(2)两侧内壁上分别固定连接有第一套筒(4),所述第一套筒(4)内滑动有第一滑块(5),所述第一套筒(4)内设有第一弹簧(6),所述第一弹簧(6)一端与第一套筒(4)一侧内部固定连接,所述第一弹簧(6)另一端与第一滑块(5)一端固定连接,所述第一滑块(5)另一端与连接杆(7)一端固定连接,所述连接杆(7)另一端穿出凹型块(1)内壁与夹板(9)一侧固定连接,所述夹板(9)上固定设有多个第二通孔(10),所述夹板(9)另一侧固定设置有橡胶层(11),所述橡胶层(11)上固定设有第三通孔(12),所述第三通孔(12)与第二通孔(10)同轴,所述凹型块(1)内底面上对称设置有T型滑槽(15),所述T型滑槽(15)内滑动有第一T型块(13)和第二T型块(14),两个第二T型块(14)在两个第一T型块(13)之间,所述第一T型块(13)顶端与夹板(9)底端固定连接,所述第二T型块(14)顶端与支撑杆(16)底端固定连接,所述支撑杆(16)顶端伸入第二套筒(18)内与第二滑块(17)底端固定连接,所述第二套筒(18)与第二滑块(17)滑动连接,所述第二套筒(18)内设有第二弹簧(19),所述第二弹簧(19)底端与第二滑块(17)顶端固定连接,所述第二弹簧(19)顶端与第二套筒(18)内顶面固定连接,所述第二套筒(18)顶端与方形套筒(20)底端固定连接,所述方形套筒(20)内滑动有第三滑块(22),所述方形套筒(20)内设有第三弹簧(21),所述第三弹簧(21)一端与方形套筒(20)一侧内壁固定连接,所述第三弹簧(21)另一端与第三滑块(22)一端固定连接,两个方形套筒(20)之间设有连接板(23),所述连接板(23)上固定设有多个第四通孔(24),所述连接板(23)两端分别伸入两个方形套筒(20)内与第三滑块(22)一端固定连接,所述第一空腔(2)内壁上固定安装有多个固定杆(26),所述固定杆(26)内嵌入有两个第二旋转块(47),所述第二旋转块(47)一端与第二旋转杆(46)一端固定连接,所述第二旋转杆(46)另一端穿出固定杆(26)一端与滚轮(27)固定连接,两个滚轮(27)贴合设置,所述滚轮(27)上设有环形圆槽(48),所述第一空腔(2)内设有钢丝绳(25),所述钢丝绳(25)一端第一套筒(4)内与第一滑块(5)一端固定连接,所述钢丝绳(25)另一端穿过环形圆槽(48)分别与第一旋转杆(32)底端和L型杆(33)顶端固定连接,所述第一空腔(2)内底端固定安装有固定板(28),所述固定板(28)内设有通槽(29),所述固定板(28)顶端两侧固定安装有风机(30),所述风机(30)吸风口与吸风孔(31)相通,所述通槽(29)内设有第一旋转杆(32),所述一端伸入固定板(28)内与第一旋转块(45)一侧固定连接,所述第一旋转块(45)嵌入在固定板(28)内,所述第一旋转块(45)与固定板(28)旋转连接,所述第一旋转杆(32)与固定板(28)旋转连接,所述第一旋转杆(32)顶端与L型杆(33)底端固定连接,所述第一旋转杆(32)底端与L型杆(33)顶端两侧对称固定设有两个凸块(34),所述固定板(28)内设有第二空腔(35),所述第一旋转杆(32)另一端伸入第二空腔(35)内与圆筒(37)一端固定连接,所述圆筒(37)顶端与底端对称设置有滑槽(38),所述滑槽(38)内滑动有挡块(36),所述挡块(36)一端与中心杆(39)一端固定连接,所述中心杆(39)上套有第四弹簧(40),所述第四弹簧(40)在圆筒(37)内壁一端与挡块(36)之间,所述中心杆(39)另一端穿出圆筒(37)和固定板(28)一端并穿过第一圆盘(41)与第二圆盘(42)一端固定连接,所述中心杆(39)与第一圆盘(41)滑动连接,所述第一圆盘(41)与固定板(28)一端固定连接,所述第一圆盘(41)与第二圆盘(42)相对设置,所述第一圆盘(41)一侧环形均匀设置有若干个下卡齿(44),所述第二圆盘(42)相对一侧环形均匀设置有若干个上卡齿(43),所述上卡齿(43)与下卡齿(44)啮合。

2.根据权利要求1所述的一种计算机机箱减震装置,其特征在于:所述通槽(29)长度大于第一旋转杆(32)到L型杆(33)之间的距离3-5cm,所述固定板(28)到第一空腔(2)内底面的距离大于第一旋转杆(32)到L型杆(33)之间的距离3-5cm。

3.根据权利要求1所述的一种计算机机箱减震装置,其特征在于:所述相邻环形圆槽(48)与钢丝绳(25)的直径相同,所述钢丝绳(25)长度足够。

4.根据权利要求1所述的一种计算机机箱减震装置,其特征在于:所述连接板(23)与方形套筒(20)顶端贴附有橡胶层。

5.根据权利要求1所述的一种计算机机箱减震装置,其特征在于:所述连接杆(7)与夹板(9)通过焊接连接。

6.根据权利要求1所述的一种计算机机箱减震装置,其特征在于:所述风机(30)上连接有插头。