欢迎来到知嘟嘟! 联系电话:13336804447 卖家免费入驻,海量在线求购! 卖家免费入驻,海量在线求购!
知嘟嘟
我要发布
联系电话:13336804447
知嘟嘟经纪人
收藏
专利号: 2019103962006
申请人: 山东工业职业学院
专利类型:发明专利
专利状态:已下证
专利领域: 工程元件或部件;为产生和保持机器或设备的有效运行的一般措施;一般绝热
更新日期:2024-04-03
缴费截止日期: 暂无
价格&联系人
年费信息
委托购买

摘要:

权利要求书:

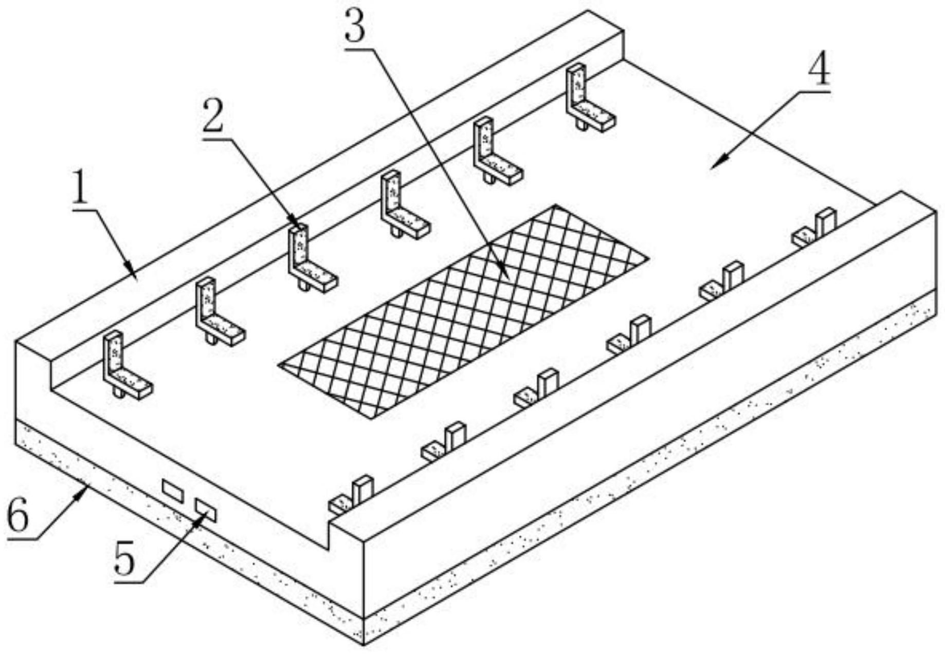
1.一种计算机机箱的抗震装置,包括支撑底座(1),其特征在于,所述支撑底座(1)上设置有用于放置机箱(7)的放置槽(4),所述放置槽(4)的左右两侧对称设置有多个用于对机箱(7)支撑以及减震的减震支撑组件(2),所述放置槽(4)的中部还设置有通风散热机构(3)。

2.根据权利要求1所述的计算机机箱的抗震装置,其特征在于,所述支撑底座(1)的主视呈“U”形结构,支撑底座(1)的底部还配合设置有底垫(6),底垫(6)采用弹性材料制成。

3.根据权利要求1所述的计算机机箱的抗震装置,其特征在于,位于所述放置槽(4)一侧的多个减震支撑组件(2)等间隔设置。

4.根据权利要求1或3所述的计算机机箱的抗震装置,其特征在于,所述减震支撑组件(2)包括L形支撑板(8),L形支撑板(8)的内侧配合设置有弹性层(9),所述L形支撑板(8)的水平部底部固定设置有铰支座(10),铰支座(10)上铰接设有竖杆(12),竖杆(12)伸入到支撑底座(1)内开设的活动腔(15)中,支撑底座(1)上还固定设置有用于对竖杆(12)滑动导向的导向环(11),所述竖杆(12)的下部周向设置有多根减震横杆(16),减震横杆(16)的上下两侧于活动腔(15)内分别固定设置有上减震环(13)和下减震环(14),所述导向环(11)和减震横杆(16)之间的竖杆(12)上还套设有上减震弹簧(17),所述竖杆(12)的下端还设置有下减震弹簧(18),下减震弹簧(18)的下端固定于活动腔(15)底部的支撑底座(1)上。

5.根据权利要求4所述的计算机机箱的抗震装置,其特征在于,所述上减震环(13)和下减震环(14)相对设置,上减震环(13)的下侧和下减震环(14)的上侧周向开设有多个与减震横杆(16)相对应的缓冲槽(24)。

6.根据权利要求5所述的计算机机箱的抗震装置,其特征在于,所述减震横杆(16)为圆柱形结构,所述缓冲槽(24)呈等腰梯形状,且缓冲槽(24)的上底长度为减震横杆(16)直径的1/2,缓冲槽(24)的下底长度大于减震横杆(16)的直径。

7.根据权利要求6所述的计算机机箱的抗震装置,其特征在于,所述放置槽(4)的两侧相对应竖杆(12)之间的距离大于机箱(7)的底部宽度。

8.根据权利要求1所述的计算机机箱的抗震装置,其特征在于,所述通风散热机构(3)包括开设于支撑底座(1)中部的通风散热腔(23),通风散热腔(23)为上开口结构,支撑底座(1)的前后侧壁上开设有多个与通风散热腔(23)底部连通的进风孔(5),所述通风散热腔(23)的上端开口处配合安装有网盖板(19),所述通风散热腔(23)内设置有至少一个散热风扇。

9.根据权利要求8所述的计算机机箱的抗震装置,其特征在于,所述散热风扇包括扇叶(20)、电机(21)和电机支架(22),电机支架(22)为十字形支架,电机支架(22)的外端与通风散热腔(23)的腔壁固定,电机支架(22)的中部安装固定有电机(21),电机(21)的输出轴上安装有扇叶(20)。