欢迎来到知嘟嘟! 联系电话:13336804447 卖家免费入驻,海量在线求购! 卖家免费入驻,海量在线求购!
知嘟嘟
我要发布
联系电话:13336804447
知嘟嘟经纪人
收藏
专利号: 2018107622032
申请人: 浙江力耐得传动科技有限公司
专利类型:发明专利
专利状态:授权未缴费
专利领域: 发电、变电或配电
更新日期:2025-07-09
缴费截止日期: 暂无
价格&联系人
年费信息
委托购买

摘要:

权利要求书:

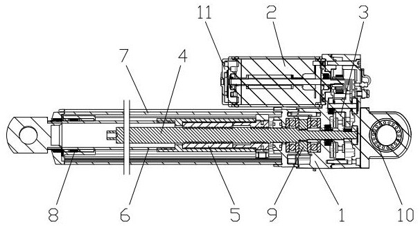
1.一种高强度电动推杆,包括支撑座、电机、传动机构、螺杆、螺母组、内管和外管,所述电机、传动机构和外管均固定安装在支撑座上,所述内管套设在外管的内部,所述螺杆穿设在内管的内部,所述电机通过传动机构与螺杆传动连接,所述螺母组螺纹连接在螺杆上,所述内管与螺母组固定连接,所述螺母组带动内管沿螺杆的长度方向运行,其特征是:所述螺母组包括连接套筒、塑料螺母和金属螺母,所述金属螺母和塑料螺母螺纹连接在螺杆的外部,所述连接套筒固定连接在金属螺母和塑料螺母上形成一个整体,所述内管的一端固定连接在连接套筒上。

2.根据权利要求1所述的一种高强度电动推杆,其特征是:所述连接套筒的内部设置有挡块,所述挡块将连接套筒分隔为内管连接端和螺母连接端,所述内管螺纹连接在内管连接端的内部;所述塑料螺母和金属螺母均螺纹连接在螺母连接端的内部。

3.根据权利要求2所述的一种高强度电动推杆,其特征是:所述塑料螺母旋入螺母连接端的内部与挡块抵触设置,所述金属螺母的一端旋入螺母连接端的内部与塑料螺母抵触设置,所述金属螺母的另一端固定连接有滑座,所述滑座与外管的内壁滑动连接。

4.根据权利要求3所述的一种高强度电动推杆,其特征是:所述金属螺母和塑料螺母是一体的,所述滑座注塑在金属螺母上,所述金属螺母对应于滑座的外沿设置有连接槽。

5.根据权利要求2所述的一种高强度电动推杆,其特征是:所述金属螺母靠近塑料螺母的一端的内壁上设置有储油槽,所述储油槽的深度小于金属螺母旋入连接套筒的长度。

6.根据权利要求2所述的一种高强度电动推杆,其特征是:所述塑料螺母的内壁的螺纹包括靠近挡块的紧密部和远离挡块的宽松部,所述紧密部呈锥形,所述紧密部的直径向挡块方向逐渐缩小,所述紧密部靠近挡块的一端与螺杆过盈配合。

7.根据权利要求1所述的一种高强度电动推杆,其特征是:所述电动推杆还包括承载装置,所述承载装置设置在支撑座上,所述承载装置包括设置在支撑座上的两个承载座,所述承载座的内部均设置有向心轴承,所述承载座相对的一侧均设置有轴承座,所述轴承座的内部设置有推力轴承,所述推力轴承和向心轴承设置在同一轴线上,所述螺杆穿过推力轴承和向心轴承设置,所述螺杆的外部固定连接有固定块,所述固定块抵触设置在两个推力轴承之间,两个所述轴承座之间套设有防护罩,所述向心轴承为防水深沟球轴承。

8.根据权利要求1所述的一种高强度电动推杆,其特征是:所述支撑座上还固定安装有连接头,所述连接头的中间设置有关节接头,所述关节接头的外圈与连接头为万向连接结构,所述关节接头的内圈设有滚动轴承,所述滚动轴承为深沟球轴承或滚针轴承。

9.根据权利要求1所述的一种高强度电动推杆,其特征是:所述外管与内管之间设置有导向套,所述导向套固定安装在外管远离支撑座的一端;所述电机上设置有霍尔传感器。

10.根据权利要求2所述的一种高强度电动推杆,其特征是:所述塑料螺母与挡块贴合的端面设置有贴紧凹槽,所述挡块靠近塑料螺母的一侧设置有润滑凹槽。

我要求购
我不想找了,帮我找吧
您有专利需要变现?
我要出售
智能匹配需求,快速出售