欢迎来到知嘟嘟! 联系电话:13336804447 卖家免费入驻,海量在线求购! 卖家免费入驻,海量在线求购!
知嘟嘟
我要发布
联系电话:13336804447
知嘟嘟经纪人
收藏
专利号: 2018106724043
申请人: 中国矿业大学
专利类型:发明专利
专利状态:已下证
专利领域: 测量;测试
更新日期:2024-01-05
缴费截止日期: 暂无
价格&联系人
年费信息
委托购买

摘要:

权利要求书:

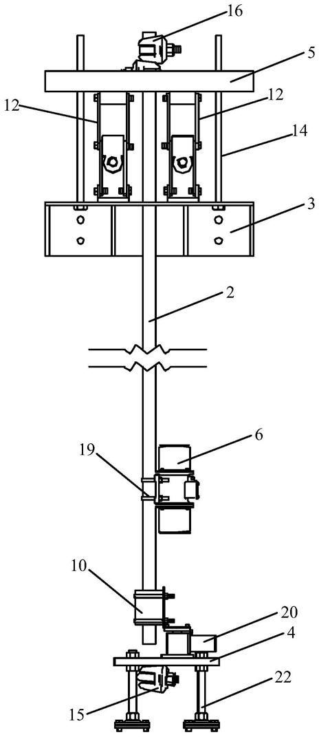
1.一种深立井井筒钢丝绳罐道振动试验台,其特征在于:所述深立井井筒钢丝绳罐道振动试验台包括机架、钢丝绳、钢丝绳张紧装置、第一振动装置和第二振动装置;

钢丝绳张紧装置包括上安装台、下安装台、位于上安装台上方的支撑台、连接上安装台和支撑台的伸缩机构、下安装台上设有一个通孔,下安装台的下方设有第一钢丝绳锁紧机构、支撑台的上方设有第二钢丝绳锁紧机构,钢丝绳的一端依次穿过上安装台和支撑台,并被第二钢丝绳锁紧机构锁紧,上安装台安装在机架上,下安装台位于地面上;

第一振动装置包括振动电机和电机调速器,振动电机和电机调速器相连接,当进行高频小幅值振动或者低频小幅值振动试验时,钢丝绳的另一端穿过所述通孔,并被第一钢丝绳锁紧机构锁紧,伸缩装置带动支撑台及第二钢丝绳锁紧机构同时向上运动,张紧钢丝绳,振动电机安装在钢丝绳上,并以试验所需振动频率带动钢丝绳振动,巡检机器人沿着钢丝绳运动;

第二振动装置包括驱动装置和安装在下安装台上的同步带导轨、安装在同步带导轨的滑块上的连接板及安装在连接板上的直线轴承,当进行低频大幅值振动试验时,钢丝绳的另一端穿过直线轴承后悬空,且钢丝绳的另一端位于下安装台上方,驱动装置驱动同步带导轨,使所述滑块以试验所需速度来回滑动,并通过直线轴承带动钢丝绳来回摆动,巡检机器人沿着钢丝绳运动。

2.根据权利要求1所述的深立井井筒钢丝绳罐道振动试验台,其特征在于:所述第二钢丝绳锁紧机构包括两个钢丝绳U型卡头,两个钢丝绳U型卡头分别为第一钢丝绳U型卡头和第二钢丝绳U型卡头,第一钢丝绳U型卡头位于所述支撑台上方,第二钢丝绳U型卡头位于第一钢丝绳U型卡头上方,第一钢丝绳U型卡头和第二钢丝绳U型卡头同时将所述钢丝绳锁紧,第一钢丝绳U型卡头的U型螺栓开口和第二钢丝绳U型卡头的U型螺栓开口从两个相反的方向套住所述钢丝绳。

3.根据权利要求1所述的深立井井筒钢丝绳罐道振动试验台,其特征在于:所述伸缩机构包括两个剪式千斤顶,每个剪式千斤顶的底端均与所述上安装台固定连接,每个剪式千斤顶的顶端均与所述支撑台固定连接,所述上安装台的中心设有钢丝绳孔,两个剪式千斤顶相对于所述钢丝绳孔对称,所述钢丝绳穿过所述钢丝绳孔。

4.根据权利要求1所述的深立井井筒钢丝绳罐道振动试验台,其特征在于:所述第一钢丝绳锁紧机构为钢丝绳U型卡头。

5.根据权利要求1所述的深立井井筒钢丝绳罐道振动试验台,其特征在于:所述振动电机通过U型螺栓固定在所述钢丝绳上,所述振动电机的最低点与所述下安装台之间的距离等于所述下安装台和所述上安装台之间的钢丝绳的长度的1/8。

6.根据权利要求1所述的深立井井筒钢丝绳罐道振动试验台,其特征在于:所述连接板为L型连接板,L型连接板的水平部分与所述滑块通过螺栓连接,L型连接板的竖直部分与所述直线轴承通过U型螺栓连接。

7.根据权利要求1所述的深立井井筒钢丝绳罐道振动试验台,其特征在于:所述驱动装置包括步进电机、步进电机驱动器、电源和控制器;

步进电机与所述同步带导轨连接,控制器用于发送控制信号给步进电机驱动器,通过步进电机驱动器控制所述步进电机运行,电源用于给控制器和步进电机驱动器供电。

8.根据权利要求7所述的深立井井筒钢丝绳罐道振动试验台,其特征在于:所述驱动装置还包括两个距离感应器,两个距离感应器安装在所述同步带导轨的壳体上,两个距离感应器对应所述滑块能运行的两个极限位置,当所述滑块运行至某一个距离感应器的位置处时,控制器控制所述步进电机运行,带动所述滑块向相反方向运行。

9.根据权利要求1所述的深立井井筒钢丝绳罐道振动试验台,其特征在于:所述支撑台为槽钢。

10.根据权利要求1所述的深立井井筒钢丝绳罐道振动试验台,其特征在于:所述下安装台下方设有四个底脚,四个底脚的高度能够调节,四个底脚的底端均固定在地面上,顶端均与所述下安装台相连,通过四个底脚将所述下安装台支撑在所述地面上。