欢迎来到知嘟嘟! 联系电话:13336804447 卖家免费入驻,海量在线求购! 卖家免费入驻,海量在线求购!
知嘟嘟
我要发布
联系电话:13336804447
知嘟嘟经纪人
收藏
专利号: 201410682698X
申请人: 中国矿业大学
专利类型:发明专利
专利状态:已下证
专利领域: 卷扬;提升;牵引
更新日期:2024-01-05
缴费截止日期: 暂无
价格&联系人
年费信息
委托购买

摘要:

权利要求书:

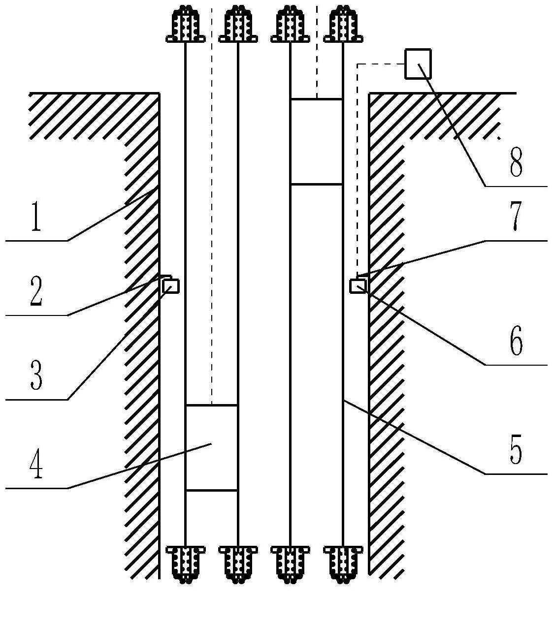
1.一种立井罐道钢丝绳摆动检测装置,其特征在于:包括光电检测系统,所述光电检测系统包括平行光源发生器和光电转换装置,所述平行光源发生器和光电转换装置分别位于待测点所在高度处井壁上相对的两侧且平行光源发生器与光电转换装置对正,所述立井罐道钢丝绳处于平行光源发生器和光电转换装置之间,所述光电转换装置连接到上位机。

2.根据权利要求1所述的立井罐道钢丝绳摆动检测装置,其特征在于:平行光源发生器和光电转换装置所在位置的上方的井壁上均固定有悬挂对中装置;所述平行光源发生器和光电转换装置分别通过悬挂对中装置固定在井壁上。

3.根据权利要求1或2所述的立井罐道钢丝绳摆动检测装置,其特征在于:所述光电转换装置内设置有光敏电阻阵列、光电转换电路和无线发射模块,所述上位机上设置有无线接收模块,所述光电转换电路将光敏电阻阵列接收到的光信号转换为电信号并通过无线发射模块传递给上位机上的无线接收模块接收。

4.根据权利要求2所述的立井罐道钢丝绳摆动检测装置,其特征在于:所述悬挂对中装置上设置有一平台,该平台通过螺栓固定在井壁上并且平台垂直井壁;以垂直于该平台上建立z轴、该平台内建立相互垂直的x轴和y轴组成三角坐标系;还包括一号转动组、二号转动组和三号转动组,一号转动组和二号转动组中均包括两个转轴相互垂直的转动组件,其中一号转动组上的一个转动组件固定在平台上,二号转动组中的两个转轴轴向与一号转动组中的两个转轴轴向相同,二号转动组与一号转动组通过一号连杆固定连接,三号转动组与二号转动组通过二号连杆固定连接,且三号转动组的转轴与二号转动组上的两个转轴都垂直;三号转动组上设置有外接悬挂固定装置。

5.根据权利要求4所述的立井罐道钢丝绳摆动检测装置,其特征在于:转动组件中设置有数字控制器(2-7-4)、步进电机(2-7-5)和执行机构,所述数字控制器(2-7-4)控制步进电机(2-7-5)转动,所述步进电机(2-7-5)驱动该转动组件上的执行机构进行转动。