欢迎来到知嘟嘟! 联系电话:13336804447 卖家免费入驻,海量在线求购! 卖家免费入驻,海量在线求购!
知嘟嘟
我要发布
联系电话:13336804447
知嘟嘟经纪人
收藏
专利号: 2018106219970
申请人: 博兴兴博投资有限公司
专利类型:发明专利
专利状态:已下证
专利领域: 家具;家庭用的物品或设备;咖啡磨;香料磨;一般吸尘器
更新日期:2025-04-19
缴费截止日期: 暂无
价格&联系人
年费信息
委托购买

摘要:

权利要求书:

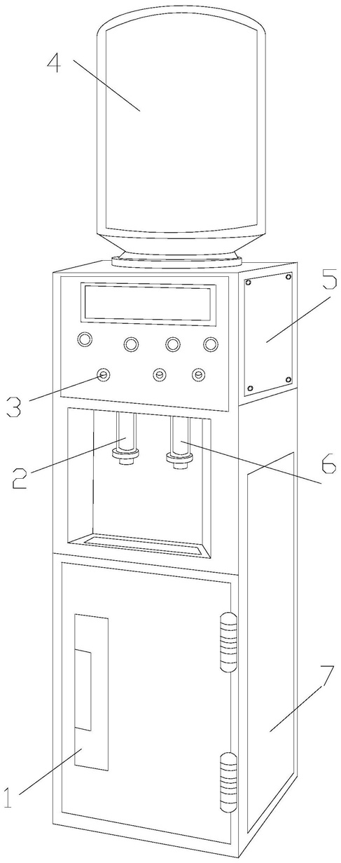
1.一种智能对象识别饮水装置,其结构包括机箱(1)、冷水出水管(2)、液晶智能识别面板(3)、桶装水(4)、防干烧装置(5)、热水出水管(6)、机体(7),所述机箱(1)嵌入于机体(7)的底部,所述冷水出水管(2)的首端安装于的机体(7)的正表面,所述热水出水管(6)的一端设有冷水出水管(2),所述机体(7)的正表面设有液晶智能识别面板(3),所述桶装水(4)的末端与机体(7)首端相连接,所述防干烧装置(5)安装于机体(7)的内部顶端,其特征在于:所述防干烧装置(5)包括水位通知机构(51)、电源切断机构(52)、动力机构(53)、均匀加热机构(54)、过滤净化机构(55)、自动关闭机构(56)、动力传动机构(57)、辅助马达机构(58),所述水位通知机构(51)的首端与电源切断机构(52)末端啮合连接,所述电源切断机构(52)与动力机构(53)相扣合,所述动力机构(53)与辅助马达机构(58)电连接,所述辅助马达机构(58)与动力传动机构(57)活动配合,所述过滤净化机构(55)的首端设有自动关闭机构(56),所述均匀加热机构(54)安装于过滤净化机构(55)的末端,所述自动关闭机构(56)与动力传动机构(57)相扣合。

2.根据权利要求1所述的一种智能对象识别饮水装置,其特征在于:所述水位通知机构(51)包括拨片条(511)、活动关节(512)、减震弹簧(513)、竖锯齿板(514)、锯齿轮(515)、连接支架(516),所述拨片条(511)与活动关节(512)相扣合,所述拨片条(511)的另一端与减震弹簧(513)相焊接,所述竖锯齿板(514)的末端与拨片条(511)的另一端相连接,所述竖锯齿板(514)与锯齿轮(515)的外表面啮合连接,所述锯齿轮(515)与连接支架(516)相连接,所述锯齿轮(515)与电源切断机构(52)啮合连接。

3.根据权利要求1或2所述的一种智能对象识别饮水装置,其特征在于:所述电源切断机构(52)包括横锯齿板(521)、连接滑架(522)、滑槽板(523)、复位弹簧(524)、拉杆(525),所述横锯齿板(521)的首端与连接滑架(522)的末端相焊接,所述连接滑架(522)与滑槽板(523)相嵌套,所述复位弹簧(524)安装于滑槽板(523)的内部,所述拉杆(525)的末端与连接滑架(522)的首端相焊接,所述横锯齿板(521)与锯齿轮(515)啮合连接。

4.根据权利要求1所述的一种智能对象识别饮水装置,其特征在于:所述动力机构(53)包括衔铁(531)、金属框架(532)、动触点(533)、静触点(534)、传导线(535)、发电箱(536)、电磁块(537)、滑轮(538)、电源线(539),所述衔铁(531)与金属框架(532)相嵌套,所述动触点(533)与静触点(534)相连接,所述静触点(534)与传导线(535)电连接,所述传导线(535)与发电箱(536)电连接,所述发电箱(536)的另一端设有电磁块(537),所述电源线(539)与滑轮(538)的外表面相贴合,所述电源线(539)与发电箱(536)电连接,所述电源线(539)与辅助马达机构(58)。

5.根据权利要求1所述的一种智能对象识别饮水装置,其特征在于:所述均匀加热机构(54)包括活动触点(541)、启动探头(542)、接线端(543)、引线(544)、加热管(545)、保温壳(546),所述活动触点(541)与启动探头(542)相连接,所述活动触点(541)与引线(544)电连接,所述活动触点(541)通过引线(544)与接线端(543)相连接,所述加热管(545)安装于保温壳(546)的内部正中间。

6.根据权利要求1所述的一种智能对象识别饮水装置,其特征在于:所述过滤净化机构(55)包括防护罩壳(551)、进水口(552)、过滤板(553)、吸附板(554)、活性炭板(555)、出水口(556),所述防护罩壳(551)的首端设有进水口(552),所述过滤板(553)位于吸附板(554)的上方,所述吸附板(554)的下方设有活性炭板(555),所述过滤板(553)、吸附板(554)与活性炭板(555)在同一中心线上,所述出水口(556)位于防护罩壳(551)的末端。

7.根据权利要求1所述的一种智能对象识别饮水装置,其特征在于:所述自动关闭机构(56)包括配合轮(561)、配合杆(562)、啮合齿轮(563)、右闸门(564)、传动皮带(565)、滚轮架(566)、交叉皮带(567)、左闸门(568),所述啮合齿轮(563)的正表面与配合杆(562)的首端相扣合,所述配合轮(561)的背面与配合杆(562)末端相扣合,所述配合轮(561)的正表面与传动皮带(565)相贴合,所述啮合齿轮(563)与右闸门(564)的末端相啮合,所述右闸门(564)的另一端设有左闸门(568),所述滚轮架(566)与交叉皮带(567)相连接,所述配合轮(561)通过传动皮带(565)与滚轮架(566)相连接。

8.根据权利要求1所述的一种智能对象识别饮水装置,其特征在于:所述动力传动机构(57)包括小滚轮(571)、转杆(572)、活动框架(573)、固定支架(574)、连接杆(575),所述小滚轮(571)与转杆(572)相扣合,所述转杆(572)与活动框架(573)相连接,所述活动框架(573)的一端与固定支架(574)相焊接,所述固定支架(574)的首端与连接杆(575)的末端相扣合,所述小滚轮(571)的外表面与辅助马达机构(58)的首端相连接。

9.根据权利要求1或4或8所述的一种智能对象识别饮水装置,其特征在于:所述辅助马达机构(58)包括固定底座(581)、伺服电机(582)、轴承(583)、蜗轮杆(584)、主动轮(585)、连接皮带(586),所述固定底座(581)与伺服电机(582)相焊接,所述轴承(583)安装于伺服电机(582)的另一端,所述蜗轮杆(584)与轴承(583)相嵌套,所述蜗轮杆(584)通过轴承(583)与伺服电机(582)相连接,所述主动轮(585)与蜗轮杆(584)相啮合,所述连接皮带(586)与主动轮(585)相贴合,所述连接皮带(586)与小滚轮(571)的外表面相贴合,所述伺服电机(582)与电源线(539)电连接。