欢迎来到知嘟嘟! 联系电话:13095918853 卖家免费入驻,海量在线求购! 卖家免费入驻,海量在线求购!
知嘟嘟
我要发布
联系电话:13095918853
知嘟嘟经纪人
收藏
专利号: 2018106188027
申请人: 铜陵市德力来纺纱有限责任公司
专利类型:发明专利
专利状态:已下证
专利领域: 木材或类似材料的加工或保存;一般钉钉机或钉U形钉机
更新日期:2025-09-17
缴费截止日期: 暂无
价格&联系人
年费信息
委托购买

摘要:

权利要求书:

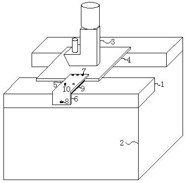
1.高稳定性打钉机,它包括设有轨道(1)的操作台(2)、打钉机本体(3)和承载打钉机本体并可在轨道上移动的基座(4),其特征是所述轨道上间隙配合有L型限位块,所述L型限位块包括第一自由端(5)和第二自由端(6),所述第一自由端与基座搭接,所述第二自由端与轨道外侧面搭接,所述第一自由端与基座搭接处开设有第一限位孔(7),所述第一限位孔内螺纹配合有第一限位螺钉,所述第二自由端与轨道外侧面搭接处开设有第二限位孔(8),所述第二限位孔内螺纹配合有第二限位螺钉;常态下第一限位螺钉与第一限位孔之间、第二限位螺钉与第二限位孔之间螺纹配合较松,使得基座可以在轨道上自由移动,L型限位块可以在轨道上自由移动,当需要定位打钉时,移动基座或L型限位块,使得L型限位块的第一自由端与基座搭接,并旋紧第一限位螺钉和第二限位螺钉,使得第一自由端与第二自由端将基座紧紧的固定在轨道上,实现限位的目的。

2.如权利要求1所述的高稳定性打钉机,其特征是所述第一自由端底部与轨道之间的间隙内充填有柔性材料(9)。

3.如权利要求1或2所述的高稳定性打钉机,其特征是所述第一自由端的中部开设有第三限位孔(10),所述第三限位孔内螺纹配合有第三限位螺钉。