欢迎来到知嘟嘟! 联系电话:13336804447 卖家免费入驻,海量在线求购! 卖家免费入驻,海量在线求购!
知嘟嘟
我要发布
联系电话:13336804447
知嘟嘟经纪人
收藏
专利号: 2018105268607
申请人: 湖州达立智能设备制造有限公司
专利类型:发明专利
专利状态:已下证
专利领域: 一般车辆
更新日期:2026-03-02
缴费截止日期: 暂无
价格&联系人
年费信息
委托购买

摘要:

权利要求书:

1.一种电气接触网的支撑机构,其特征在于,包括电磁阻尼器,其具有动态可调阻尼力,从而使得支撑机构的抗风性能够随风调整。

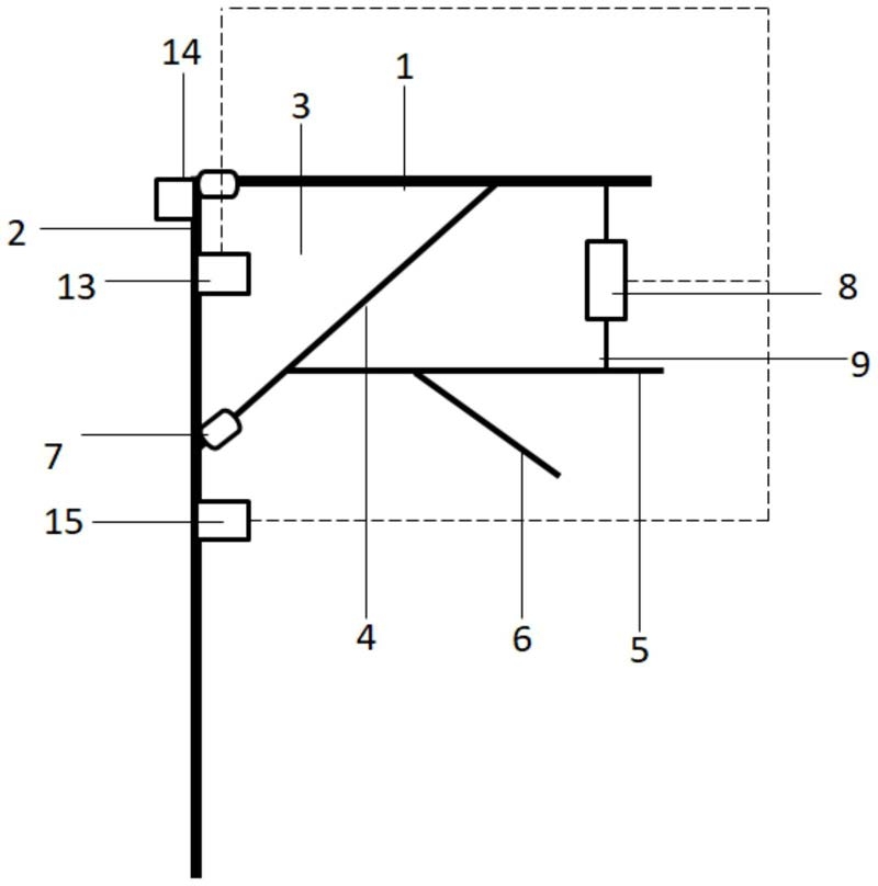
2.一种电气接触网的支撑机构,包括:

水平腕臂,安装于立柱上,与腕臂支撑和斜腕臂固定连接;

定位管,固定于斜腕臂上;

定位器,其铰接在定位管上,用于固定接触线;

棒式绝缘子,分别固定在水平腕臂和斜腕臂上,用于增加爬电距离;

其特征在于,

阻尼箱,一端与定位管铰接,另一端通过活塞杆与定位器固定连接;

双控开关,设于阻尼箱内,开关的两个触点分别与线圈的中间端子和末端端子连接,其通过连接不同的触点来改变线圈的匝数,从而使得阻尼器的响应时间发生改变;

磁流变液阻尼器,设于阻尼箱内,用于吸收接触线因风而产生的振动能量。

线圈,设于阻尼箱内,在通电后产生磁场以改变液体粘度;

电流调节装置,设于立柱上,用于调节通过线圈的电流大小;

风速传感器,安装于立柱上,用于检测风速大小;

控制器,其设置在立柱上,其信号连接至阻尼箱、双控开关、电流调节装置、风速传感器;控制器被配置为:当风速传感器检测出风速大小低于第一风速值时,双控开关连接第一触点,将线圈匝数调至第一匝数值,使阻尼器的响应时间为第一响应时间;同时,控制器根据风速大小控制电流调节装置将电流调节至第一电流值,通过对线圈通入电流产生磁场来改变液体黏度,从而改变阻尼器的阻尼力;

当风速传感器检测出风速大小高于第一风速值时,双控开关连接第二触点,将线圈匝数调至第二匝数值以减小线圈电感值,降低电流调节过程中线圈产生的感应电流对输入电流的阻碍影响,从而将阻尼器的响应时间从第一响应时间减小为第二响应时间,使接触网在风振影响较大的情况下,电流调节装置输出的电流仍能够迅速让阻尼器产生相应大小的阻尼力以应对风速的变化,避免由于阻尼力调节不及时而导致受电弓产生取流不稳定的现象;同时,电流调节装置将电流增大至第二电流值,使得阻尼器产生更大的阻尼力;

第一匝数值>第二匝数值;第一响应时间>第二响应时间;第一电流值<第二电流值。