欢迎来到知嘟嘟! 联系电话:13336804447 卖家免费入驻,海量在线求购! 卖家免费入驻,海量在线求购!
知嘟嘟
我要发布
联系电话:13336804447
知嘟嘟经纪人
收藏
专利号: 2018104869442
申请人: 王美华
专利类型:发明专利
专利状态:已下证
专利领域: 一般车辆
更新日期:2025-12-24
缴费截止日期: 暂无
价格&联系人
年费信息
委托购买

摘要:

权利要求书:

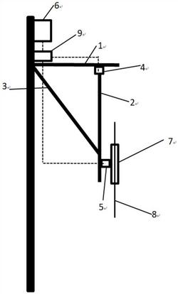
1.一种电气化铁路接触网的支撑机构,包括:平腕臂,与支柱垂直固定连接;

第一定位臂,一端可转动嵌入平腕臂内;

第二定位臂,一端固定在支柱上,另一端与第一定位臂末端铰接;

第一电机,设置在平腕臂上,用于控制第一定位臂的转动;

第二电机,设置在第一定位臂上,用于控制空筒的转动;

传感器,设置在支柱上,用于监测实时风向;

其特征在于,

空筒,其长度为m,内部穿有接触线,其设置在第一定位臂的末端并由第二电机驱动旋转;

控制器,其与传感器、第一电机、第二电机信号连接;

控制器被配置为:

(1)建立以空筒中心为原点、接触线所在方向为X轴、朝向铁轨内侧方向为Y轴、竖直向上方向为Z轴的空间坐标系;

(2)获取风向数据,建立风向的三维矢量,并将该三维矢量分别向Xoy、Zox平面投影得到第一平面向量和第二平面向量;

(3)计算出第一平面向量与X轴之间的夹角θ、第二平面向量与Z轴之间的夹角μ;

(4)根据θ控制第一电机驱动第一定位臂使空筒在Xoy平面内旋转第一角度α,使两个相邻的空筒之间的接触线在Xoy平面上的投影与X轴之间的夹角从0゜变为θ,也即接触线在Xoy平面上与第一平面向量平行,其中,

(5)根据μ控制第二电机驱动空筒在Zox平面内旋转第二角度β,使两个相邻空筒之间的接触线在Zox平面上的投影与Z轴之间的夹角从90゜变为μ,也即接触线在Zox平面上与第二平面向量平行,

其中,