欢迎来到知嘟嘟! 联系电话:13336804447 卖家免费入驻,海量在线求购! 卖家免费入驻,海量在线求购!
知嘟嘟
我要发布
联系电话:13336804447
知嘟嘟经纪人
收藏
专利号: 2018104831939
申请人: 徐峰
专利类型:发明专利
专利状态:授权未缴费
专利领域: 测量;测试
更新日期:2024-08-27
缴费截止日期: 暂无
价格&联系人
年费信息
委托购买

摘要:

权利要求书:

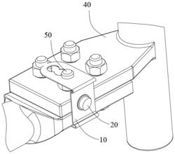
1.一种应用于输电线夹的过热报警装置,其特征在于,所述应用于输电线夹的过热报警装置包括弹性钣金片和温测报警器;

所述弹性钣金片包括依次连接的第一侧、第二侧和第三侧,所述第一侧、第二侧和第三侧形成一个近似C形的结构;

所述第一侧设置有与输电线夹螺栓的头部配合的圆孔;

所述第三侧设置有与所述输电线夹螺栓的尾部配合的虫形孔,所述虫形孔由沿同一方向交叠连接的多个圆形孔组成;

所述第二侧能够贴靠在输电线夹的侧面;

所述温测报警器设置于所述第二侧以能够感测所述输电线夹的温度并在满足预设温度时发出报警信号。

2.根据权利要求1所述的应用于输电线夹的过热报警装置,其特征在于,所述虫形孔的内侧设有防滑齿,在所述虫形孔未与所述输电线夹螺栓配合时,所述防滑齿平行于所述第三侧;在所述虫形孔与所述输电线夹螺栓配合时,所述防滑齿朝向所述输电线夹螺栓的尾端弯折并卡入所述输电线夹螺栓的螺纹中。

3.根据权利要求2所述的应用于输电线夹的过热报警装置,其特征在于,所述防滑齿的末端为圆弧形,圆弧的直径等于所述输电线夹螺栓的螺径。

4.根据权利要求1所述的应用于输电线夹的过热报警装置,其特征在于,所述第二侧与第一侧的接合处设置有波浪形的预留部,所述第二侧与第三侧的接合处设置有波浪形的预留部。

5.根据权利要求1至4任意一项所述的应用于输电线夹的过热报警装置,其特征在于,所述温测报警器包括固定于所述弹性钣金片上的壳体和用于封闭所述壳体的壳盖,所述壳盖上设置有凸柱,所述凸柱通过特定熔点的合金与所述弹性钣金片连接,所述壳体内装有报警彩带,所述报警彩带的一端固定于所述弹性钣金片上,所述报警彩带的另一端固定于所述壳盖上。

6.根据权利要求5所述的应用于输电线夹的过热报警装置,其特征在于,所述温测报警器包括弹簧,所述弹簧设置于所述壳体和壳盖的接触面之间。

7.根据权利要求5所述的应用于输电线夹的过热报警装置,其特征在于,所述弹性钣金片的第二侧上设置有半圆形的凹陷部,所述凹陷部的弧形面朝向所述温测报警器,所述凸柱经过所述凹陷部的弧形面插入所述凹陷部中,所述特定熔点的合金设置于所述凹陷部中。