欢迎来到知嘟嘟! 联系电话:13336804447 卖家免费入驻,海量在线求购! 卖家免费入驻,海量在线求购!
知嘟嘟
我要发布
联系电话:13336804447
知嘟嘟经纪人
收藏
专利号: 2018104808858
申请人: 赵君彪
专利类型:发明专利
专利状态:已下证
专利领域: 照明
更新日期:2023-07-24
缴费截止日期: 暂无
价格&联系人
年费信息
委托购买

摘要:

权利要求书:

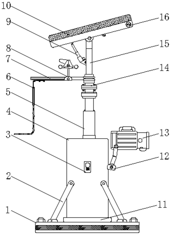
1.一种海上轮船用光电照明装置,包括挡风筒体(4)、固定基座(1)和支撑杆(15),其特征在于:所述固定基座(1)的内部安装有减震碟片(33),所述减震碟片(33)两侧的固定基座(1)内部皆设置有螺栓孔(32),所述固定基座(1)的顶部安装有挡风筒体(4),所述挡风筒体(4)的表面安装有防水型控制按钮(3),所述防水型控制按钮(3)一侧的挡风筒体(4)表面安装有旋转固定架(12),所述旋转固定架(12)的顶端通过铰接轴安装有探照灯(13),所述探照灯(13)的表面安装有散热鳍片(22),所述探照灯(13)的内部安装有散热风扇(23),所述挡风筒体(4)的内部安装有太阳能用蓄电池(18),所述太阳能用蓄电池(18)一侧的挡风筒体(4)内部安装有控制电路基板(21),所述太阳能用蓄电池(18)上方的挡风筒体(4)内部设置有活动腔体(19),所述活动腔体(19)的内部安装有第一电动伸缩杆(5),且第一电动伸缩杆(5)的顶端延伸至挡风筒体(4)上方,所述第一电动伸缩杆(5)的顶端安装有连接法兰(14),所述连接法兰(14)的顶部安装有旋转台(24),所述旋转台(24)的顶部安装有旋转环套(26),所述旋转环套(26)的表面安装有悬挂杆(7),所述悬挂杆(7)的表面安装有风向仪(8),所述旋转环套(26)的顶部安装有支撑杆(15),所述支撑杆(15)的表面安装有第二电动伸缩杆(9),所述支撑杆(15)的顶部通过铰接轴安装有支撑板(20),所述支撑板(20)的一侧通过合页安装有活动板(27),所述支撑板(20)的表面安装有固定环(29),所述固定环(29)的内部通过螺纹体安装有连接杆(30),且连接杆(30)的两端向外延伸,所述连接杆(30)一端的表面通过螺纹体安装有调节套件(28)。

2.根据权利要求1所述的一种海上轮船用光电照明装置,其特征在于:所述固定基座(1)与挡风筒体(4)的连接处安装有固定环套(11)。

3.根据权利要求1所述的一种海上轮船用光电照明装置,其特征在于:所述太阳能蓄电池(18)下方的挡风筒体(4)内部安装有防潮板(17)。

4.根据权利要求1所述的一种海上轮船用光电照明装置,其特征在于:所述第一电动伸缩杆(5)的表面安装有塑胶防水塞(25)。

5.根据权利要求1所述的一种海上轮船用光电照明装置,其特征在于:所述活动板(27)的表面安装有限位卡槽(31),且限位卡槽(31)的表面通过滑块与连接杆(30)的另一端连接。

6.根据权利要求1所述的一种海上轮船用光电照明装置,其特征在于:所述活动板(27)与支撑板(20)的表面皆安装有太阳能电板(10)。

7.根据权利要求1所述的一种海上轮船用光电照明装置,其特征在于:所述挡风筒体(4)两侧的固定基板(1)顶部皆安装有支杆(2),且支杆(2)的顶端固定安装在挡风筒体(4)的表面。

8.根据权利要求1所述的一种海上轮船用光电照明装置,其特征在于:所述支撑板(20)的表面安装有光敏感应器(16)。

9.根据权利要求1所述的一种海上轮船用光电照明装置,其特征在于:所述风向仪(8)一侧的悬挂杆(7)表面安装有照明灯条(6)。