欢迎来到知嘟嘟! 联系电话:13336804447 卖家免费入驻,海量在线求购! 卖家免费入驻,海量在线求购!
知嘟嘟
我要发布
联系电话:13336804447
知嘟嘟经纪人
收藏
专利号: 2017112592916
申请人: 浙江海洋大学
专利类型:发明专利
专利状态:已下证
专利领域: 水利工程;基础;疏浚
更新日期:2024-01-05
缴费截止日期: 暂无
价格&联系人
年费信息
委托购买

摘要:

权利要求书:

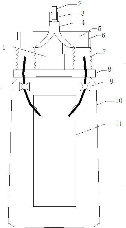
1.海上挖泥船,包括气缸(1)、铲轮(2)、轮架(3)、内隔板(4)、铲板(5)、外挡板(6)、波纹管(7)、基座(8)、抽泥泵(9)、船体(10)和储泥仓(11),其特征是:所述船体(10)上安装储泥仓(11),船体(10)头部安装基座(8),基座(8)前端安装气缸(1),气缸(1)的伸缩杆前端安装两个内隔板(4),内隔板(4)外侧壁安装在一起,内隔板(4)前端安装轮架(3),铲轮(2)的轴安装在轮架(3)上,内隔板(4)安装在铲板(5)上,铲板(5)另一侧安装外挡板(6),外挡板(6)、内挡板和铲板(5)的后侧安装波纹管(7),波纹管(7)的另一端安装在基座(8)上,抽泥泵(9)的抽泥管从基座(8)内部穿到波纹管(7)内,抽泥管通过管道固定件安装在波纹管(7)内,抽泥泵(9)的排泥管通过管道固定件通入到储泥仓(11)内。

2.根据权利要求1所述的海上挖泥船,其特征是:所述气缸(1)内置电磁阀。