欢迎来到知嘟嘟! 联系电话:13336804447 卖家免费入驻,海量在线求购! 卖家免费入驻,海量在线求购!
知嘟嘟
我要发布
联系电话:13336804447
知嘟嘟经纪人
收藏
专利号: 2018104519311
申请人: 王炳玉
专利类型:发明专利
专利状态:已下证
专利领域: 一般车辆
更新日期:2025-03-07
缴费截止日期: 暂无
价格&联系人
年费信息
委托购买

摘要:

权利要求书:

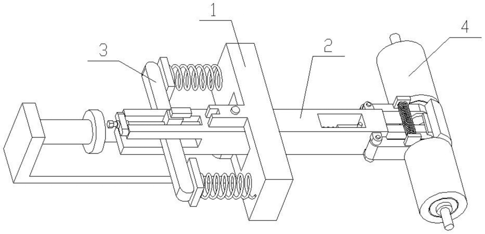
1.一种新能源汽车车窗清理装置,包括手持架(1)、转架(2)、弹力组件(3)和清理组件(4),其特征在于:所述的手持架(1)包括固定板(1-1)、上铰接块(1-2)、固定板槽(1-3)和下铰接块(1-4),固定板(1-1)的中心设置有左右贯穿固定板(1-1)的固定板槽(1-3),固定板(1-1)的左侧上端固定连接有上铰接块(1-2),固定板(1-1)的左侧下端固定连接有下铰接块(1-4);

所述的转架(2)包括转杆(2-1)、转杆上槽(2-2)、转杆右槽(2-3)和铰接座(2-5),转杆(2-1)的左端设置有贯穿转杆(2-1)的转杆右槽(2-3),转杆(2-1)的左端的上端设置有转杆上槽(2-2),转杆上槽(2-2)与转杆右槽(2-3)相连通,转杆(2-1)的中端铰接在上铰接块(1-

2)和下铰接块(1-4)之间,转杆(2-1)穿过固定板槽(1-3),转杆(2-1)的右端的前后两端均固定连接有铰接座(2-5);

所述的弹力组件(3)包括压杆(3-1)、弹簧座板(3-2)、压缩弹簧II(3-3)、中间凸块(3-

4)、长螺钉座(3-6)、长螺钉(3-7)和限位圆片(3-8),压杆(3-1)的中端固定连接有中间凸块(3-4),压杆(3-1)的中端滑动连接在转杆右槽(2-3)上,中间凸块(3-4)滑动连接在转杆上槽(2-2)上,压杆(3-1)右侧的前后两端均固定连接有弹簧座板(3-2),两个压缩弹簧II(3-

3)的左端分别焊接在两个弹簧座板(3-2)上,两个压缩弹簧II(3-3)的右端均焊接在固定板(1-1)的左端,长螺钉(3-7)的左端间隙配合插在长螺钉座(3-6)上,长螺钉(3-7)的左端固定连接有两个限位圆片(3-8),两个限位圆片(3-8)分别与长螺钉座(3-6)的左右端面贴合,长螺钉座(3-6)通过螺钉固定连接在转杆(2-1)的左端,长螺钉(3-7)的右端通过螺纹与中间凸块(3-4)相配合;

所述的清理组件(4)包括转动板(4-1)、转轴(4-4)、海绵圈(4-5)、滚筒(4-6)和紧固螺母(4-7),转动板(4-1)设置有两个,两个转动板(4-1)分别铰接在转杆(2-1)右端的前后两个铰接座(2-5)上,两个转动板(4-1)的右端外侧均固定连接有转轴(4-4),两个转轴(4-4)上均转动连接有滚筒(4-6),两个转轴(4-4)的外端均通过螺纹连接有紧固螺母(4-7),两个紧固螺母(4-7)分别与两个滚筒(4-6)的外侧贴合,两个滚筒(4-6)上均粘接有海绵圈(4-

5)。

2.根据权利要求1所述的一种新能源汽车车窗清理装置,其特征在于:所述的手持架(1)还包括L形板(1-5)、手持柱(1-6)和插槽(1-7),L形板(1-5)的右端固定连接在固定板(1-1)的下端,L形板(1-5)的左端固定连接有手持柱(1-6),上铰接块(1-2)的右端设置有插槽(1-7)。

3.根据权利要求1所述的一种新能源汽车车窗清理装置,其特征在于:所述的转架(2)还包括压缩弹簧I(2-4)、半圆板(2-6)、中海绵片(2-7)、伸缩杆(2-8)、挡销(2-9)、弹簧放置槽(2-10)和伸缩杆滑槽(2-11),转杆(2-1)的右端设置有弹簧放置槽(2-10)和伸缩杆滑槽(2-11),弹簧放置槽(2-10)位于伸缩杆滑槽(2-11)的左端,弹簧放置槽(2-10)与伸缩杆滑槽(2-11)之间连通,伸缩杆(2-8)滑动连接在伸缩杆滑槽(2-11)上,伸缩杆(2-8)的左端位于弹簧放置槽(2-10)内,伸缩杆(2-8)的左端固定连接有挡销(2-9),挡销(2-9)位于弹簧放置槽(2-10)内,伸缩杆(2-8)的左端和弹簧放置槽(2-10)的左端面之间设置有压缩弹簧I(2-4),伸缩杆(2-8)的右端固定连接有半圆板(2-6),半圆板(2-6)的右端粘接有中海绵片(2-7)。

4.根据权利要求2所述的一种新能源汽车车窗清理装置,其特征在于:所述的弹力组件(3)还包括插块(3-5),中间凸块(3-4)的上端固定连接有插块(3-5),插块(3-5)位于插槽(1-7)的左端。

5.根据权利要求1所述的一种新能源汽车车窗清理装置,其特征在于:所述的清理组件(4)还包括拉伸弹簧(4-2)和拉伸弹簧座(4-3),两个转动板(4-1)的上端均固定连接有拉伸弹簧座(4-3),拉伸弹簧(4-2)的前后两端分别焊接在两个拉伸弹簧座(4-3)之间。

6.根据权利要求3所述的一种新能源汽车车窗清理装置,其特征在于:所述的挡销(2-

9)与弹簧放置槽(2-10)的右端面接触时,中海绵片(2-7)的右侧弧形面与两个海绵圈(4-5)的右侧弧形面处于同一个弧形面上。