欢迎来到知嘟嘟! 联系电话:13336804447 卖家免费入驻,海量在线求购! 卖家免费入驻,海量在线求购!
知嘟嘟
我要发布
联系电话:13336804447
知嘟嘟经纪人
收藏
专利号: 2016205196272
申请人: 南昌理工学院
专利类型:实用新型
专利状态:已下证
专利领域: 一般车辆
更新日期:2023-12-11
缴费截止日期: 暂无
价格&联系人
年费信息
委托购买

摘要:

权利要求书:

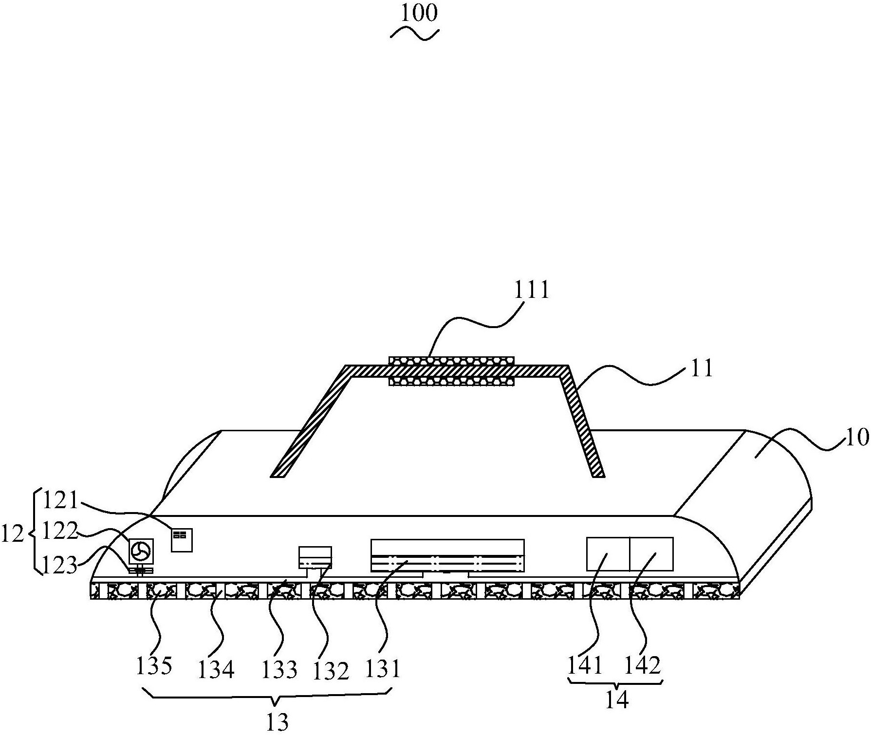
1.一种新能源汽车内部窗户的清洁装置,包括装置主体,其特征在于,所述装置主体上设有一加热系统、清洗系统以及电源系统,所述加热系统包括风扇、电热器以及微处理器,所述装置主体上设有一把手,所述清洗系统包括水箱、药剂箱、导管、喷孔以及毛刷,所述风扇以及电热器与所述微处理器相连,且所述电热器位于所述风扇的正下方,所述喷孔设于所述毛刷内部,且通过所述导管与所述水箱以及药剂箱相连。

2.根据权利要求1所述的一种新能源汽车内部窗户的清洁装置,其特征在于,所述电源系统包括蓄电池以及微型燃料电池。

3.根据权利要求1所述的一种新能源汽车内部窗户的清洁装置,其特征在于,所述把手上设有一橡胶套层,所述橡胶套层的厚度为1.5-3.0mm。

4.根据权利要求1所述的一种新能源汽车内部窗户的清洁装置,其特征在于,所述毛刷为防静电毛刷。

5.根据权利要求1所述的一种新能源汽车内部窗户的清洁装置,其特征在于,所述导管为不锈钢材质导管。

6.根据权利要求1所述的一种新能源汽车内部窗户的清洁装置,其特征在于,所述水箱与所述药剂箱均为陶瓷材料。