欢迎来到知嘟嘟! 联系电话:13336804447 卖家免费入驻,海量在线求购! 卖家免费入驻,海量在线求购!
知嘟嘟
我要发布
联系电话:13336804447
知嘟嘟经纪人
收藏
专利号: 2018104269570
申请人: 南京璀错网络科技有限公司
专利类型:发明专利
专利状态:授权未缴费
专利领域: 计算;推算;计数
更新日期:2025-01-06
缴费截止日期: 暂无
价格&联系人
年费信息
委托购买

摘要:

权利要求书:

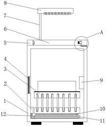
1.一种用于计算机硬件散热箱,包括机箱(1),其特征在于,所述机箱(1)的侧壁上设有通风口,所述通风口的内壁上可拆卸连接有防尘网(4),所述机箱(1)的内壁上固定连接有散热风扇(9),所述机箱(1)的内壁上固定连接有安装板(3),所述安装板(3)的下侧设有设有多个安装槽,每个所述安装槽内均设有热管,所述机箱(1)的内底部固定连接有低温板(11),所述机箱(1)的内壁上固定连接有冷却器(2),所述低温板(11)内设有冷却水管(12),所述冷却水管(12)与冷却器(2)相互连通,所述低温板(11)的上侧固定连接有温差发电片(10),所述温差发电片(10)的上侧固定连接导热板,所述导热板的上侧设有多个与热管对应的插槽,所述热管的冷凝段与插槽相互配合,所述机箱(1)的上端设有照明装置,所述照明装置通过固定装置可拆卸连接在机箱(1)的上端,所述机箱(1)的下端的外侧壁上固定连接有防滑垫。

2.根据权利要求1所述的用于计算机硬件散热箱,其特征在于,所述照明装置包括机箱(1)上侧的灯座(6),所述灯座(6)的上侧固定连接有支撑柱(7),所述支撑柱(7)的上端固定连接有LED灯(8),所述灯座(6)的侧壁上设有两个限位孔。

3.根据权利要求1所述的用于计算机硬件散热箱,其特征在于,所述固定装置包括固定连接在机箱(1)的上端的限位块(5),所述限位块(5)与其中一个限位孔相互配合,所述机箱(1)的上侧设有滑槽,所述滑槽内滑动连接有滑块(16),所述滑块(16)的上侧固定连接有固定块(15),所述固定块(15)的侧壁上固定连接有限位杆(14),所述限位杆(14)与另外一个限位孔相互配合。

4.根据权利要求3所述的用于计算机硬件散热箱,其特征在于,所述与限位杆(14)相配合的限位孔的内壁上固定连接有磁铁(13),所述限位杆(14)的材料为铸铁。

5.根据权利要求1所述的用于计算机硬件散热箱,其特征在于,所述热管与插槽之间涂覆有导热硅脂。

6.根据权利要求1所述的用于计算机硬件散热箱,其特征在于,所述温差发电片(10)与LED灯(8)通过电线连接。