欢迎来到知嘟嘟! 联系电话:13336804447 卖家免费入驻,海量在线求购! 卖家免费入驻,海量在线求购!
知嘟嘟
我要发布
联系电话:13336804447
知嘟嘟经纪人
收藏
专利号: 2024205094273
专利类型:其他
专利状态:未下证
专利领域: 暂无
更新日期:2024-10-26
缴费截止日期: 暂无
价格&联系人
年费信息
委托购买

摘要:

权利要求书:

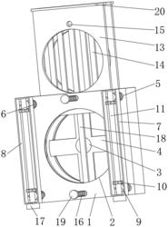
1.一种计算机硬件用散热结构,包括底座(1),其特征在于:所述底座(1)表面开设有散热槽(2),所述散热槽(2)内侧固定连接有电机(3),所述电机(3)前侧固定连接有扇叶(4),所述底座(1)表面开设有固定槽(5),所述固定槽(5)内侧螺纹连接有固定螺杆(6),所述固定螺杆(6)前侧活动连接有活动板(7),所述活动板(7)内侧开设有活动槽(8),所述活动槽(8)内侧活动连接有第一锥齿轮(9),所述第一锥齿轮(9)和固定螺杆(6)固定连接,所述第一锥齿轮(9)相互靠近的一侧啮合有第二锥齿轮(10),所述第二锥齿轮(10)内侧固定连接有同步杆(11),所述同步杆(11)和活动槽(8)活动连接,所述底座(1)表面开设有移动槽(12),所述移动槽(12)内侧活动连接有移动板(13),所述移动板(13)内侧固定连接有散热鳍片(14)。

2.根据权利要求1所述的一种计算机硬件用散热结构,其特征在于:所述移动板(13)表面和底座(1)表面均开设有连接槽(15),所述连接槽(15)内侧螺纹连接有连接螺杆(16)。

3.根据权利要求1所述的一种计算机硬件用散热结构,其特征在于:所述同步杆(11)下侧固定连接有转轮(17)。

4.根据权利要求1所述的一种计算机硬件用散热结构,其特征在于:所述散热槽(2)内侧固定连接有加固板(18),所述加固板(18)和电机(3)固定连接。

5.根据权利要求2所述的一种计算机硬件用散热结构,其特征在于:所述连接螺杆(16)前侧固定连接有转块(19)。

6.根据权利要求1所述的一种计算机硬件用散热结构,其特征在于:所述移动板(13)上侧固定连接有限制板(20)。

我要求购
我不想找了,帮我找吧
您有专利需要变现?
我要出售
智能匹配需求,快速出售