欢迎来到知嘟嘟! 联系电话:13336804447 卖家免费入驻,海量在线求购! 卖家免费入驻,海量在线求购!
知嘟嘟
我要发布
联系电话:13336804447
知嘟嘟经纪人
收藏
专利号: 2018104166343
申请人: 扬州永鼎电气科技有限公司
专利类型:发明专利
专利状态:已下证
专利领域: 基本电气元件
更新日期:2025-07-02
缴费截止日期: 暂无
价格&联系人
年费信息
委托购买

摘要:

权利要求书:

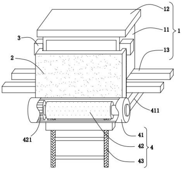
1.一种变阻抗变压器,其特征在于:包括外护机构(1)、密封机构(2)、驱动机构(3)、攀爬机构(4)以及防盗机构(5);所述外护机构(1)的外壁滑动连接有所述密封机构(2),所述密封机构(2)用以对变压器进行密封;所述密封机构(2)啮合连接所述驱动机构(3),所述驱动机构(3)对称设于所述外护机构(1)的两侧壁,所述驱动机构(3)用于驱动所述密封机构(2)上下运动;所述外护机构(1)的底部固定连接有所述攀爬机构(4),所述攀爬机构(4)设于所述外护机构(1)的外部,所述攀爬机构(4)用以方便工作人员攀爬;所述外护机构(1)的内部安装有所述防盗机构(5),所述防盗机构(5)用以提高变压器的防盗能力。

2.根据权利要求1所述的一种变阻抗变压器,其特征在于:所述外护机构(1)包括壳体(11)、顶板(12)以及安装架(13),所述壳体(11)为空腔长方体结构,所述壳体(11)的一个侧面为开口结构,所述壳体(11)的顶面设有所述顶板(12),所述顶板(12)的面积大于所述壳体(11)的表面积,所述壳体(11)的底部对称设有长度相同的两个所述安装架(13),所述安装架(13)与所述壳体(11)之间相互垂直分布。

3.根据权利要求2所述的一种变阻抗变压器,其特征在于:所述壳体(11)的内部设有防护隔室(112)和安装室(114),所述防护隔室(112)的外壁底部对称开有两个滑槽(111),所述防护隔室(112)的底面开有漏斗状的排水孔(113),所述防护隔室(112)的一侧设有所述安装室(114),所述防护隔室(112)、所述安装室(114)之间由所述防盗机构(5)隔开。

4.根据权利要求2所述的一种变阻抗变压器,其特征在于:所述驱动机构(3)包括盒体(31)、驱动电机(32)以及驱动齿轮(33),所述盒体(31)对称设于所述壳体(11)的两侧壁,每个所述盒体(31)的内部均设有所述驱动电机(32),所述驱动电机(32)转动连接所述驱动齿轮(33)。

5.根据权利要求4所述的一种变阻抗变压器,其特征在于:所述密封机构(2)包括封堵板(21)、滑块(22)以及齿板(23),所述齿板(23)与所述驱动齿轮(33)相互啮合连接,所述齿板(23)垂直设于所述封堵板(21)的内壁两侧,所述齿板(23)分别设于所述壳体(11)的两侧壁,所述封堵板(21)的面积与所述壳体(11)的侧面积相同,所述封堵板(21)的内壁对称设有凸字形的所述滑块(22),所述滑块(22)与所述滑槽(111)相互配合滑动连接。

6.根据权利要求3所述的一种变阻抗变压器,其特征在于:所述防盗机构(5)包括防盗门(51)、第一配合板(52)以及第二配合板(53),所述防盗门(51)与所述壳体(11)的内壁之间通过铰链连接,所述第一配合板(52)、所述第二配合板(53)均垂直焊接于所述安装室(114)的内壁,所述第一配合板(52)、所述第二配合板(53)分别与所述防盗门(51)的内壁两侧紧密贴合,所述第一配合板(52)与所述防盗门(51)扣合连接,所述防盗门(51)的表面设有防盗锁(511)。

7.根据权利要求1所述的一种变阻抗变压器,其特征在于:所述攀爬机构(4)包括储存管(41)、卷筒(42)以及绳梯(43),所述储存管(41)的侧壁对称垂直固定有支撑杆(411),所述支撑杆(411)与所述安装架(13)的底面垂直焊接,所述储存管(41)的内部转动连接有所述卷筒(42),所述卷筒(42)的外壁缠绕有所述绳梯(43),所述绳梯(43)贯穿于所述储存管(41)的底面,所述卷筒(42)转动连接转动电机(421)。

8.根据权利要求7所述的一种变阻抗变压器,其特征在于:所述支撑杆(411)设于所述封堵板(21)的两侧,所述储存管(41)设于所述封堵板(21)的外侧,所述储存管(41)的高度小于所述壳体(11)的高度。