欢迎来到知嘟嘟! 联系电话:13095918853 卖家免费入驻,海量在线求购! 卖家免费入驻,海量在线求购!
知嘟嘟
我要发布
联系电话:13095918853
知嘟嘟经纪人
收藏
专利号: 2018103810422
申请人: 温州正城建设有限公司
专利类型:发明专利
专利状态:已下证
专利领域: 建筑物
更新日期:2025-04-19
缴费截止日期: 暂无
价格&联系人
年费信息
委托购买

摘要:

权利要求书:

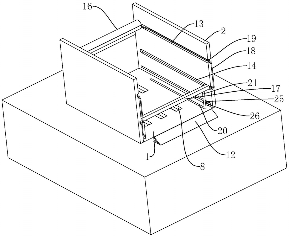
1.一种市政园林环保停车场,其特征是:包括停车坪(1),所述停车坪(1)的下方设置容置腔(3),所述容置腔(3)中设置有植被层(4),所述植被层(4)连接有驱动植被层(4)上升或下降的升降组件,所述停车坪(1)上设置有供植被层(4)上的植被穿过的生长孔(8),所述升降组件包括有驱动植被层(4)靠近停车坪(1)的弹簧(10)以及与植被层(4)连接并且伸出停车坪(1)的驱动杆(11),停车坪(1)的入口处设置有用于与车辆接触并且将车辆运动的机械能传递给升降组件的动力传递件,所述容置腔(3)与植被层(4)上还设置有将植被层(4)锁紧在停车坪(1)下方的锁紧机构。

2.根据权利要求1所述的一种市政园林环保停车场,其特征是:所述植被层(4)包括存放生长介质的镂空容置框(5),所述容置框(5)中铺设有土工布(6),所述容置框(5)中存放有生长介质,所述生长介质中种植有植被,所述容置框(5)与容置腔(3)之间存在间隙,位于植被层(4)下方的容置腔(3)底部与排水沟(7)连通。

3.根据权利要求2所述的一种市政园林环保停车场,其特征是:所述容置框(5)四侧壁外面表面转动连接有与容置腔(3)内壁接触的滚轮(9),所述容置框(5)底部四个边角位置设置有连接容置框(5)与容置腔(3)底部的弹簧(10),所述容置框(5)的底端中部连接有传递杆的一端,所述传递杆另一端连接有一根竖直并穿过停车坪(1)进入停车坪(1)上方的驱动杆(11),相比于驱动杆(11)更远离停车坪(1)的位置转动连接有一块与驱动杆(11)接触的传递板(12),所述传递板(12)与地面呈一定角度。

4.根据权利要求2所述的一种市政园林环保停车场,其特征是:所述停车坪(1)的两侧设置有隔断(2),所述隔断(2)远离停车坪(1)入口的一端设置有遮阳组件,遮阳组件包括收卷在隔断(2)远离停车坪(1)入口一端上的遮阳布(16)以及设置在两侧隔断(2)之间并在隔断(2)靠近停车坪(1)一端和远离停车坪(1)一端之间运动的接触杆(17),所述接触杆(17)通过连接绳(18)与遮阳布(16)连接。

5.根据权利要求4所述的一种市政园林环保停车场,其特征是:两侧隔断(2)相对的两面上分别设置有两道平行的驱动槽,其中高处的驱动槽为上驱动槽(13),低处的驱动槽为下驱动槽(14),转动杆(15)的两端分别连接于两侧的上驱动槽(13)远离停车坪(1)的一端,所述转动杆(15)两端分别固定有用于收卷遮阳布(16)的平面涡卷弹簧的一端,平面涡卷弹簧的另一端与遮阳布(16)的一端固定连接,接触杆(17)的两端分别滑动连接于两侧的下驱动槽(14)中,连接绳(18)一端与接触杆(17)连接,连接绳(18)的另一端从下驱动槽(14)进入上驱动槽(13)与遮阳布(16)连接,下驱动槽(14)与上驱动槽(13)靠近停车坪(1)入口的一端设置有限位片(19)。

6.根据权利要求5所述的一种市政园林环保停车场,其特征是:所述接触杆(17)外设置有海绵保护层。

7.根据权利要求6所述的一种市政园林环保停车场,其特征是:所述锁紧机构包括停车坪(1)靠近两侧隔断(2)的位置开设的连接孔(20),所述锁紧机构还包括与所述接触杆(17)连接并伸入连接孔(20)的控制杆(21),所述容置框(5)靠近两侧隔断(2)的两侧上设置有锁紧槽(22),所述容置腔(3)的侧壁上与锁紧槽(22)对应的位置转动连接有一根锁紧杆(23),所述控制杆(21)跟随接触杆(17)运动时与锁紧杆(23)接触并将锁紧杆(23)的一端推入或推出锁紧槽(22)。

8.根据权利要求7所述的一种市政园林环保停车场,其特征是:所述控制杆(21)的下端为橡胶材质,所述控制杆(21)靠近停车坪(1)入口端一侧的容置腔(3)侧壁上设置有楔形块(24),所述锁紧杆(23)与容置腔(3)内壁垂直时锁紧杆(23)与锁紧槽(22)内壁贴合。

9.根据权利要求7所述的一种市政园林环保停车场,其特征是:所述下驱动槽(14)下方的隔断(2)表面设置有稳定槽(25),稳定片(26)的一端进入至稳定槽(25)中,稳定片(26)的另一端与控制杆(21)接触。