欢迎来到知嘟嘟! 联系电话:13336804447 卖家免费入驻,海量在线求购! 卖家免费入驻,海量在线求购!
知嘟嘟
我要发布
联系电话:13336804447
知嘟嘟经纪人
收藏
专利号: 2018111641290
申请人: 洪杏秀
专利类型:发明专利
专利状态:已下证
专利领域: 农业;林业;畜牧业;狩猎;诱捕;捕鱼
更新日期:2024-02-23
缴费截止日期: 暂无
价格&联系人
年费信息
委托购买

摘要:

权利要求书:

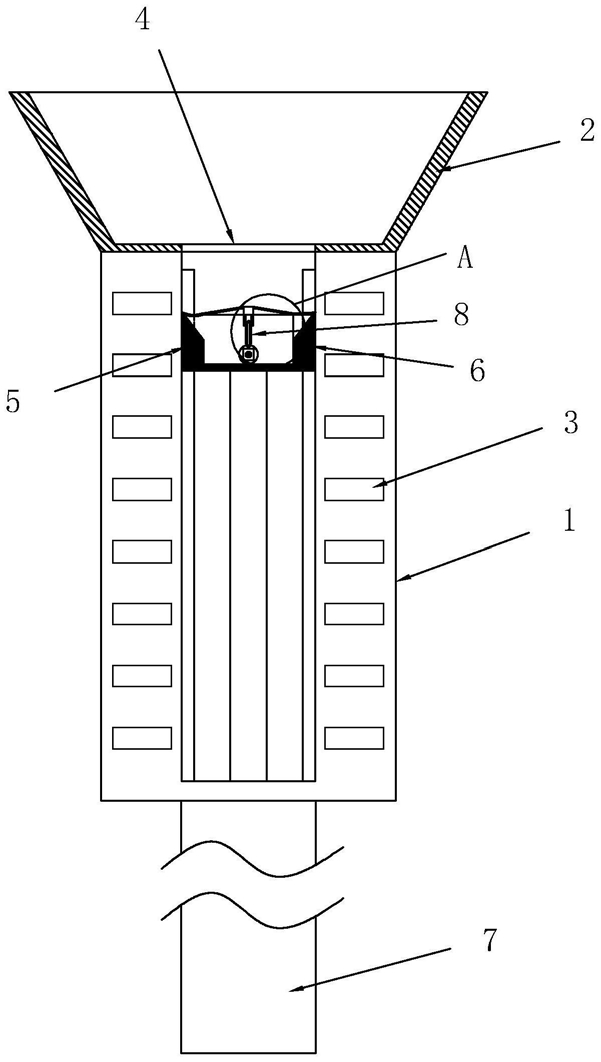
1.一种市政园林环保浇水系统,包括安装于地面的支架(1),其特征是:所述支架(1)上设有储水槽(2)、用于安装植物花盆的花盆安装位(3),所述储水槽(2)位于支架(1)的上端,且储水槽(2)遮挡于花盆安装位(3)的正上方;

所述储水槽(2)的槽底贯穿设有出水孔(4);

还包括有洒水装置(5),所述洒水装置(5)包括洒水框(6)、驱动部(7)、洒水部(8),所述洒水框(6)竖直滑移连接于支架(1)且用于接住出水孔(4)中流出的水,所述驱动部(7)用于驱动洒水框(6)进行竖直上下往复移动,所述洒水部(8)位于洒水框(6)内,所述洒水部(8)用于将洒水框(6)内的水洒入花盆安装位(3)上;

所述花盆安装位(3)设有若干个,若干花盆安装位(3)分为两列,两列花盆安装位(3)分别位于洒水框(6)上下滑移位置的两侧;

所述洒水部(8)包括洒水电机(9)、洒水盘(10)、联动杆(11),洒水电机(9)安装于洒水框(6)的外侧壁,洒水盘(10)位于洒水框(6)框内且连接于洒水电机(9)的电机轴上,所述洒水框(6)的内框壁上竖直滑移连接有滑移块(12),所述联动杆(11)一端铰接于滑移块(12),且另一端偏心铰接于洒水盘(10)的盘面上,所述滑移块(12)上设有斜板(13),洒水框(6)内的水能通过斜板(13)流入到花盆安装位(3)处;

所述斜板(13)中部连接于滑移块(12)上,斜板(13)的外侧板边向下倾斜。

2.根据权利要求1所述的一种市政园林环保浇水系统,其特征是:所述斜板(13)上设有单向出水阀(14),所述单向出水阀(14)能允许洒水框(6)内的水进入到斜板(13)的上板面,所述单向出水阀(14)能限制斜板(13)上板面的水进入到洒水框(6)内。

3.根据权利要求2所述的一种市政园林环保浇水系统,其特征是:所述斜板(13)的外侧板边上设有橡胶包边(15),橡胶包边(15)能与洒水框(6)的内框壁相抵。

4.根据权利要求3所述的一种市政园林环保浇水系统,其特征是:所述驱动部(7)包括气缸以及气源,所述气缸的竖直伸缩端安装于洒水框(6),所述气源的气体供给气缸,以驱使气缸的伸缩端产生往复伸缩动作。