欢迎来到知嘟嘟! 联系电话:13336804447 卖家免费入驻,海量在线求购! 卖家免费入驻,海量在线求购!
知嘟嘟
我要发布
联系电话:13336804447
知嘟嘟经纪人
收藏
专利号: 2018103592574
申请人: 温州大学
专利类型:发明专利
专利状态:已下证
专利领域: 测量;测试
更新日期:2023-08-24
缴费截止日期: 暂无
价格&联系人
年费信息
委托购买

摘要:

权利要求书:

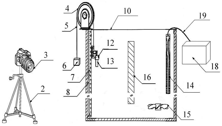
1.一种表面微结构的流体减阻效应测试装置,其特征在于,包括环境模拟单元、运动控制单元和拍摄记录单元;

所述环境模拟单元包括管筒(10)、叶轮机(15)、隔板(16)、加热管(14)、温控器(18)和外置控制器;

所述管筒(10)为一端开口、一端封闭的内空容器,沿重力方向竖直放置,内部注满测试液体;管筒(10)整体由透明材料制成或者其壁面沿轴向设有透明材料制成的观察窗;

所述隔板(16)为一平板,竖直设置于管筒(10)内部,隔板(16)的两个侧边与管筒(10)的内壁为密封性固定连接,隔板(16)将管筒(10)的横截面平均分为两部分;隔板(16)的上、下边与管筒(10)的上开口端、下封闭端均留有间隔,使得当管筒(10)注满测试液体后,隔板(16)浸没于测试液体中,测试液体构成一个循环系统;

所述加热管(14)紧贴管筒(10)的内壁沿轴向竖直放置于管筒(10)内,且淹没于测试液体内,加热管(14)自身带有测温传感器,与置于管筒(10)外部的温控器(18)通过导线(19)电连接;

所述叶轮机(15)放置于管筒(10)的底部,通过电缆与之相连的外置控制器对其电机转速进行精确调节,以控制流体流速制造不同的流体状态;

所述运动控制单元包括导轨滑块机构(8)、试样夹具(12)、滑轮(4)、滑轮绳(5)和驱动物体(6);

所述导轨滑块机构(8)设置于管筒(10)内部空腔中能够透明观察的一边,且与加热管(14)分别位于隔板(16)的两侧;所述导轨滑块机构(8)包括一导轨和一滑块,所述导轨紧贴管筒(10)的内壁沿轴向竖直布置并与管筒(10)的壁面固定,导轨上下两端均设置有限位块;所述滑块能够沿重力方向竖直上下运动,且要求滑块的运动过程可被拍摄记录单元透过管筒(10)壁面拍摄记录;

所述试样夹具(12)至少具有两个旋转自由度,其中一个旋转中心轴沿管筒(10)轴向,另一个旋转中心轴沿管筒(10)的任意一个径向;所述试样夹具(12)用于安装固定试样(13),且能够通过两个旋转中心轴的配合调节试样(13)的空间姿态;所述试样夹具(12)与导轨滑块机构(8)的滑块固定;

所述滑轮(4)固定安装在管筒(10)的顶端,滑轮绳(5)绕过滑轮(4),滑轮绳(5)的一端与试样夹具(12)相连,并使得滑轮绳(5)被拉紧后其方向为沿着重力方向的竖直方向;滑轮绳(5)的另一端与驱动物体(6)相连,驱动物体(6)位于管筒(10)的外部,并使得滑轮绳(5)被拉紧后其方向为沿着重力方向的竖直方向;

所述驱动物体(6)为一带有力传感器的重物块,所述力传感器用于实时测量反馈当前驱动物体(6)对滑轮绳(5)的拉力大小;驱动物体(6)能够提供设定驱动能耗、设定牵引驱动力和设定牵引速度曲线三种工作方式;

所述拍摄记录单元为高速摄像机(3),安装放置于管筒(10)外,使其调整焦距后能够清晰拍摄试样被滑块带动沿重力方向从底部向上的竖直运动过程。

2.根据权利要求1所述的表面微结构的流体减阻效应测试装置,其特征在于,在管筒(10)的外壁上,竖直黏贴有透明标尺(7),并与导轨滑块机构(8)中的导轨位置对应;所述透明标尺(7)的尺度范围至少包含所述导轨滑块机构(8)中的导轨长度。