欢迎来到知嘟嘟! 联系电话:13336804447 卖家免费入驻,海量在线求购! 卖家免费入驻,海量在线求购!
知嘟嘟
我要发布
联系电话:13336804447
知嘟嘟经纪人
收藏
专利号: 2018101673651
申请人: 裴文平
专利类型:发明专利
专利状态:已下证
专利领域: 医学或兽医学;卫生学
更新日期:2025-04-19
缴费截止日期: 暂无
价格&联系人
年费信息
委托购买

摘要:

权利要求书:

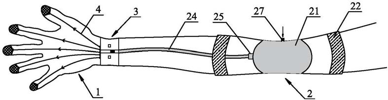
1.一种脑中风手部偏瘫康复训练装置,该康复训练装置包括:手套、液动系统、护腕以及拉力绳;其中,

所述手套包括手套本体、手掌包裹层以及位于所述手套本体与所述手掌包裹层之间的膨胀空间;所述手套指尖外部还缝合有加强帽;

所述液动系统包括弹性液囊以及将所述弹性液囊固定在手臂内侧弯曲处的绷带、位于所述膨胀空间内的且与所述膨胀空间形状相匹配的膨胀包、以及连接所述弹性液囊与所述膨胀包的软管,所述弹性液囊体积应大于等于两倍的所述膨胀包体积;

所述护腕包括护腕本体、设置在所述护腕本体内侧且与手腕内侧相贴合的脉搏传感器和温度传感器、设置在所述护腕本体侧方且靠近手掌的拉力传感器、以及设置在所述护腕本体外侧上的控制单元;

所述拉力绳两端分别连接所述加强帽和所述拉力传感器;

所述膨胀包的手指关节处还设置有隔离带,从而将所述膨胀包手指段分割成多个独立的膨胀小包,进一步还在所述隔离带的中心处设置有双向阀门;所述双向阀门包括圆柱形的连接杆、位于所述连接杆中部且用于隔离的密封单元、紧密套接在所述连接杆上的橡皮管以及开设在所述连接杆内的两路液体通道,所述液体通道的入口位于所述连接杆的端部、其出液口则位于所述连接杆的侧面且被所述橡皮管包围住;所述手掌包裹层 为弹性材料制成且其外表面为魔术贴的毛面,所述手掌包裹层上还设置有抓握气囊,形状为圆形或圆柱形,通过其底部的魔术贴勾面紧密地粘合在所述手掌包裹层上;

在所述手套本体上还设置有多个用于外接电磁治疗仪的电极片。

2.根据权利要求1所述的康复训练装置,其特征在于:所述加强帽采用耐磨抗拉布料制成。

3.根据权利要求1所述的康复训练装置,其特征在于:所述弹性液囊和所述膨胀包上分别设有第一软管接口和第二软管接口并通过软管连通在一起。

4.根据权利要求3所述的康复训练装置,其特征在于:所述弹性液囊还设置有进液接口。

5.根据权利要求4所述的康复训练装置,其特征在于:所述护腕本体上还设置有用于穿过所述软管的通孔。

6.根据权利要求5所述的康复训练装置,其特征在于:所述通孔上还设置有流量调节器。

7.根据权利要求6所述的康复训练装置,其特征在于:所述弹性液囊内的液体为水或者比水的比重更低且对橡胶制品无腐蚀作用的有机溶剂。

8.根据权利要求1所述的康复训练装置,其特征在于:所述控制单元包括CPU模块、通信模块、语音模块、存储模块、电源模块及显示模块;

所述康复训练装置 在首次使用或需要重新设置参数时需要进行参数标定,具体方法如下:首先患者伸直手臂,调整所述拉力绳的长短使得手掌处于收缩状态,并记录下当前状态下每根所述拉力绳相连接的所述拉力传感器监测到的拉力数据Fn,n=1、2、3、4、5,且分别对应不同手指上的所述拉力绳拉力,然后患者弯曲手臂压缩所述弹性液囊进而带动手掌展开,当手掌完全展开且手指伸直时记录下当前状态下的每根所述拉力绳对应的拉力Fn’,n=1、2、3、4、5,训练过程中所述拉力绳拉力值应介于Fn和Fn’之间,经过标定的参数值保存在所述存储模块中。